TOP
|
特許
|
意匠
|
商標
特許ウォッチ
Twitter
他の特許を見る
10個以上の画像は省略されています。
公開番号
2025149304
公報種別
公開特許公報(A)
公開日
2025-10-08
出願番号
2024049854
出願日
2024-03-26
発明の名称
糸巻回装置
出願人
ブラザー工業株式会社
代理人
個人
,
個人
主分類
D05B
59/00 20060101AFI20251001BHJP(縫製;刺しゅう;タフティング)
要約
【課題】従来よりも安定して糸を切断することが可能な糸巻回装置を提供すること。
【解決手段】糸巻回装置は、ボビン回転部、糸切部、ノズル、ノズル回動部、空気供給部、及び制御装置を備える。ノズル回動部は、ノズルの先端がボビン回転部と対向する対向位置と、対向位置にある場合よりも、ノズルの先端とボビン回転部との距離が離れた離隔位置とにノズルを第二軸周りに回動させる。制御装置は、ノズルに空気を供給して、対向位置に配置された中空部に挿通された糸をボビンケースの開口部に通す(S14)。制御装置は、ボビン回転部を駆動して、糸をボビンに巻き付ける(S15)。制御装置は、糸をボビンに巻き付けた後、ノズル回動部を駆動して、ノズルを第二軸周りの第一回転方向に回動させる(S24)。制御装置は、中空部の外周に糸を巻きつけた状態で、糸切部を駆動して糸を切断する(S28)。
【選択図】図8
特許請求の範囲
【請求項1】
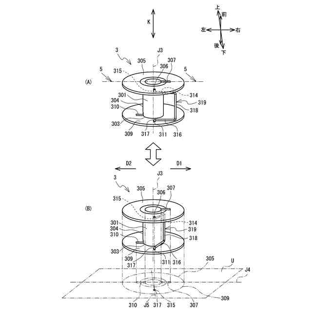
ボビンケース内のボビンを第一軸周りの巻回方向に回転させて、糸供給源から供給された糸を前記ボビンに巻き付けるボビン回転部と
前記ボビンと前記糸供給源との間で前記糸を切断する糸切部と
を備えた糸巻回装置において、
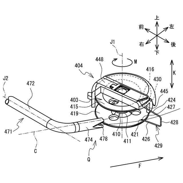
外側面に前記糸を通す開口が形成され、前記開口から通した前記糸を挿通する中空部を有し、第二軸周りに回動可能に保持されたノズルと、
前記ノズルの先端が前記ボビン回転部と対向する対向位置と、前記対向位置にある場合よりも、前記ノズルの前記先端と前記ボビン回転部との距離が離れた離隔位置とに前記ノズルを前記第二軸周りに回動させるノズル回動部と、
前記ノズルに空気を供給する空気供給部と、
前記ボビン回転部と、前記ノズル回動部と、前記空気供給部とを制御する制御装置と
を備え、
前記制御装置は、
前記ノズルに空気を供給して、前記対向位置に配置された前記中空部に挿通された前記糸を前記ボビンケースの開口部に通し、
前記ボビン回転部を駆動して、前記糸を前記ボビンに巻き付け、
前記糸を前記ボビンに巻き付けた後、前記ノズル回動部を駆動して、前記ノズルを前記第二軸周りの第一回転方向に回動させて、前記中空部の外周に前記糸を巻きつけた状態で、前記糸切部を駆動して前記糸を切断する
ことを特徴とする糸巻回装置。
続きを表示(約 760 文字)
【請求項2】
前記制御装置は、
前記糸を切断後、次のボビンに前記糸を巻きつける場合に、前記ノズル回動部を駆動し、前記ノズルを前記第二軸周りの前記第一回転方向とは反対の第二回転方向に所定量回転させ、前記中空部の前記外周に巻き付けられた前記糸を弛ませた後、前記ノズルに空気を供給して、前記糸を前記ボビンケースの前記開口部に通すことを特徴とする請求項1に記載の糸巻回装置。
【請求項3】
前記所定量は、前記中空部に巻き付かせる前記糸の長さが、前記対向位置にある前記ノズルの前記先端から前記ボビン回転部の軸の外周までの距離に前記軸の前記外周一周分の長さを加えた長さより長い値となる量であることを特徴とする請求項2に記載の糸巻回装置。
【請求項4】
前記中空部の外側面には、滑り止めが付与されていることを特徴とする請求項1に記載の糸巻回装置。
【請求項5】
前記糸切部は、前記ノズルの前記先端に形成された前記糸を切断可能な刃部であり、
前記制御装置は、
前記糸の切断に際して、前記ノズル回動部を駆動し、前記対向位置から前記離隔位置に前記ノズルを回動させ、
前記ノズルを前記離隔位置になった後、前記糸を前記刃部で切断することを特徴とする請求項1~4の何れかに記載の糸巻回装置。
【請求項6】
前記制御装置は、
前記ノズル回動部は、前記離隔位置を越える超過位置まで前記ノズルを前記第二軸周りの前記第一回転方向に回動した後、前記第一回転方向とは反対方向に回転して、前記離隔位置に前記ノズルを位置させ、
前記ノズルを前記離隔位置になった後、前記糸を前記刃部で切断することを特徴とする請求項5に記載の糸巻回装置。
発明の詳細な説明
【技術分野】
【0001】
本発明は、糸巻回装置に関する。
続きを表示(約 2,100 文字)
【背景技術】
【0002】
特許文献1の下糸巻回装置は、下糸供給源からの下糸端部を、糸挿入手段によりボビンの円筒部に絡み付くのに必要な長さ導出して、ボビンケース開口部からボビンケース内に挿入する。下糸巻回装置は、糸挿入手段によりボビンケース内に挿入された下糸端部を、下糸絡み付け手段とボビン駆動手段によるボビン回転との共働によってボビンの円筒部に絡み付かせる。下糸巻回装置は、ボビン駆動手段により下糸端部が絡み付いたボビンを回転することによってボビンケース内に収納されたボビンに下糸を巻回する。
【先行技術文献】
【特許文献】
【0003】
特開平8-229262号公報
【発明の概要】
【発明が解決しようとする課題】
【0004】
従来の糸巻回装置では、下糸をボビンの円筒部に巻回後、ボビンの円筒部に下糸を絡ませるのに必要な長さ、ノズルの先端から導出された状態で糸が切断される。このとき、糸が切断されるときに、糸供給源から新たに糸が繰り出されるので、安定して糸が切断されない。
【0005】
本発明の目的は、従来よりも安定して糸を切断することが可能な糸巻回装置を提供することである。
【課題を解決するための手段】
【0006】
本発明の請求項1に係る糸巻回装置は、ボビンケース内のボビンを第一軸周りの巻回方向に回転させて、糸供給源から供給された糸を前記ボビンに巻き付けるボビン回転部と前記ボビンと前記糸供給源との間で前記糸を切断する糸切部とを備えた糸巻回装置において、外側面に前記糸を通す開口が形成され、前記開口から通した前記糸を挿通する中空部を有し、第二軸周りに回動可能に保持されたノズルと、前記ノズルの先端が前記ボビン回転部と対向する対向位置と、前記対向位置にある場合よりも、前記ノズルの前記先端と前記ボビン回転部との距離が離れた離隔位置とに前記ノズルを前記第二軸周りに回動させるノズル回動部と、前記ノズルに空気を供給する空気供給部と、前記ボビン回転部と、前記ノズル回動部と、前記空気供給部とを制御する制御装置とを備え、前記制御装置は、前記ノズルに空気を供給して、前記対向位置に配置された前記中空部に挿通された前記糸を前記ボビンケースの開口部に通し、前記ボビン回転部を駆動して、前記糸を前記ボビンに巻き付け、前記糸を前記ボビンに巻き付けた後、前記ノズル回動部を駆動して、前記ノズルを前記第二軸周りの第一回転方向に回動させて、前記中空部の外周に前記糸を巻きつけた状態で、前記糸切部を駆動して前記糸を切断する。糸巻回装置の制御装置は、糸を切断する時に、糸供給源から新たに糸が供給され、糸が撓んだ不安定な状態で切断されることを抑制することに貢献する。
【0007】
本発明の請求項2に係る糸巻回装置の前記制御装置は、前記糸を切断後、次のボビンに前記糸を巻きつける場合に、前記ノズル回動部を駆動し、前記ノズルを前記第二軸周りの前記第一回転方向とは反対の第二回転方向に所定量回転させ、前記中空部の前記外周に巻き付けられた前記糸を弛ませた後、前記ノズルに空気を供給して、前記糸を前記ボビンケースの前記開口部に通す。糸巻回装置の制御装置は、糸を切断後、次のボビンに糸を巻きつける場合に、中空部に巻き付けられた糸により、ノズルから糸が供給されなくなることを抑制し、弛ませた分の糸をノズルから噴き出すことに貢献する。糸巻回装置の制御装置は、中空部の外周に糸を巻き付ける量により、ノズルからボビンケースの開口部に糸を通すときの糸の長さを調整できる。
【0008】
本発明の請求項3に係る糸巻回装置の前記所定量は、前記中空部に巻き付かせる前記糸の長さが、前記対向位置にある前記ノズルの前記先端から前記ボビン回転部の軸の外周までの距離に前記軸の前記外周一周分の長さを加えた長さより長い値となる量である。糸巻回装置の制御装置は、ノズルからボビンケースの開口部に糸を通すときの糸の長さを、対向位置にあるノズルの先端からボビン回転部の軸の外周までの距離と、軸の外周の長さとに応じて、ボビンの糸の端部が抜けないだけの適切な長さに設定することに貢献する。
【0009】
本発明の請求項4に係る糸巻回装置の前記中空部の外側面には、滑り止めが付与されている。糸巻回装置の中空部は、外側面に滑り止めが付与されていない場合に比べ、中空部に巻き付いた糸が滑りにくくし、糸を切断する時に、糸供給源から新たに糸が供給され、糸が撓んだ不安定な状態で切断されることを抑制することに貢献する。
【0010】
本発明の請求項5に係る糸巻回装置の前記糸切部は、前記ノズルの前記先端に形成された前記糸を切断可能な刃部であり、前記制御装置は、前記糸の切断に際して、前記ノズル回動部を駆動し、前記対向位置から前記離隔位置に前記ノズルを回動させ、前記ノズルを前記離隔位置になった後、前記糸を前記刃部で切断する。糸巻回装置の刃部は、ノズルとは別に糸切部が設けられる場合に比べ、糸巻回装置の構成を簡単にすることに貢献する。
(【0011】以降は省略されています)
この特許をJ-PlatPat(特許庁公式サイト)で参照する
関連特許
ブラザー工業株式会社
ホルダ
23日前
ブラザー工業株式会社
回収装置
23日前
ブラザー工業株式会社
印刷媒体
23日前
ブラザー工業株式会社
印刷媒体
23日前
ブラザー工業株式会社
印刷媒体
23日前
ブラザー工業株式会社
印刷装置
4日前
ブラザー工業株式会社
スキャナ
19日前
ブラザー工業株式会社
スキャナ
19日前
ブラザー工業株式会社
印刷装置
16日前
ブラザー工業株式会社
画像形成装置
19日前
ブラザー工業株式会社
静電塗工装置
23日前
ブラザー工業株式会社
画像形成装置
3日前
ブラザー工業株式会社
画像形成装置
19日前
ブラザー工業株式会社
画像形成装置
19日前
ブラザー工業株式会社
画像形成装置
3日前
ブラザー工業株式会社
画像形成装置
3日前
ブラザー工業株式会社
画像形成装置
3日前
ブラザー工業株式会社
サポートプログラム
3日前
ブラザー工業株式会社
サポートプログラム
3日前
ブラザー工業株式会社
プリンタおよびプログラム
5日前
ブラザー工業株式会社
プリンタおよびプログラム
5日前
ブラザー工業株式会社
ベルトユニットのリサイクル方法
23日前
ブラザー工業株式会社
ベルトユニットのリサイクル方法
23日前
ブラザー工業株式会社
インクジェット記録方法及び印刷物
18日前
ブラザー工業株式会社
画像形成方法及びそれに用いられる液体
19日前
ブラザー工業株式会社
サーバ、プログラム、及び印刷管理方法
23日前
ブラザー工業株式会社
工作機械の数値制御装置及び数値制御方法
23日前
ブラザー工業株式会社
画像形成装置、画像形成システム、消耗品
19日前
ブラザー工業株式会社
工作機械の数値制御装置及び数値制御方法
23日前
ブラザー工業株式会社
液体吐出装置、その制御方法及びプログラム
23日前
ブラザー工業株式会社
カラオケ用プログラム、及び、カラオケ装置
23日前
ブラザー工業株式会社
液体吐出装置、その制御方法及びプログラム
23日前
ブラザー工業株式会社
加工データ出力システム及び表示プログラム
23日前
ブラザー工業株式会社
接着液、画像形成システム、及び画像形成方法
23日前
ブラザー工業株式会社
制御装置、制御方法、及びコンピュータプログラム
23日前
ブラザー工業株式会社
画像形成装置、画像形成プログラム、及び画像形成方法
23日前
続きを見る
他の特許を見る