TOP
|
特許
|
意匠
|
商標
特許ウォッチ
Twitter
他の特許を見る
10個以上の画像は省略されています。
公開番号
2025148664
公報種別
公開特許公報(A)
公開日
2025-10-08
出願番号
2024048900
出願日
2024-03-26
発明の名称
移動検出装置及び縫製システム
出願人
ブラザー工業株式会社
代理人
個人
,
個人
主分類
D05B
19/12 20060101AFI20251001BHJP(縫製;刺しゅう;タフティング)
要約
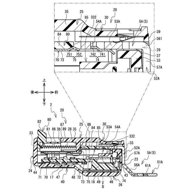
【課題】筐体に対して押え足を容易に着脱することに貢献する移動検出装置及び縫製システムを提供する。
【解決手段】移動検出装置2は、センサ18、筐体20、及び挿入開口29を備える。センサ18は、被縫製物の移動量を検出するために、被縫製物に向けて照射方向Dに光を照射し、被縫製物から反射された光を検出する。筐体20は、センサ18を収容する。挿入開口29は、筐体20の前壁23に形成される。挿入開口29は押え足5が挿入される。移動検出装置2は、挿入開口29から筐体20に挿入された押え足5をロックする。
【選択図】図10
特許請求の範囲
【請求項1】
ミシンの押え棒に装着され、被縫製物の移動量を検出する移動検出装置であって、
前記移動量を検出するために、前記被縫製物に向けて光を照射し、前記被縫製物から反射された前記光を検出するセンサと、
前記センサを収容する筐体と、
前記センサが前記光を照射する方向を照射方向と定義し、前記照射方向と直交する方向を脱離方向と定義した場合に、前記筐体において、前記センサから前記脱離方向にある壁面に形成され、押え足を挿入するための開口である挿入開口と、を備え、
前記挿入開口から前記筐体に挿入された前記押え足をロックする
ことを特徴とする移動検出装置。
続きを表示(約 2,300 文字)
【請求項2】
前記筐体に収容されるロック板、をさらに備え、
前記ロック板は、
凸状又は凹状である嵌合部であって、前記押え足が前記筐体に挿入された状態において、前記押え足に設けられる凹状又は凸状である被嵌合部に嵌合する前記嵌合部、を有する
ことを特徴とする請求項1に記載の移動検出装置。
【請求項3】
前記ロック板は、前記照射方向に直交する照射面方向に広がることを特徴とする請求項2に記載の移動検出装置。
【請求項4】
前記脱離方向と反対の方向を装着方向と定義し、
前記照射方向と反対の方向を反射方向と定義し、
前記脱離方向と前記装着方向とに沿った双方向をスライド方向と定義し、
前記筐体に対して前記スライド方向にスライド可能に支持されるスライダと、
前記筐体において、前記センサから前記反射方向にある壁面に形成され、前記スライド方向に延びるスライダ開口と、をさらに備え、
前記スライダは、
前記筐体に収容され、前記照射面方向に広がるスライダ板と、
前記スライダ板に設けられ、前記スライダ開口から前記反射方向に露出するレバーと、を有し、
前記ロック板は、板バネであり、
前記ロック板は、前記スライド方向に傾斜し、前記ロック板から前記スライダ板に向かう第一接近方向に突出する突出部であって、前記スライド方向にスライドする前記スライダの移動経路上に配置される前記突出部を有し、
前記スライダが前記脱離方向にスライドされたとき、前記スライダ板が前記突出部に接触し、前記ロック板が前記第一接近方向と反対の離隔方向に弾性変形することで、前記嵌合部と前記被嵌合部との嵌合が解除される
ことを特徴とする請求項3に記載の移動検出装置。
【請求項5】
前記突出部は、前記スライダの前記移動経路上において、前記押え足がロックされた状態で前記押え足の前記装着方向に配置され、
前記押え足がロックされた状態で、前記スライダが前記脱離方向にスライドされたとき、前記スライダ板は前記突出部、前記押え足の順に接触して、前記嵌合部と前記被嵌合部との嵌合が解除され、前記押え足を前記脱離方向に押し出す
ことを特徴とする請求項4に記載の移動検出装置。
【請求項6】
前記照射方向と反対の方向を反射方向と定義し、
前記筐体において、前記挿入開口の前記反射方向の端部に設けられ、前記脱離方向に突出する庇部を備えることを特徴とする請求項1に記載の移動検出装置。
【請求項7】
前記脱離方向と反対の方向を装着方向と定義し、
前記脱離方向と前記装着方向とに沿った双方向をスライド方向と定義し、
前記ロック板は、板バネであり、
前記ロック板は、前記スライド方向に傾斜する傾斜部、を有し、
前記傾斜部は、前記挿入開口から前記装着方向に挿入される前記押え足の挿入経路上に配置され、
前記押え足が前記挿入開口から前記装着方向に挿入された場合に、前記押え足が前記傾斜部に接触し、前記ロック板が前記傾斜部に沿って弾性変形した後、前記嵌合部が前記被嵌合部に嵌合される
ことを特徴とする請求項3に記載の移動検出装置。
【請求項8】
前記嵌合部は、前記押え足が前記筐体に挿入された状態で前記ロック板から前記押え足に向かう第二接近方向に突出し、凹状である前記被嵌合部に嵌合可能な凸状であり、
前記嵌合部は前記傾斜部を含む
ことを特徴とする請求項7に記載の移動検出装置。
【請求項9】
前記脱離方向と反対の方向を装着方向と定義し、
前記挿入開口から前記装着方向に挿入される前記押え足の挿入経路上に配置される凸状又は凹状の案内部、をさらに備え、
前記案内部は、前記押え足が前記筐体に挿入される場合に、前記押え足に設けられる凹状又は凸状の被案内部に嵌合する
ことを特徴とする請求項1に記載の移動検出装置。
【請求項10】
ミシンの押え棒に装着され、被縫製物の移動量を検出する移動検出装置であって、
前記移動量を検出するために、前記被縫製物に向けて光を照射し、前記被縫製物から反射された前記光を検出するセンサと、
前記センサを収容する筐体と、
前記センサが前記光を照射する方向を照射方向と定義し、前記照射方向と直交する方向を脱離方向と定義した場合に、前記筐体において、前記センサから前記脱離方向にある壁面に形成される挿入開口と、
押え足と、を備え、
前記押え足は、
前記脱離方向と反対の方向を装着方向と定義し、
前記脱離方向と前記装着方向とに沿った双方向をスライド方向と定義した場合、
前記挿入開口から前記筐体に挿入される挿入板と、
前記挿入板の前記照射方向且つ前記脱離方向に配置され、前記スライド方向に延びる押え板と、
前記挿入板に接続され、前記挿入板から前記照射方向に延び、前記押え板に接続される接続板であって、前記接続板において前記挿入板から前記照射方向に延びる接続板開口が形成される前記接続板と、
を有し、
前記挿入開口から前記筐体に挿入された前記挿入板をロックする
ことを特徴とする移動検出装置。
(【請求項11】以降は省略されています)
発明の詳細な説明
【技術分野】
【0001】
本発明は、移動検出装置及び縫製システムに関する。
続きを表示(約 2,000 文字)
【背景技術】
【0002】
布の移動を検出して、検出結果に応じてミシンのモータの回転速度を調整するための布移動検出装置が知られている(例えば、特許文献1参照)。布移動検出装置は本体部と押え支持部とを備える。押え支持部は本体部における外周部の下部において着脱される。押え支持部は本体部の下方に配置された布に上方から接触可能である。押え支持部はミシンの縫製作業や使いやすさに応じた形状を有するものが複数種類用意され、本体部に対して取り換え可能である。
【先行技術文献】
【特許文献】
【0003】
特開2023-35293号公報
【発明の概要】
【発明が解決しようとする課題】
【0004】
上記布移動検出装置において、各押え支持部は本体部から下方に脱離され、本体部に下方から押し上げられて装着される。本体部の下方には縫製するための厚手の布が配置されている場合がある。この場合、本体部と厚手の布との間の隙間が小さく、ユーザが本体部に対して押え支持部を着脱するときに、本体部の下方に配置された布が邪魔となる。したがって、ユーザは本体部に対して押え支持部を着脱することが困難である。
【0005】
本発明の目的は、筐体に対して押え足を容易に着脱することに貢献する移動検出装置及び縫製システムを提供することである。
【課題を解決するための手段】
【0006】
本発明の第一態様に係る移動検出装置は、ミシンの押え棒に装着され、被縫製物の移動量を検出する移動検出装置であって、前記移動量を検出するために、前記被縫製物に向けて光を照射し、前記被縫製物から反射された前記光を検出するセンサと、前記センサを収容する筐体と、前記センサが前記光を照射する方向を照射方向と定義し、前記照射方向と直交する方向を脱離方向と定義した場合に、前記筐体において、前記センサから前記脱離方向にある壁面に形成され、押え足を挿入するための開口である挿入開口と、を備え、前記挿入開口から前記筐体に挿入された前記押え足をロックする。
【0007】
第一態様の移動検出装置によれば、押え足は筐体の脱離方向に形成された挿入開口から筐体に着脱される。故に押え足が筐体に対して照射方向に移動して着脱される場合と比較して、押え足が筐体に対して容易に着脱できる。
【0008】
本発明の第二態様に係る移動検出装置は、ミシンの押え棒に装着され、被縫製物の移動量を検出する移動検出装置であって、前記移動量を検出するために、前記被縫製物に向けて光を照射し、前記被縫製物から反射された前記光を検出するセンサと、前記センサを収容する筐体と、前記センサが前記光を照射する方向を照射方向と定義し、前記照射方向と直交する方向を脱離方向と定義した場合に、前記筐体において、前記センサから前記脱離方向にある壁面に形成される挿入開口と、押え足と、を備え、前記押え足は、前記脱離方向と反対の方向を装着方向と定義し、前記脱離方向と前記装着方向とに沿った双方向をスライド方向と定義した場合、前記挿入開口から前記筐体に挿入される挿入板と、前記挿入板の前記照射方向且つ前記脱離方向に配置され、前記スライド方向に延びる押え板と、前記挿入板に接続され、前記挿入板から前記照射方向に延び、前記押え板に接続される接続板であって、前記接続板において前記挿入板から前記照射方向に延びる接続板開口が形成される前記接続板と、を有し、前記挿入開口から前記筐体に挿入された前記挿入板をロックする。
【0009】
筐体の脱離方向にミシンの針棒等の移動検出装置とは別部材が設けられるときがある。挿入板が筐体の挿入開口から脱離方向に取り外される、又は挿入板が挿入開口に脱離方向から取り付けられる移動検出装置では、押え足が当該別部材と干渉する可能性がある。これに対し、第二態様の移動検出装置の押え足の接続板には接続板開口が形成されるので、筐体の脱離方向にミシンの針棒等の移動検出装置とは別部材が設けられるときでも、押え足と当該別部材との干渉を抑制できる。
【0010】
本発明の第三態様に係る移動検出装置は、ミシンの上下方向に延びる押え棒に装着され、前記押え棒の下方において前記ミシンのベッドに配置された被縫製物の移動量を検出する移動検出装置であって、前記移動量を検出するために、前記被縫製物に向けて前記下方に光を照射し、前記被縫製物から反射された前記光を検出するセンサと、前記センサを収容する筐体と、前記上下方向に直交する方向を前方と定義した場合に、前記筐体において、前記センサから前記前方にある壁面に形成され、押え足を挿入するための開口である挿入開口と、を備え、前記挿入開口から前記筐体に挿入された前記押え足をロックする。
(【0011】以降は省略されています)
この特許をJ-PlatPat(特許庁公式サイト)で参照する
関連特許
ブラザー工業株式会社
印刷装置
5日前
ブラザー工業株式会社
スキャナ
20日前
ブラザー工業株式会社
スキャナ
20日前
ブラザー工業株式会社
印刷装置
17日前
ブラザー工業株式会社
画像形成装置
4日前
ブラザー工業株式会社
画像形成装置
4日前
ブラザー工業株式会社
画像形成装置
4日前
ブラザー工業株式会社
画像形成装置
4日前
ブラザー工業株式会社
画像形成装置
20日前
ブラザー工業株式会社
画像形成装置
20日前
ブラザー工業株式会社
画像形成装置
20日前
ブラザー工業株式会社
サポートプログラム
4日前
ブラザー工業株式会社
サポートプログラム
4日前
ブラザー工業株式会社
プリンタおよびプログラム
6日前
ブラザー工業株式会社
プリンタおよびプログラム
6日前
ブラザー工業株式会社
インクジェット記録方法及び印刷物
19日前
ブラザー工業株式会社
画像形成方法及びそれに用いられる液体
20日前
ブラザー工業株式会社
画像形成装置、画像形成システム、消耗品
20日前
ブラザー工業株式会社
接着液、画像形成システム、及び画像形成方法
24日前
ブラザー工業株式会社
制御装置、制御方法、及びコンピュータプログラム
24日前
ブラザー工業株式会社
プログラム、データ処理装置、および、データ処理方法
6日前
ブラザー工業株式会社
画像形成装置、画像形成プログラム、及び画像形成方法
24日前
ブラザー工業株式会社
カセット
20日前
ブラザー工業株式会社
プリンタ
19日前
ブラザー工業株式会社
通信システム、サーバ、および、コンピュータプログラム
4日前
ブラザー工業株式会社
制御装置、工作機械、制御方法及びコンピュータプログラム
24日前
ブラザー工業株式会社
画像形成装置
10日前
ブラザー工業株式会社
工作機械、工作機械の制御方法、及びコンピュータプログラム
24日前
ブラザー工業株式会社
ラベル巻付装置
20日前
ブラザー工業株式会社
情報処理プログラム、情報処理装置、情報処理方法、印刷プログラム、印刷装置、及び印刷方法
6日前
ブラザー工業株式会社
記録装置、記録装置用消耗品、及び情報処理方法
20日前
個人
下糸連続供給装置
7日前
株式会社バルダン
ミシン
20日前
JUKI株式会社
ミシン
5日前
JUKI株式会社
ミシン
3か月前
JUKI株式会社
ミシン
4か月前
続きを見る
他の特許を見る