TOP
|
特許
|
意匠
|
商標
特許ウォッチ
Twitter
他の特許を見る
公開番号
2025154408
公報種別
公開特許公報(A)
公開日
2025-10-10
出願番号
2024057385
出願日
2024-03-29
発明の名称
ミシンの点検時安全装置
出願人
株式会社TOK
,
タキゲン製造株式会社
代理人
個人
主分類
D05B
83/00 20060101AFI20251002BHJP(縫製;刺しゅう;タフティング)
要約
【課題】ミシン本体を転倒させる操作により自動的に転倒位置でロックされ、ミシン本体の予期しない起立が生じないミシンの点検時安全装置を提供する。
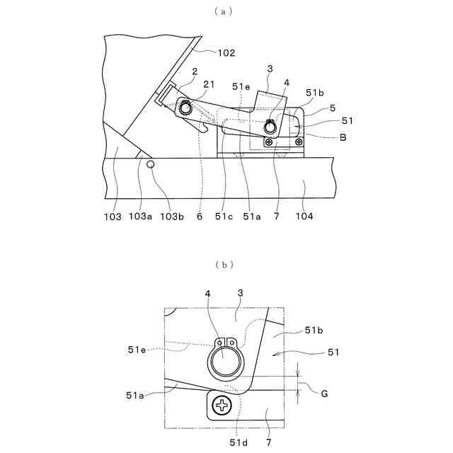
【解決手段】ミシンの安全装置1は、基端側がミシン本体102の転倒方向の側面部に、ヒンジ軸103bと平行な枢軸21で枢支されるロックレバー3と、当該ロックレバー3の先端側を上向きに回転付勢する付勢部材6と、ロックレバー3の先端側に設けられるロックピン4と、ミシン本体102の転倒方向側のミシンテーブル104上に固着されロックピン4が係合する係合溝51を有するロック部材5とを具備する。係合溝51は、始端部51cと終端部51dとの間でロックピン4を摺動させるガイド溝51aと、ガイド溝51aの終端に連続して上方へ屈曲しミシン本体102が転倒位置にあるときロックピン4を受け入れて拘束するロック溝51bとを具備する。
【選択図】図1
特許請求の範囲
【請求項1】
ミシンテーブルとミシン本体とがヒンジによって連結され、ミシン本体が直立位置と転倒位置とに設定可能なミシンにおいて、
基端側が前記ミシン本体の転倒方向の側面部に、前記ヒンジの軸と平行な枢軸で枢支されるロックレバーと、
前記ロックレバーの先端側を上向きに回転付勢する付勢部材と、
前記ロックレバーの先端側に前記枢軸と平行に設けられるロックピンと、
前記ミシン本体の転倒方向側において前記ロックレバーと対向するように前記ミシンテーブル上に固着され、前記ロックピンが係合する係合溝を具備するロック部材とを具備し、
前記係合溝は、前記ミシン本体が直立位置にあるとき前記ロックピンが位置する始端部と転倒位置にあるとき当該ロックピンが位置する終端部との間で前記ロックピンを上縁に沿って摺動させるガイド溝と、当該ガイド溝の終端に連続して上方へ屈曲し前記ミシン本体が転倒位置にあるとき前記ロックピンを受け入れて拘束するロック溝とを具備することを特徴とするミシンの点検時安全装置。
続きを表示(約 590 文字)
【請求項2】
前記ガイド溝の終端部の下縁に沿うように前記ロック部材に固着される磁石をさらに具備し、
前記磁石は、前記ミシン本体の転倒操作時に前記ロックピンが前記ガイド溝の終端部付近の上縁に当接する位置に配置されたとき、当該ロックピンとの間に所定の間隔が形成されるように配置され、それにより、続く転倒操作時に、前記付勢部材の付勢力が磁力に勝って前記ロックピンが前記ロック溝内へ引き上げられるように設けられる一方、前記ミシン本体の引き起こし操作に先立って前記ロック溝内にある前記ロックピンが押し下げられたとき、当該ロックピンを吸着保持し、続く引き起こし操作時に、当該ロックピンを前記ガイド溝内へ誘導するように設けられることを特徴とする請求項1に記載のミシンの点検時安全装置。
【請求項3】
前記ロックレバーの基端側が、前記ミシン本体の転倒方向の側面部に固着される支持部材を介して前記枢軸により枢支され、
前記支持部材は、前記ミシン本体の側面部から直角に延出し、当該ミシン本体が転倒位置にあるとき先端が前記ミシンテーブルに当接して前記ミシン本体を転倒位置に支持するように設けられ、
前記ロックレバーは、前記支持部材の延出途上において前記枢軸により当該支持部材に枢支されることを特徴とする請求項1又は2に記載のミシンの点検時安全装置。
発明の詳細な説明
【技術分野】
【0001】
本発明は、ミシン本体を転倒させて行う点検作業時等に、不用意にミシン本体が起立して作業者がミシン本体とミシンテーブルとの間に挟まれることがないように、ミシン本体を転倒位置でロックして安全を確保する装置に関する。
続きを表示(約 2,100 文字)
【背景技術】
【0002】
ミシンテーブルとミシン本体とがヒンジによって連結され、ミシン本体が直立位置と転倒位置とに設定可能なミシンにおいて、ミシン本体を転倒させて行う点検作業時等の際に、ミシン本体が不用意に直立位置に戻ることがないように作業者の安全を確保する装置が特許文献1に記載されている。この安全装置は、ミシン本体に一端部が枢支されて常に初期位置に付勢される保持棒を有する。保持棒は、他端部に係止機構を有する。一方、ミシンテーブルには係止ピンが固着される。ミシン本体を転倒させながら、保持棒を付勢力に抗してロック位置に回転操作し、先端の係止機構を係止ピンに係合させることにより、ミシン本体を転倒位置に保持する。
【先行技術文献】
【特許文献】
【0003】
特開平9-28968号公報
【発明の概要】
【発明が解決しようとする課題】
【0004】
上記従来のミシンの安全装置は、一方の手でミシン本体を転倒させながら、他方の手で保持棒を操作しなければミシン本体を転倒位置に保持することができない。このため、操作が煩雑であるばかりでなく、操作忘れが生じやすく十分な安全性が確保できない。
したがって、本発明は、ミシン本体を転倒させる操作を行えば、自動的にミシン本体が転倒位置でロックされ、ミシン本体の予期しない起立が生じないミシンの点検時安全装置を提供することを課題とする。
【課題を解決するための手段】
【0005】
以下の説明において添付図面の符号を参照するが、本発明はこれに限定されるものではない。
上記課題を解決するための、本発明のミシンの安全装置1は、基端側がミシン本体102の転倒方向の側面部に、ミシン本体102のヒンジ軸103bと平行な枢軸21で枢支されるロックレバー3と、当該ロックレバー3の先端側を上向きに回転付勢する付勢部材6と、ロックレバー3の先端側に設けられるロックピン7と、ミシン本体102の転倒方向側においてロックレバー3と対向するようにミシンテーブル104上に固着されロックピン4が係合する係合溝51を具備するロック部材5とを具備する。係合溝51は、ミシン本体102が直立位置にあるときロックピン4が位置する始端部51cと転倒位置にあるときロックピン4が位置する終端部51dとの間でロックピン4を摺動させるガイド溝51aと、ガイド溝51aの終端に連続して上方へ屈曲しミシン本体102が転倒位置にあるときロックピン4を受け入れて拘束するロック溝51bとを具備する。
【発明の効果】
【0006】
本発明によれば、ミシン本体を転倒位置へ傾動させる操作に伴い、ロックレバーのロックピンがガイド溝に沿って終端部まで摺動すると、ロックレバーの付勢力によりロックピンが自動的にロック溝に係合し、ミシン本体を転倒位置に保持するから、作業者は、追加的なロック操作を行うことなく、転倒位置にあるミシン本体の点検等の作業を安全に行うことができる。
【図面の簡単な説明】
【0007】
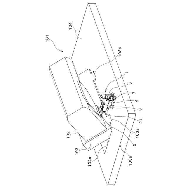
本発明の安全装置とミシンを示す概略的斜視図である。
本発明の安全装置と直立位置にあるミシンを示す正面図である。
本発明の安全装置と転倒位置にあるミシンを示す正面図である。
(a)は、本発明の安全装置と転倒途上にあるミシン本体との関係を示す図であり、(b)は同図におけるB部の拡大図である。
本発明の安全装置とミシン本体との関係を示す図であり、安全装置はロック位置にある。
本発明の安全装置と転倒位置にあるミシン本体との関係を示す図である。
本発明の安全装置とミシン本体との関係を示す図であり、安全装置はロック解除位置にある。
【発明を実施するための形態】
【0008】
図面を参照して本発明の実施の形態を説明する。図1において、ミシン101は、ミシン本体102とミシンベッド103とミシンテーブル104とを備える。ミシン本体102は、ミシンベッド103のヒンジ103aによって、ミシンテーブル104に連結されている。したがって、ミシン本体102は、ヒンジ103aのヒンジ軸103bを中心に、図2に示す直立位置から、図1,3に示す転倒位置まで、転動させることができる。ミシンテーブル104には、ミシン本体102の直立状態において、ミシンベッド103を嵌合させる開口部104aが形成されている。メンテナンス作業は、ミシン本体102を転倒させ、開口部から作業者側へ内部機構を露出させた状態で行われる。
【0009】
安全装置1は、支持部材2、ロックレバー3、ロックピン4、ロック部材5を具備する。
【0010】
ロックレバー3は、基端側が、支持部材2を介してミシン本体102の転倒方向の側面部に枢支される。
(【0011】以降は省略されています)
この特許をJ-PlatPat(特許庁公式サイト)で参照する
関連特許
株式会社TOK
ミシンの点検時安全装置
1か月前
株式会社TOKIUM
プログラム、コンピュータおよび情報処理方法
1か月前
株式会社Tokyo Otaku Mode
配送方法最適化システム、配送方法最適化プログラム及び、配送方法最適化方法
6日前
積水樹脂株式会社
フェンス、フェンスの施工方法、外構製品、及び外構製品の施工方法
1か月前
株式会社TOKIUM
プログラム、コンピュータおよび情報処理方法
14日前
株式会社Tokyo Otaku Mode
配送方法最適化システム、配送方法最適化プログラム及び、配送方法最適化方法
6日前
個人
下糸連続供給装置
1か月前
株式会社バルダン
ミシン
1か月前
JUKI株式会社
ミシン
1か月前
JUKI株式会社
ミシン
4か月前
ブラザー工業株式会社
ミシン
1か月前
ブラザー工業株式会社
ミシン
5か月前
ブラザー工業株式会社
ボビン
1か月前
ブラザー工業株式会社
ミシン
1か月前
ブラザー工業株式会社
縫製装置
1か月前
個人
ニードルパンチ針を使用した仮留め器具
1か月前
個人
縫製方法
3か月前
JUKI株式会社
ミシンの布押え
1か月前
JUKI株式会社
上下送りミシン
4か月前
ブラザー工業株式会社
糸巻回装置
1か月前
ブラザー工業株式会社
糸巻回装置
1か月前
JUKI株式会社
ミシンの糸切り装置
4か月前
JUKI株式会社
ボタン付け縫製装置
5か月前
ブラザー工業株式会社
ミシンフレーム
4か月前
株式会社PEGASUS
偏平縫いミシンの押え装置
1か月前
株式会社PEGASUS
偏平縫いミシンの送り装置
1か月前
JUKI株式会社
被縫製物の位置決め装置
4か月前
JUKI株式会社
ミシン
5か月前
KLASS株式会社
畳縫着装置
5か月前
JUKI株式会社
ミシン
2か月前
JUKI株式会社
ミシン
1か月前
KLASS株式会社
畳縫着装置
2か月前
JUKI株式会社
ミシン
3か月前
JUKI株式会社
取得装置及び二本針ミシン
1か月前
株式会社TISM
ミシンにおける紐状素材の案内装置
5か月前
星鋭縫じん機股ふん有限公司
ミシン
4か月前
続きを見る
他の特許を見る