TOP
|
特許
|
意匠
|
商標
特許ウォッチ
Twitter
他の特許を見る
10個以上の画像は省略されています。
公開番号
2025154125
公報種別
公開特許公報(A)
公開日
2025-10-10
出願番号
2024056953
出願日
2024-03-29
発明の名称
ミシン
出願人
JUKI株式会社
代理人
弁理士法人酒井国際特許事務所
主分類
D05B
65/02 20060101AFI20251002BHJP(縫製;刺しゅう;タフティング)
要約
【課題】半回転釜を用いた2本針ミシンにおいて2本のミシン針の間隔を近付けること。
【解決手段】ミシンは、上糸が掛けられたミシン針を保持して上下方向に往復移動する針棒と、針棒よりも下方に配置され、ミシン針が挿入される針穴を有する針板と、針板よりも下方に配置され、下糸を供給する釜と、ミシン針が針板よりも上方に配置された状態で、上糸及び下糸を切断する糸切り装置と、を備える。糸切り装置は、針板の下面に固定される固定メスと、針板の下面に設けられたピボットを中心に待機位置と進出位置との間を回動可能な可動メスと、を有する。可動メスは、進出位置に向かって回動することにより針穴よりも下方に形成された上糸ループに進入して上糸ループを針側部分と縫い目側部分とに分ける捌き部を有する。捌き部は、針側部分が縫い目側部分及び下糸よりもピボットの径方向外側に配置されるように、上糸ループに進入する。
【選択図】図10
特許請求の範囲
【請求項1】
上糸が掛けられたミシン針を保持して上下方向に往復移動する針棒と、
前記針棒よりも下方に配置され、前記ミシン針が挿入される針穴を有する針板と、
前記針板よりも下方に配置され、下糸を供給する釜と、
前記ミシン針が前記針板よりも上方に配置された状態で、前記上糸及び前記下糸を切断する糸切り装置と、を備え、
前記糸切り装置は、
前記針板の下面に固定される固定メスと、
前記針板の下面に設けられたピボットを中心に待機位置と進出位置との間を回動可能な可動メスと、を有し、
前記可動メスは、
前記進出位置に向かって回動することにより前記針穴よりも下方に形成された上糸ループに進入して前記上糸ループを針側部分と縫い目側部分とに分ける捌き部を有し、
前記捌き部は、前記針側部分が前記縫い目側部分及び前記下糸よりも前記ピボットの径方向外側に配置されるように、前記上糸ループに進入する、
ミシン。
続きを表示(約 930 文字)
【請求項2】
前記捌き部は、
前記上糸ループに進入する剣先部と、
前記剣先部に繋がる第1ガイド部と、
前記剣先部に繋がり前記第1ガイド部よりも径方向外側に配置される第2ガイド部と、
前記第1ガイド部に繋がる第1凹部と、
前記第2ガイド部に繋がる第2凹部と、を有し、
前記縫い目側部分及び前記下糸は、前記第1凹部に配置されるように前記第1ガイド部にガイドされ、
前記針側部分は、前記第2凹部に配置されるように前記第2ガイド部にガイドされる、
請求項1に記載のミシン。
【請求項3】
前記縫い目側部分及び前記下糸が前記第1凹部に配置されている状態で、前記可動メスが前記待機位置に向かって回動することにより、前記縫い目側部分及び前記下糸が前記固定メスと前記可動メスの刃部とにより切断される、
請求項2に記載のミシン。
【請求項4】
前記固定メス及び前記待機位置に配置される可動メスのそれぞれは、前記針穴よりも左方に配置される、
請求項1に記載のミシン。
【請求項5】
前記糸切り装置は、
前記針板よりも下方に設けられ、前記可動メスを前記固定メスに押し付ける弾性力を発生する弾性部材を有する、
請求項1に記載のミシン。
【請求項6】
前記可動メスは、前記固定メスよりも下方において前記待機位置と前記進出位置との間を回動し、
前記弾性部材は、
前記可動メスが前記待機位置に配置されている場合、前記可動メスを前記固定メスに押し付ける、
請求項5に記載のミシン。
【請求項7】
前記可動メスは、
前記ピボットに支持されるボディ部と、
前記ボディ部と前記捌き部とを繋ぐ屈曲部と、を有する、
請求項1に記載のミシン。
【請求項8】
前記釜は、半回転釜であり、
前記半回転釜は、相互に対向するように2つ設けられ、
前記ミシン針は、2本設けられ、
前記糸切り装置は、2つ設けられる、
請求項1に記載のミシン。
発明の詳細な説明
【技術分野】
【0001】
本明細書で開示する技術は、ミシンに関する。
続きを表示(約 1,900 文字)
【背景技術】
【0002】
ミシンに係る技術分野において、特許文献1に開示されているような糸切り装置付きミシンが知られている。
【先行技術文献】
【特許文献】
【0003】
特開2003-236280号公報
【発明の概要】
【発明が解決しようとする課題】
【0004】
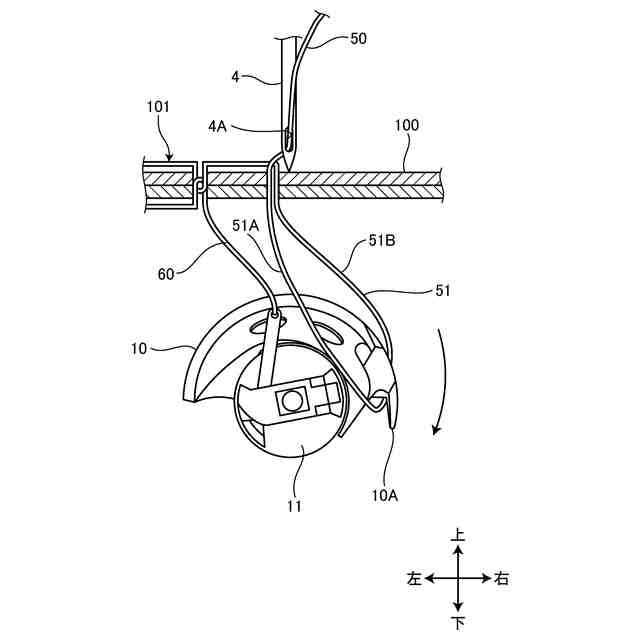
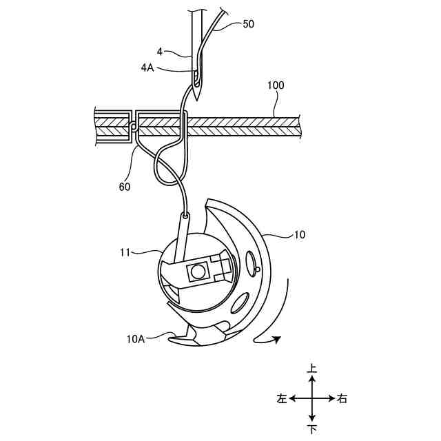
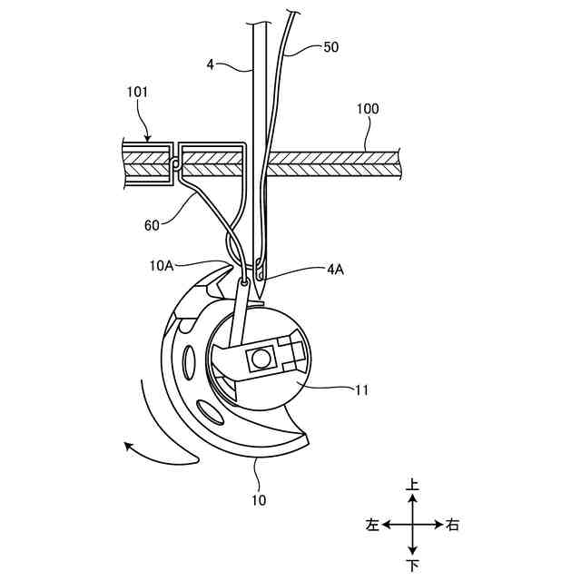
ミシンの糸切り装置は、固定メスと可動メスとを有する。上糸及び下糸を切断する場合、針板の針穴から下方に延びる上糸及び下糸が可動メスに引っ掛けられる。上糸及び下糸を引っ掛けた可動メスが固定メスに接近するように回動することにより、上糸及び下糸が切断される。特許文献1のような半回転釜を使用したミシンの糸切り装置では、下糸を巻いたボビンを内蔵したボビンケースと釜を図1の左方向(正面)から見たときに、図7の(a)から図8の(e)のように正面方向から可動メスが動作し、上糸のループの中に可動メスが入り、反転して戻るときに上糸と下糸を切断する構造となる。このため、釜の正面側に可動メス及び固定メスの配置スペースが必要であり、2本針ミシンで半回転釜を対向して設置する場合、釜と釜との間に可動メス及び固定メスを配置するため、2つの釜を近付けることができず、必然的に2本のミシン針の間隔を近付けることが困難であった。
【0005】
本明細書で開示する技術は、半回転釜を用いた2本針ミシンにおいて2本のミシン針の間隔を近付けることを目的とする。
【課題を解決するための手段】
【0006】
本明細書は、ミシンを開示する。ミシンは、上糸が掛けられたミシン針を保持して上下方向に往復移動する針棒と、針棒よりも下方に配置され、ミシン針が挿入される針穴を有する針板と、針板よりも下方に配置され、下糸を供給する釜と、ミシン針が針板よりも上方に配置された状態で、上糸及び下糸を切断する糸切り装置と、を備える。糸切り装置は、針板の下面に固定される固定メスと、針板の下面に設けられたピボットを中心に待機位置と進出位置との間を回動可能な可動メスと、を有する。可動メスは、進出位置に向かって回動することにより針穴よりも下方に形成された上糸ループに進入して上糸ループを針側部分と縫い目側部分とに分ける捌き部を有する。捌き部は、針側部分が縫い目側部分及び下糸よりもピボットの径方向外側に配置されるように、上糸ループに進入する。
【発明の効果】
【0007】
本明細書で開示する技術によれば、半回転釜を用いた2本針ミシンにおいて2本のミシン針の距離を近付けることができる。
【図面の簡単な説明】
【0008】
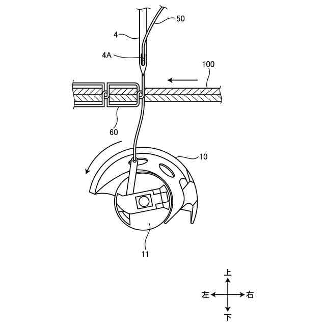
図1は、実施形態に係るミシンを示す斜視図である。
図2は、実施形態に係る半回転釜の動作を説明する図である。
図3は、実施形態に係る半回転釜の動作を説明する図である。
図4は、実施形態に係る半回転釜の動作を説明する図である。
図5は、実施形態に係る半回転釜の動作を説明する図である。
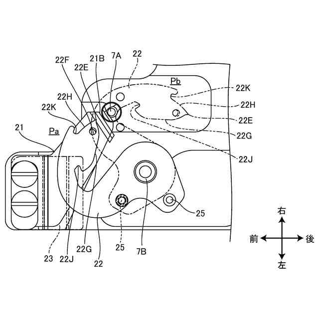
図6は、実施形態に係る糸切り装置を上方から見た斜視図である。
図7は、実施形態に係る糸切り装置を右方から見た図である。
図8は、実施形態に係る糸切り装置を下方から見た図である。
図9は、実施形態に係る可動メスを上方から見た斜視図である。
図10は、実施形態に係る可動メスの動作を示す図である。
図11は、実施形態に係る可動メスの動作を説明する斜視図である。
図12は、実施形態に係る糸切り装置を下方から見た図である。
図13は、実施形態に係る糸切り装置を下方から見た図である。
図14は、実施形態に係る糸切り装置を下方から見た図である。
図15は、実施形態に係る糸切り装置の効果を説明する図である。
【発明を実施するための形態】
【0009】
以下、実施形態について図面を参照しながら説明する。実施形態においては、左、右、前、後、上、及び下の用語を用いて各部の位置関係について説明する。これらの用語は、ミシン1を操作する操作者を基準とした相対位置又は方向を示す。
【0010】
[ミシン]
図1は、実施形態に係るミシン1を示す斜視図である。実施形態において、ミシン1は、工業用ミシンである。ミシン1は、2本針半回転釜本縫いミシンである。ミシン1は、ミシンフレーム3と、針棒5と、天秤6と、針板7と、押さえ8とを備える。
(【0011】以降は省略されています)
この特許をJ-PlatPat(特許庁公式サイト)で参照する
関連特許
JUKI株式会社
ミシン
26日前
JUKI株式会社
ミシンの布押え
1か月前
JUKI株式会社
取得装置及び二本針ミシン
1か月前
JUKI株式会社
部品実装装置及びオフセット情報取得方法
1か月前
JUKI株式会社
3次元計測装置、部品実装装置、及び3次元計測方法
1か月前
個人
下糸連続供給装置
28日前
株式会社バルダン
ミシン
1か月前
JUKI株式会社
ミシン
26日前
ブラザー工業株式会社
ミシン
1か月前
ブラザー工業株式会社
ミシン
1か月前
ブラザー工業株式会社
ボビン
1か月前
個人
縫製方法
3か月前
ブラザー工業株式会社
縫製装置
1か月前
個人
ニードルパンチ針を使用した仮留め器具
1か月前
ブラザー工業株式会社
糸巻回装置
1か月前
JUKI株式会社
ミシンの布押え
1か月前
ブラザー工業株式会社
糸巻回装置
1か月前
株式会社PEGASUS
偏平縫いミシンの送り装置
1か月前
株式会社PEGASUS
偏平縫いミシンの押え装置
1か月前
JUKI株式会社
ミシン
3か月前
KLASS株式会社
畳縫着装置
2か月前
JUKI株式会社
ミシン
1か月前
JUKI株式会社
取得装置及び二本針ミシン
1か月前
JUKI株式会社
ミシン
1か月前
星鋭縫じん機股ふん有限公司
ミシン
3か月前
ブラザー工業株式会社
ミシン及びミシン制御方法
2か月前
JUKI株式会社
ゴム繋ぎ装置
1か月前
ブラザー工業株式会社
移動検出装置及び縫製システム
1か月前
JUKI株式会社
差動送りミシン
1か月前
JUKI株式会社
縫製管理システム
3か月前
株式会社TOK
ミシンの点検時安全装置
1か月前
ブラザー工業株式会社
縫製支援方法、縫製支援プログラム、記憶媒体及び縫製装置
1か月前
ブラザー工業株式会社
縫製支援方法、縫製支援プログラム、記憶媒体及び縫製装置
1か月前
ブラザー工業株式会社
制御パラメータ生成方法、制御パラメータ生成プログラム及び記憶媒体
1か月前
デュルコップ アドラー ゲーエムベーハー
ミシン、そのようなミシンを有する縫製ユニット及びミシンの操作方法
19日前
インティヴァ プロダクツ, エルエルシー
ロボット縫製アセンブリの為の旋回式下部アーム
1か月前
他の特許を見る