TOP
|
特許
|
意匠
|
商標
特許ウォッチ
Twitter
他の特許を見る
10個以上の画像は省略されています。
公開番号
2025132240
公報種別
公開特許公報(A)
公開日
2025-09-10
出願番号
2024029657
出願日
2024-02-29
発明の名称
畳縫着装置
出願人
KLASS株式会社
代理人
個人
,
個人
,
個人
,
個人
主分類
D05B
23/00 20060101AFI20250903BHJP(縫製;刺しゅう;タフティング)
要約
【課題】 畳厚に応じた糸切れ検知が可能な畳縫着装置を提供することを目的とする。
【解決手段】 本発明の一の態様の畳縫着装置は、畳を縫着するための畳縫着装置であって、縫着糸の糸切れを検知する糸切れ検知手段を備え、前記糸切れ検知手段は、糸の使用量を検知する検知センサと、制御手段とを有し、前記制御手段により、前記検知センサにより計測される実際に使用される現実糸使用量が、畳厚又は針高さに応じた所定の閾値を下回った時に、糸切れと判定することを特徴とする。
【選択図】 図11
特許請求の範囲
【請求項1】
畳を縫着するための畳縫着装置であって、
縫着糸の糸切れを検知する糸切れ検知手段を備え、
前記糸切れ検知手段は、
糸の使用量を検知する検知センサと、
制御手段と、を有し、
前記制御手段により、前記検知センサにより計測される実際に使用される現実糸使用量が、畳厚又は針高さに応じた所定の閾値を下回った時に、糸切れと判定することを特徴とする、畳縫着装置。
続きを表示(約 1,200 文字)
【請求項2】
前記糸切れ検知手段は、
前記制御手段が、
畳厚又は針高さに応じた複数の閾値データを具備し、
縫着される畳の畳厚又は針高さに応じて、所定の閾値を選択することを特徴とする、
請求項1記載の畳縫着装置。
【請求項3】
前記畳縫着装置が、畳厚を測定する畳厚測定手段をさらに備え、
前記糸切れ検知手段は、
前記畳厚測定手段により測定された畳厚に応じて、所定の閾値を選択することを特徴とする、
請求項2記載の畳縫着装置。
【請求項4】
前記糸切れ検知手段は、
縫着する畳の畳厚又は針高さを入力する入力手段を有し、
入力された畳厚に応じて、所定の閾値を選択することを特徴とする、
請求項2記載の畳縫着装置。
【請求項5】
前記複数の閾値データが、厚畳と薄畳の畳厚又は針高さに対応する2つの閾値データを有することを特徴とする、
請求項2記載の畳縫着装置。
【請求項6】
前記糸切れ検知手段は、
縫着時の縫いピッチを入力可能な入力手段をさらに有し、
前記制御手段により、前記検知センサによって計測される実際に使用される現実糸使用量が、畳厚又は針高さと縫着時の縫いピッチとにより算出される想定糸使用量に基づき算出される閾値を下回った時に、糸切れと判定することとを特徴とする、
請求項2記載の畳縫着装置。
【請求項7】
前記糸切れ検知手段は、
前記入力手段が、縫着時の梯子縫い、千鳥縫いなどの縫い方をさらに入力可能であり、
前記制御手段が算出する前記閾値が、畳厚又は針高さと縫い方により算出される想定使用量に基づくことを特徴とする、
請求項2記載の畳縫着装置。
【請求項8】
前記畳縫着装置は、送り出す縫着糸を設置する糸保持部をさらに備え、
前記糸切れ検知手段は、
前記糸保持部から縫い針までの経路上に、縫着糸が巻き付き通過するエンコーダを備えるローラを、前記検知センサとして有することを特徴とする、
請求項2記載の畳縫着装置。
【請求項9】
前記制御手段は、前記現実糸使用量を、前記エンコーダの回転数に該エンコーダが1回転する時に送り出される縫着糸の量を乗算して算出することを特徴とする、
請求項8記載の畳縫着装置。
【請求項10】
前記制御手段は、前記縫い針が1往復した時の前記エンコーダの回転数から送り出される縫着糸を前記現実糸使用量として算出し、前記縫い針が1往復した時に対応する前記想定糸使用量から閾値を算出することを特徴とする、
請求項9記載の畳縫着装置。
(【請求項11】以降は省略されています)
発明の詳細な説明
【技術分野】
【0001】
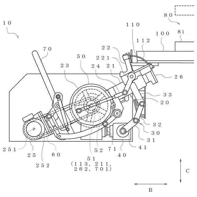
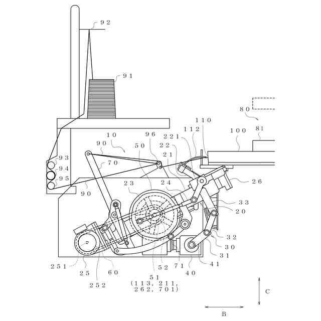
本発明は、畳の側辺に対して、畳縁を縫い付けたりするなど、畳を縫着する畳縫着装置に関する。
続きを表示(約 1,500 文字)
【背景技術】
【0002】
従来より、畳の製造工程において、畳の短辺側の側面に対して畳表を縫い付ける框縫い工程、ならびに、畳の長辺側の側面に対して畳縁を縫い付ける返し縫い工程が実施されている。
【0003】
そして、畳を縫着する場合、なんらかのトラブルによって縫着糸が途中で切れてしまったり、縫着糸がほつれてしまったり、また縫着糸を使い切ってしまった場合など、そのまま畳を縫い進めてしまうと、畳の縫製が汚くなったり、そのまま運針を進めてしまうことがある。その場合、作業者は、畳が装置に載置された状態で、畳の下側から縫着糸をほどくなどの交換作業を行わなければならず、非常に手間がかかる。また、縫えない部分ができ、仕上がりの悪化に繋がることもある。
【0004】
そこで、本願の出願人は、縫着糸の糸切れを検知する糸切れ検出装置を過去に提案している(特許文献1参照)。特許文献1の糸切れ検出装置は、上糸供給側に上糸走行時の走行速度を検出するための速度検出器19を設け、この速度検出器19で検出される上糸走行速度と速度設定器にあらかじめ設定される上糸下限速度とを比較し、上糸走行速度が上糸下限速度よりも小さいときに停止信号を出力する糸切れ判定手段を備えるものである。
【0005】
一方、畳は敷き込む場所に応じて、厚みの厚い畳や薄い畳など、様々な厚みの異なる畳が用いられる。そして、畳を製造する場合、畳厚の異なる畳を同じ設定のまま製造すると、縫い深さが一定とならず縫着強度が不安定となったり、縫い針が破損したりする。
【0006】
そのため、畳を製造する場合、畳の厚みに応じて、畳に対する縫い針の縫製の高さ位置などを変更する必要がある。例えば、特許文献2には、畳の厚さに対応させるために、ミシンアーム軸を中心にミシンアームを回動させることで、畳に対する縫い針の縫製の高さ位置を変更する畳用縫着装置が開示されている。この畳用縫着装置は、クランクの回転により、クランクロッド及び針アームレバーを介して、縫い針揺動軸が回転し針アーム及び縫い針を往復運動させている。
【先行技術文献】
【特許文献】
【0007】
特開昭63-234996号
特開2006-394号
【発明の概要】
【発明が解決しようとする課題】
【0008】
特許文献1の糸切れ検出装置では、厚畳に特化した糸切れ検出装置であり、薄畳に適用することができない。また、厚畳と薄畳の場合、縫着する糸の使用量が異なるものであるところ、特許文献2の糸切れ検出装置を厚畳と薄畳の双方に適用する場合、作業者の畳厚の測定や数値入力、スイッチングミスなどのヒューマンエラーが生じるおそれがある。
【0009】
また、特許文献2の畳用縫着装置は、複数の畳厚の畳に応じて縫い針の縫製の高さ位置を変更するものであるが、縫着する畳厚は、作業者が畳厚を測定して行うものであると考えられる。また、畳厚の数値を装置に入力したり、厚畳と薄畳の選択をするなどして行って、縫い針の高さ位置を調整するものも存在するが、その場合もその畳厚は作業者が測定して数値を入力したり、作業者が厚畳と薄畳をスイッチングなどによって選択するものである。
【0010】
そのため、特許文献2においても、作業者が畳厚の数値を入力する際の誤入力や、作業者のスイッチングのミスによるヒューマンエラーが生じるおそれがある。
(【0011】以降は省略されています)
この特許をJ-PlatPat(特許庁公式サイト)で参照する
関連特許
KLASS株式会社
畳縫着装置
2か月前
個人
下糸連続供給装置
28日前
株式会社バルダン
ミシン
1か月前
JUKI株式会社
ミシン
4か月前
JUKI株式会社
ミシン
26日前
ブラザー工業株式会社
ボビン
1か月前
ブラザー工業株式会社
ミシン
1か月前
ブラザー工業株式会社
ミシン
4か月前
ブラザー工業株式会社
ミシン
1か月前
ブラザー工業株式会社
縫製装置
1か月前
個人
縫製方法
3か月前
個人
ニードルパンチ針を使用した仮留め器具
1か月前
ブラザー工業株式会社
糸巻回装置
1か月前
JUKI株式会社
上下送りミシン
4か月前
ブラザー工業株式会社
糸巻回装置
1か月前
JUKI株式会社
ミシンの布押え
1か月前
ブラザー工業株式会社
ミシンフレーム
4か月前
株式会社PEGASUS
偏平縫いミシンの押え装置
1か月前
株式会社PEGASUS
偏平縫いミシンの送り装置
1か月前
JUKI株式会社
ミシンの糸切り装置
4か月前
JUKI株式会社
被縫製物の位置決め装置
4か月前
JUKI株式会社
取得装置及び二本針ミシン
1か月前
KLASS株式会社
畳縫着装置
4か月前
JUKI株式会社
ミシン
1か月前
JUKI株式会社
ミシン
3か月前
JUKI株式会社
ミシン
1か月前
KLASS株式会社
畳縫着装置
2か月前
JUKI株式会社
ミシン
4か月前
星鋭縫じん機股ふん有限公司
ミシン
3か月前
株式会社TISM
ミシンにおける紐状素材の案内装置
5か月前
ブラザー工業株式会社
ミシン及びミシン制御方法
2か月前
JUKI株式会社
ゴム繋ぎ装置
1か月前
JUKI株式会社
差動送りミシン
1か月前
ブラザー工業株式会社
移動検出装置及び縫製システム
1か月前
JUKI株式会社
縫製管理システム
3か月前
株式会社TOK
ミシンの点検時安全装置
1か月前
続きを見る
他の特許を見る