TOP
|
特許
|
意匠
|
商標
特許ウォッチ
Twitter
他の特許を見る
公開番号
2025159608
公報種別
公開特許公報(A)
公開日
2025-10-21
出願番号
2024062314
出願日
2024-04-08
発明の名称
ミシンの布押え
出願人
JUKI株式会社
代理人
個人
,
個人
主分類
D05B
29/08 20060101AFI20251014BHJP(縫製;刺しゅう;タフティング)
要約
【課題】糸調子を安定させた縫製を可能にするミシンの布押えを実現する。
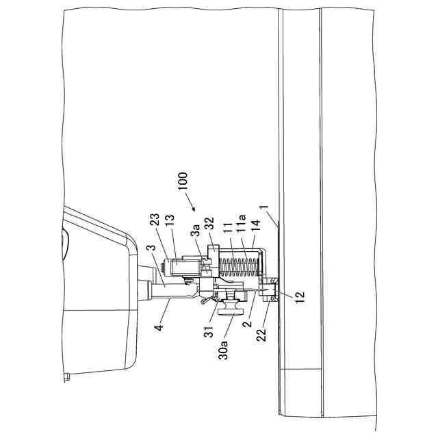
【解決手段】針棒3の上下動に連動して上下に移動する第1布押え部12と、針板1上の一定の高さに設置される第2布押え部22とを備えているミシンの布押え100であれば、針棒3が下降して縫い針2が布地に刺さるタイミングでは、針板1の上に載置された布地を第1布押え部12で押えることができ、針棒3が上昇して縫い針2が布地から抜けてから天秤が上糸を引き上げ終わるまでの間は、縫い針2や上糸によって布地が持ち上げられることを第2布押え部22で規制することができるため、糸調子を安定させた縫製が可能となる。
【選択図】図4
特許請求の範囲
【請求項1】
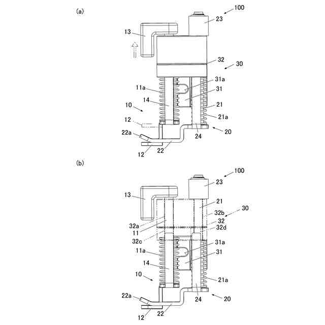
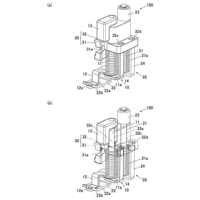
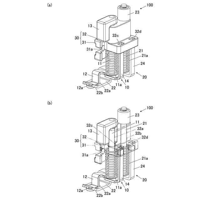
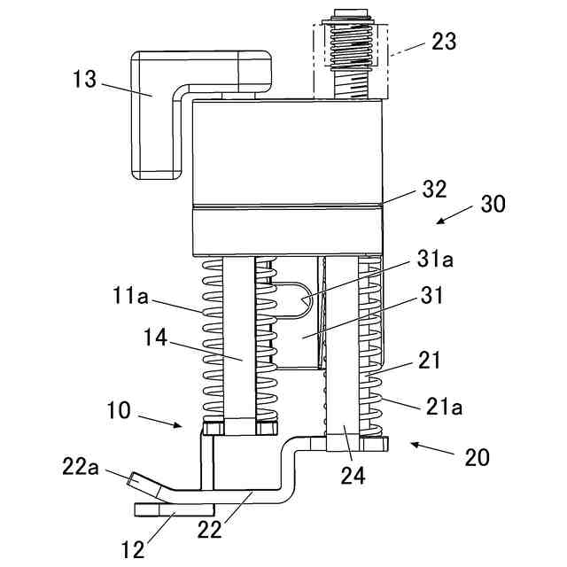
針板と、縫い針を保持した針棒を上下動させる針棒上下動機構と、を備えているミシンにおいて、布押え支持部材を介して前記針棒の近傍に設けられている布押え棒に取り付けられるミシンの布押えであって、
前記布押え支持部材に支持された第1の布押えと第2の布押えを備え、
前記第1の布押えは、前記針棒の上下動と連動するように上下に移動可能に支持された第1布押え部を備え、
前記第2の布押えは、上下に移動可能に支持された第2布押え部と、前記針板に対する前記第2布押え部の高さを位置調整するための調整部と、を備えていることを特徴とするミシンの布押え。
続きを表示(約 850 文字)
【請求項2】
前記第2の布押えの前記第2布押え部は、前記調整部によって前記針板の上に載置される布地とは接触しない高さに位置調整されていることを特徴とする請求項1に記載のミシンの布押え。
【請求項3】
前記第1布押え部は、前記第2布押え部よりも下の位置にあって前記針板に当接する高さと、前記第2布押え部よりも上に位置する高さに上下に移動することを特徴とする請求項2に記載のミシンの布押え。
【請求項4】
前記第1の布押えは、前記第1布押え部を針板に向けて付勢するばね部材と、前記針棒が上昇する際に接触してその上昇移動を前記第1布押え部へ伝達する接触腕部と、を備え、
前記第2の布押えは、前記第2布押え部を前記針板に向けて付勢するばね部材を備えていることを特徴とする請求項1~3のいずれか一項に記載のミシンの布押え。
【請求項5】
前記布押え支持部材には上下方向に貫通した第1貫通孔と第2貫通孔とが形成されており、
前記第1の布押えは、前記第1貫通孔に挿通されている第1軸部を備え、
前記第1軸部には、上端側に前記接触腕部が設けられ、下端側に前記第1布押え部が設けられ、
前記第2の布押えは、前記第2貫通孔に挿通されている第2軸部を備え、
前記第2軸部には、上端側に前記調整部が設けられ、下端側に前記第1布押え部が設けられていることを特徴とする請求項4に記載のミシンの布押え。
【請求項6】
前記第1布押え部には、前記第1軸部と平行な第1ガイド軸が立設されており、
前記第2布押え部には、前記第2軸部と平行な第2ガイド軸が立設されており、
前記布押え支持部材には、上下方向に貫通した第1ガイド孔と第2ガイド孔とが形成されており、
前記第1ガイド孔に前記第1ガイド軸が挿通され、前記第2ガイド孔に前記第2ガイド軸が挿通されていることを特徴とする請求項5に記載のミシンの布押え。
発明の詳細な説明
【技術分野】
【0001】
本発明は、ミシンの布押えに関する。
続きを表示(約 1,600 文字)
【背景技術】
【0002】
従来、例えば刺繍縫いやフリーモーション縫いを行うミシンにおいて、ミシンの針棒の上下動に合わせて、布押え部が上下に移動するミシンの布押えが知られている(例えば、特許文献1参照。)。
このミシンの布押えには操作腕が設けられており、操作腕に針棒の針留め部分が下から接触してその操作腕を押し上げるようになっており、針棒の上下動に連動して布押えが上下に移動するようになっている。
【先行技術文献】
【特許文献】
【0003】
特開2014-161431号公報
【発明の概要】
【発明が解決しようとする課題】
【0004】
しかしながら、上記特許文献1のように、針棒の上下動に合わせて上下に移動する布押えの場合、針棒の針留め部分が布押えを押し上げてから天秤が上糸を引き上げ終わるまでの間、布押え部が布地を押えていないので、縫い針や天秤によって引き上げられる上糸によって布地が持ち上げられてバタつくなどして、糸調子が不安定になってしまうことがあるという問題があった。
【0005】
本発明の目的は、糸調子を安定させた縫製を可能にするミシンの布押えを提供することである。
【課題を解決するための手段】
【0006】
以上の課題を解決するため、請求項1に記載の発明は、
針板と、縫い針を保持した針棒を上下動させる針棒上下動機構と、を備えているミシンにおいて、布押え支持部材を介して前記針棒の近傍に設けられている布押え棒に取り付けられるミシンの布押えであって、
前記布押え支持部材に支持された第1の布押えと第2の布押えを備え、
前記第1の布押えは、前記針棒の上下動と連動するように上下に移動可能に支持された第1布押え部を備え、
前記第2の布押えは、上下に移動可能に支持された第2布押え部と、前記針板に対する前記第2布押え部の高さを位置調整するための調整部と、を備えていることを特徴とする。
【0007】
請求項2に記載の発明は、請求項1に記載のミシンの布押えにおいて、
前記第2の布押えの前記第2布押え部は、前記調整部によって前記針板の上に載置される布地とは接触しない高さに位置調整されていることを特徴とする。
【0008】
請求項3に記載の発明は、請求項2に記載のミシンの布押えにおいて、
前記第1布押え部は、前記第2布押え部よりも下の位置にあって前記針板に当接する高さと、前記第2布押え部よりも上に位置する高さに上下に移動することを特徴とする。
【0009】
請求項4に記載の発明は、請求項1~3のいずれか一項に記載のミシンの布押えにおいて、
前記第1の布押えは、前記第1布押え部を針板に向けて付勢するばね部材と、前記針棒が上昇する際に接触してその上昇移動を前記第1布押え部へ伝達する接触腕部と、を備え、
前記第2の布押えは、前記第2布押え部を前記針板に向けて付勢するばね部材を備えていることを特徴とする。
【0010】
請求項5に記載の発明は、請求項4に記載のミシンの布押えにおいて、
前記布押え支持部材には上下方向に貫通した第1貫通孔と第2貫通孔とが形成されており、
前記第1の布押えは、前記第1貫通孔に挿通されている第1軸部を備え、
前記第1軸部には、上端側に前記接触腕部が設けられ、下端側に前記第1布押え部が設けられ、
前記第2の布押えは、前記第2貫通孔に挿通されている第2軸部を備え、
前記第2軸部には、上端側に前記調整部が設けられ、下端側に前記第1布押え部が設けられていることを特徴とする。
(【0011】以降は省略されています)
この特許をJ-PlatPat(特許庁公式サイト)で参照する
関連特許
JUKI株式会社
ミシン
26日前
JUKI株式会社
ミシン
1か月前
JUKI株式会社
ミシン
1か月前
JUKI株式会社
ミシン
3か月前
JUKI株式会社
ゴム繋ぎ装置
1か月前
JUKI株式会社
ミシンの布押え
1か月前
JUKI株式会社
差動送りミシン
1か月前
JUKI株式会社
取得装置及び二本針ミシン
1か月前
JUKI株式会社
部品実装装置及びオフセット情報取得方法
1か月前
JUKI株式会社
3次元計測装置、部品実装装置、及び3次元計測方法
1か月前
JUKI株式会社
3次元計測装置、部品実装装置、及び3次元計測方法
1か月前
JUKI株式会社
3次元計測装置、部品実装装置、及び3次元計測方法
1か月前
個人
下糸連続供給装置
28日前
株式会社バルダン
ミシン
1か月前
JUKI株式会社
ミシン
26日前
ブラザー工業株式会社
ミシン
1か月前
ブラザー工業株式会社
ミシン
1か月前
ブラザー工業株式会社
ボビン
1か月前
個人
縫製方法
3か月前
ブラザー工業株式会社
縫製装置
1か月前
個人
ニードルパンチ針を使用した仮留め器具
1か月前
ブラザー工業株式会社
糸巻回装置
1か月前
JUKI株式会社
ミシンの布押え
1か月前
ブラザー工業株式会社
糸巻回装置
1か月前
株式会社PEGASUS
偏平縫いミシンの送り装置
1か月前
株式会社PEGASUS
偏平縫いミシンの押え装置
1か月前
JUKI株式会社
ミシン
3か月前
KLASS株式会社
畳縫着装置
2か月前
JUKI株式会社
ミシン
1か月前
JUKI株式会社
取得装置及び二本針ミシン
1か月前
JUKI株式会社
ミシン
1か月前
星鋭縫じん機股ふん有限公司
ミシン
3か月前
ブラザー工業株式会社
ミシン及びミシン制御方法
2か月前
JUKI株式会社
ゴム繋ぎ装置
1か月前
ブラザー工業株式会社
移動検出装置及び縫製システム
1か月前
JUKI株式会社
差動送りミシン
1か月前
続きを見る
他の特許を見る