TOP
|
特許
|
意匠
|
商標
特許ウォッチ
Twitter
他の特許を見る
10個以上の画像は省略されています。
公開番号
2025161196
公報種別
公開特許公報(A)
公開日
2025-10-24
出願番号
2024064180
出願日
2024-04-11
発明の名称
部品実装装置及びオフセット情報取得方法
出願人
JUKI株式会社
代理人
弁理士法人酒井国際特許事務所
主分類
H05K
13/04 20060101AFI20251017BHJP(他に分類されない電気技術)
要約
【課題】ヘッド部のオフセット情報の取得に要する時間を短縮すること。
【解決手段】部品実装装置は、電子部品を保持するノズルを有し、直線状に配列された3以上のヘッド部を含むヘッドユニットと、ヘッドユニットが着脱可能に取り付けられるヘッド保持体を有し、ヘッドユニットを水平方向に移動させるヘッド移動機構と、ヘッド部のオフセット位置に関する情報を出力するセンサと、ヘッドユニット及びヘッド移動機構を制御する制御部と、を備える。制御部は、センサの出力に基づいて、ヘッド部のうちの第1ヘッド部の第1オフセット情報と第2ヘッド部の第2オフセット情報とを取得し、第1オフセット情報及び第2オフセット情報に基づいて、第1ヘッド部及び第2ヘッド部以外の他のヘッド部のオフセット情報を生成する。
【選択図】図5
特許請求の範囲
【請求項1】
電子部品を保持するノズルを有し、直線状に配列された3以上のヘッド部を含むヘッドユニットと、
前記ヘッドユニットが着脱可能に取り付けられるヘッド保持体を有し、前記ヘッドユニットを水平方向に移動させるヘッド移動機構と、
前記ヘッド部のオフセット位置に関する情報を出力するセンサと、
前記ヘッドユニット及び前記ヘッド移動機構を制御する制御部と、を備え、
前記制御部は、前記センサの出力に基づいて、前記ヘッド部のうちの第1ヘッド部の第1オフセット情報と第2ヘッド部の第2オフセット情報とを取得し、前記第1オフセット情報及び前記第2オフセット情報に基づいて、前記第1ヘッド部及び前記第2ヘッド部以外の他の前記ヘッド部のオフセット情報を生成する、
部品実装装置。
続きを表示(約 1,700 文字)
【請求項2】
前記第1ヘッド部は、前記ヘッド部の直線状配列のうち一端部側に位置し、
前記第2ヘッド部は、前記ヘッド部の直線状配列のうち他端部側に位置する、
請求項1に記載の部品実装装置。
【請求項3】
前記制御部は、前記第1オフセット情報と前記第2オフセット情報とを直線補間することにより、前記第1ヘッド部及び前記第2ヘッド部以外の他の前記ヘッド部のオフセット情報を生成する、
請求項1又は2に記載の部品実装装置。
【請求項4】
前記センサは、前記ヘッド部により電子部品が搭載される基板を認識する基板撮像装置を含み、
前記制御部は、前記基板撮像装置による撮像画像に基づいて、前記基板撮像装置に対する水平方向の前記第1オフセット情報及び前記第2オフセット情報を取得する、
請求項1に記載の部品実装装置。
【請求項5】
前記ヘッド移動機構は、水平方向に加えて、前記ヘッドユニットを上下方向に移動させることが可能であり、
前記制御部は、
前記ヘッドユニットの第1高さ位置における前記第1オフセット情報及び前記第2オフセット情報を含む第1高さデータセットと、前記ヘッドユニットの第2高さ位置における前記第1オフセット情報及び前記第2オフセット情報を含む第2高さデータセットと、を取得し、
前記第1高さデータセットと前記第2高さデータセットとに基づいて、前記第1高さ位置及び前記第2高さ位置以外の他の高さ位置における前記第1オフセット情報及び前記第2オフセット情報を生成する、
請求項4に記載の部品実装装置。
【請求項6】
前記センサは、前記ヘッド部により保持した電子部品の側面に対するレーザ光の反射を検出することにより電子部品を検出するレーザ認識装置を含み、
前記制御部は、前記レーザ認識装置の検出結果に基づいて、前記レーザ認識装置に対する水平方向の前記第1オフセット情報及び前記第2オフセット情報を取得する、
請求項1に記載の部品実装装置。
【請求項7】
前記センサは、所定の基準高さ位置に配置され、前記ヘッド部を下降させることで前記ヘッド部との接触を検知する接触検知スイッチを含み、
前記制御部は、前記接触検知スイッチによる検知信号に基づいて、前記基準高さ位置に対する上下方向の前記第1オフセット情報及び前記第2オフセット情報を取得する、
請求項1に記載の部品実装装置。
【請求項8】
前記センサは、前記ヘッド部により保持した電子部品を下方から撮像する部品撮像装置を含み、
前記制御部は、前記部品撮像装置による撮像画像に基づいて、前記部品撮像装置に対する水平方向の前記第1オフセット情報及び前記第2オフセット情報を取得する、
請求項1に記載の部品実装装置。
【請求項9】
前記センサは、前記ヘッド部により保持した電子部品の下面に対するレーザ光の反射に基づき電子部品の平面性を検出する下面認識装置を含み、
前記制御部は、前記下面認識装置の検出結果に基づいて、前記下面認識装置に対する水平方向の前記第1オフセット情報及び前記第2オフセット情報を取得する、
請求項1に記載の部品実装装置。
【請求項10】
直線状に配列された3以上のヘッド部を有するヘッドユニットを備えた部品実装装置における前記ヘッド部のオフセット情報取得方法であって、
前記ヘッド部のオフセット位置に関する情報を出力するセンサの出力に基づいて、3以上の前記ヘッド部のうちの第1ヘッド部の第1オフセット情報を取得するステップと、
前記センサの出力に基づいて、3以上の前記ヘッド部のうちの第2ヘッド部の第2オフセット情報を取得するステップと、
前記第1オフセット情報及び前記第2オフセット情報に基づいて、前記第1ヘッド部及び前記第2ヘッド部以外の他の前記ヘッド部のオフセット情報を生成するステップと、を備える、
オフセット情報取得方法。
発明の詳細な説明
【技術分野】
【0001】
本明細書で開示する技術は、部品実装装置及びオフセット情報取得方法に関する。
続きを表示(約 2,400 文字)
【背景技術】
【0002】
特許文献1に開示されているように、部品実装装置に係る技術分野において、部品搭載を行う複数のヘッド部を有するヘッドユニットを、移動機構に対して着脱可能にした装置が知られている。部品実装装置に搭載されているヘッドユニットを新たなヘッドユニットに交換できる。
【先行技術文献】
【特許文献】
【0003】
特開2014-207331号公報
【発明の概要】
【発明が解決しようとする課題】
【0004】
ヘッドユニットを交換した場合、個体差や組付け誤差に起因してヘッドユニットのそれぞれのヘッド部の位置が変化するため、部品実装作業の前に、部品実装装置の各ヘッド部のオフセット情報が1つずつ取得される。ヘッドユニットに設けられたヘッド部の数が多いと、全てのヘッド部についてのオフセット情報の取得に必要な時間が長くなる。そのため、ヘッド部のオフセット情報の取得に要する時間を短縮することが望まれる。
【0005】
本明細書で開示する技術は、ヘッド部のオフセット情報の取得に要する時間を短縮することを目的とする。
【課題を解決するための手段】
【0006】
本明細書は、部品実装装置を開示する。部品実装装置は、電子部品を保持するノズルを有し、直線状に配列された3以上のヘッド部を含むヘッドユニットと、前記ヘッドユニットが着脱可能に取り付けられるヘッド保持体を有し、前記ヘッドユニットを水平方向に移動させるヘッド移動機構と、前記ヘッド部のオフセット位置に関する情報を出力するセンサと、前記ヘッドユニット及び前記ヘッド移動機構を制御する制御部と、を備え、前記制御部は、前記センサの出力に基づいて、前記ヘッド部のうちの第1ヘッド部の第1オフセット情報と第2ヘッド部の第2オフセット情報とを取得し、前記第1オフセット情報及び前記第2オフセット情報に基づいて、前記第1ヘッド部及び前記第2ヘッド部以外の他の前記ヘッド部のオフセット情報を生成する。
【0007】
本明細書は、オフセット情報取得方法を開示する。オフセット情報取得方法は、直線状に配列された3以上のヘッド部を有するヘッドユニットを備えた部品実装装置における前記ヘッド部のオフセット情報取得方法であって、前記ヘッド部のオフセット位置に関する情報を出力するセンサの出力に基づいて、3以上の前記ヘッド部のうちの第1ヘッド部の第1オフセット情報を取得するステップと、前記センサの出力に基づいて、3以上の前記ヘッド部のうちの第2ヘッド部の第2オフセット情報を取得するステップと、前記第1オフセット情報及び前記第2オフセット情報に基づいて、前記第1ヘッド部及び前記第2ヘッド部以外の他の前記ヘッド部のオフセット情報を生成するステップと、を備える。
【発明の効果】
【0008】
本明細書で開示する技術によれば、ヘッド部のオフセット情報の取得に要する時間を短縮することができる。
【図面の簡単な説明】
【0009】
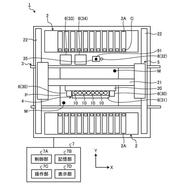
図1は、実施形態に係る部品実装装置を模式的に示す図である。
図2は、実施形態に係る制御装置を示すハードウエア構成図である。
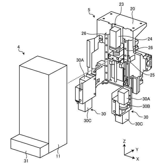
図3は、実施形態に係るヘッドユニットの着脱構造を説明する模式図である。
図4は、実施形態に係るヘッドユニットのヘッド部を説明する模式図である。
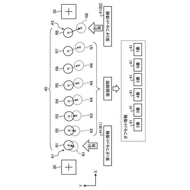
図5は、各ヘッド部のXY方向のオフセット情報を示した模式図である。
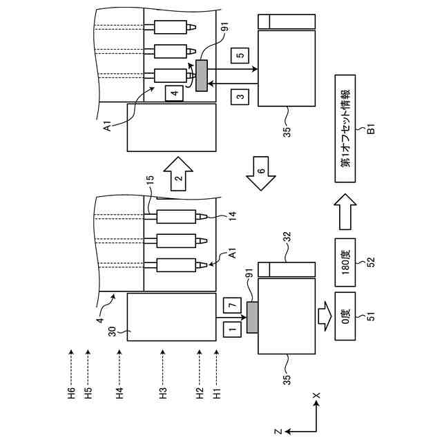
図6は、基板撮像装置に対するオフセット情報の取得動作を示した模式図である。
図7は、治具部品の撮像画像を説明する模式図である。
図8は、ヘッドユニットの高さ位置毎のオフセット情報の取得を説明する図である。
図9は、それぞれの高さにおけるオフセット情報の取得方法を示した図である。
図10は、レーザ認識装置に対するオフセット情報の取得方法を示した模式図である。
図11は、接触検知スイッチに対するオフセット情報の取得方法を示した模式図である。
図12は、部品撮像装置に対するオフセット情報の取得動作を示した模式図である。
図13は、実施形態に係る下面認識装置を示した模式図である。
図14は、下面認識装置に対するオフセット情報の取得動作を示した模式図である。
図15は、実施形態に係るオフセット情報取得方法を示すフローチャートである。
【発明を実施するための形態】
【0010】
以下、実施形態について図面を参照しながら説明する。実施形態においては、3次元直交座標系を設定し、3次元直交座標系を参照しながら各部の位置関係について説明する。所定面内のX軸に平行な方向をX軸方向とする。所定面内においてX軸と直交するY軸に平行な方向をY軸方向とする。X軸及びY軸のそれぞれと直交するZ軸に平行な方向をZ軸方向とする。X軸を中心とする回転方向又は傾斜方向をθX方向とする。Y軸を中心とする回転方向又は傾斜方向をθY方向とする。Z軸を中心とする回転方向又は傾斜方向をθZ方向とする。X軸及びY軸を含む平面は、XY平面である。Y軸及びZ軸を含む平面は、YZ平面である。Z軸及びX軸を含む平面は、ZX平面である。所定面は、XY平面である。実施形態において、所定面は、水平面に平行であることとする。X軸方向は、前後方向である。Y軸方向は、左右方向である。Z軸方向は、上下方向である。+X方向は、右方である。-X方向は、左方である。+Y方向は、後方(奥)である。-Y方向は、前方(手前)である。+Z方向は、上方である。-Z方向は、下方である。
(【0011】以降は省略されています)
この特許をJ-PlatPat(特許庁公式サイト)で参照する
関連特許
JUKI株式会社
ミシン
1か月前
JUKI株式会社
ミシン
1か月前
JUKI株式会社
ミシン
2か月前
JUKI株式会社
ミシン
3か月前
JUKI株式会社
ゴム繋ぎ装置
1か月前
JUKI株式会社
ミシンの布押え
1か月前
JUKI株式会社
差動送りミシン
2か月前
JUKI株式会社
取得装置及び二本針ミシン
1か月前
JUKI株式会社
部品実装装置及びオフセット情報取得方法
1か月前
JUKI株式会社
3次元計測装置、部品実装装置、及び3次元計測方法
1か月前
JUKI株式会社
3次元計測装置、部品実装装置、及び3次元計測方法
1か月前
JUKI株式会社
3次元計測装置、部品実装装置、及び3次元計測方法
1か月前
JUKI株式会社
検査装置、サービス提供方法及び検査プログラムの提供方法
3か月前
個人
電子部品の実装方法
2か月前
個人
非衝突型ガウス加速器
3か月前
日本精機株式会社
回路基板
2か月前
愛知電機株式会社
装柱金具
1か月前
個人
電気式バーナー
1か月前
日星電気株式会社
面状ヒータ
20日前
日本放送協会
基板固定装置
2か月前
キヤノン株式会社
電子機器
2か月前
イビデン株式会社
配線基板
1か月前
アイホン株式会社
電気機器
2か月前
メクテック株式会社
配線基板
3か月前
個人
静電気中和除去装置
1か月前
東レ株式会社
霧化状活性液体供給装置
3か月前
サクサ株式会社
開き角度規制構造
1か月前
株式会社レクザム
剥離装置
1か月前
イビデン株式会社
プリント配線板
2か月前
イビデン株式会社
配線基板
3か月前
サクサ株式会社
筐体の壁掛け構造
3か月前
FDK株式会社
基板
2か月前
シャープ株式会社
加熱機器
1か月前
株式会社デンソー
電子装置
28日前
株式会社デンソー
電子装置
1か月前
株式会社デンソー
電子装置
6日前
続きを見る
他の特許を見る