TOP
|
特許
|
意匠
|
商標
特許ウォッチ
Twitter
他の特許を見る
公開番号
2025163417
公報種別
公開特許公報(A)
公開日
2025-10-29
出願番号
2024066636
出願日
2024-04-17
発明の名称
ミシン
出願人
JUKI株式会社
代理人
個人
,
個人
主分類
D05B
79/00 20060101AFI20251022BHJP(縫製;刺しゅう;タフティング)
要約
【課題】縫製を行う範囲を適正に提示する。
【解決手段】針落ち位置にスリット光Lを照射するマーキングライト50が搭載されたミシン100において、マーキングライトは、スリット光を出射する発光部と、スリット光の一端部を遮蔽する第一遮蔽体54と、スリット光の他端部を遮蔽する第二遮蔽体55とを備え、第一遮蔽体は、可動して針落ち位置に照射されるスリット光の長手方向に沿って一端部の遮蔽する範囲を調節可能とし、第二遮蔽体は、可動して針落ち位置に照射されるスリット光の長手方向に沿って他端部の遮蔽される範囲を調節可能とする。
【選択図】図4
特許請求の範囲
【請求項1】
針落ち位置にスリット光を照射するマーキングライトが搭載されたミシンにおいて、
前記マーキングライトは、
スリット光を出射する発光部と、
前記スリット光の一端部を遮蔽する第一遮蔽体と、
前記スリット光の他端部を遮蔽する第二遮蔽体とを備え、
前記第一遮蔽体は、可動して前記針落ち位置に照射される前記スリット光の長手方向に沿って前記一端部の遮蔽する範囲を調節可能とし、
前記第二遮蔽体は、可動して前記針落ち位置に照射される前記スリット光の長手方向に沿って前記他端部の遮蔽される範囲を調節可能とすることを特徴とするミシン。
続きを表示(約 630 文字)
【請求項2】
前記マーキングライトは、ミシンカバーの内側に格納配置されていることを特徴とする請求項1に記載のミシン。
【請求項3】
前記第一遮蔽体及び前記第二遮蔽体は、いずれも、前記スリット光を遮蔽する先端部が、前記スリット光の進行方向における厚さが薄くなるように先鋭化されていることを特徴とする請求項1に記載のミシン。
【請求項4】
前記第一遮蔽体と前記第二遮蔽体とをそれぞれ可動後の位置で固定的に保持する保持機構を備えること特徴とする請求項1に記載のミシン。
【請求項5】
前記保持機構は、手動操作で前記第一遮蔽体又は前記第二遮蔽体を固定する締結部材を有することを特徴とする請求項4に記載のミシン。
【請求項6】
前記マーキングライトが、前記第一遮蔽体を任意の位置に移動位置決めする第1モータと、前記第二遮蔽体を任意の位置に移動位置決めする第2モータとを有することを特徴とする請求項1に記載のミシン。
【請求項7】
前記第1モータと前記第2モータの制御を行う制御装置を備え、
前記制御装置は、縫製を行う範囲又は寸法を定めた設定データに基づいて、前記第1モータと前記第2モータとを制御して、前記設定データに対応する範囲で、前記スリット光の長手方向に沿って前記一端部の遮蔽される範囲と前記他端部の遮蔽される範囲とを調節することを特徴とする請求項6に記載のミシン。
発明の詳細な説明
【技術分野】
【0001】
本発明は、マーキングライトを備えるミシンに関する。
続きを表示(約 1,800 文字)
【背景技術】
【0002】
ミシンは、布押さえを上方に引き上げて解放状態とし、針板上に被縫製物を配置すると、針穴が隠れてしまうので、被縫製物に対して縫製が行われる位置を正確に把握することが困難であった。
このため、上記の問題を解決するために、針板の上に置かれた被縫製物に対して縫製が行われる位置を照射するマーキングライトをミシンに搭載していた(例えば、特許文献1参照)。
【先行技術文献】
【特許文献】
【0003】
実開平02-126580号公報
【発明の概要】
【発明が解決しようとする課題】
【0004】
しかしながら、上記マーキングライトは、縫いが行われる位置に対して基準となる位置を示すに過ぎなかった。
このため、例えば、縫製が行われる範囲が決まっているような縫いの場合に、その範囲を適正に示すことはできなかった。
【0005】
本発明は、縫製を行う範囲を適正に提示することをその目的とする。
【課題を解決するための手段】
【0006】
本発明は、
針落ち位置にスリット光を照射するマーキングライトが搭載されたミシンにおいて、
前記マーキングライトは、
スリット光を出射する発光部と、
前記スリット光の一端部を遮蔽する第一遮蔽体と、
前記スリット光の他端部を遮蔽する第二遮蔽体とを備え、
前記第一遮蔽体は、可動して前記針落ち位置に照射される前記スリット光の長手方向に沿って前記一端部の遮蔽する範囲を調節可能とし、
前記第二遮蔽体は、可動して前記針落ち位置に照射される前記スリット光の長手方向に沿って前記他端部の遮蔽される範囲を調節可能とすることを特徴とする。
【発明の効果】
【0007】
本発明に係るマーキングライトは、縫製を行う位置だけでなく、縫製が行われる範囲まで適正に提示することが可能となる。
【図面の簡単な説明】
【0008】
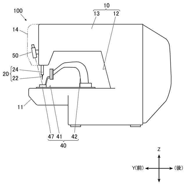
発明の実施形態にかかるミシンの側面図である。
ミシンの全体構成を示すブロック図である。
ミシンの面部側の斜視図である。
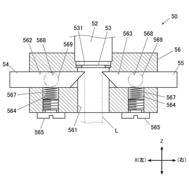
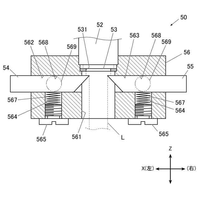
マーキングライトにおけるスリット光の光軸とX軸方向とに平行な断面に沿った断面図である。
図5(A)はスリット光の右端部が遮蔽されて中間位置からの長さが短くなる照射光を示す図、図5(B)はスリット光の左端部が遮蔽されて中間位置からの長さが短くなる例を示す図である。
操作入力部の表示部に表示される閂止め縫いの縫製を行うための設定画面の表示例である。
縫製パターンの一例であり、当該縫製パターンにおける設定項目を示した説明図である。
【発明を実施するための形態】
【0009】
[実施形態の概要]
本発明の実施の形態を図面に基づいて説明する。
本実施形態のミシン100として、いわゆる閂止めミシンを例示する。
図1はミシン100の側面図、図2は全体構成を示すブロック図、図3はミシン100の面部側の斜視図である。
【0010】
ミシン100は、縫い針を保持する針棒24の上下動を行う針上下動機構20と、被縫製物を押さえて針板に沿った平面上で任意に位置決め可能な移動機構40と、釜機構と、マーキングライト50と、制御装置と、ミシン全体を支持するミシンフレーム10とを有する。
また、ミシン100は、一般的なミシンが有する糸調子装置、天秤機構と、糸切り装置とを有するが、これらは周知の構成と同じものなので説明を省略する。
なお、以下の説明では、ミシン100を水平面上に配置した状態で鉛直上下方向と一致する方向をZ軸方向、水平面上で互いに直交する一方の方向をX軸方向(図1の紙面に垂直となる方向)、他方の方向をY軸方向(図1の紙面左右方向)とする。また、Y軸方向の一端部側(図1の紙面左側)を「前」、Y軸方向の他端部側(図1の紙面右側)を「後」、X軸方向の一端部側(後述する図4の紙面左側)を「左」、X軸方向の他端部側(図4の紙面右側)を「右」という場合がある。
(【0011】以降は省略されています)
この特許をJ-PlatPat(特許庁公式サイト)で参照する
関連特許
JUKI株式会社
ミシン
1か月前
JUKI株式会社
ミシン
1か月前
JUKI株式会社
ミシン
2か月前
JUKI株式会社
ミシン
3か月前
JUKI株式会社
ゴム繋ぎ装置
1か月前
JUKI株式会社
ミシンの布押え
1か月前
JUKI株式会社
差動送りミシン
2か月前
JUKI株式会社
取得装置及び二本針ミシン
1か月前
JUKI株式会社
部品実装装置及びオフセット情報取得方法
1か月前
JUKI株式会社
3次元計測装置、部品実装装置、及び3次元計測方法
1か月前
JUKI株式会社
3次元計測装置、部品実装装置、及び3次元計測方法
1か月前
JUKI株式会社
3次元計測装置、部品実装装置、及び3次元計測方法
1か月前
JUKI株式会社
検査装置、サービス提供方法及び検査プログラムの提供方法
3か月前
個人
下糸連続供給装置
1か月前
株式会社バルダン
ミシン
1か月前
JUKI株式会社
ミシン
5か月前
JUKI株式会社
ミシン
1か月前
JUKI株式会社
ミシン
4か月前
ブラザー工業株式会社
ミシン
1か月前
ブラザー工業株式会社
ボビン
1か月前
ブラザー工業株式会社
ミシン
1か月前
ブラザー工業株式会社
ミシン
6か月前
ブラザー工業株式会社
ミシン
5か月前
ブラザー工業株式会社
縫製装置
1か月前
個人
縫製方法
3か月前
個人
ニードルパンチ針を使用した仮留め器具
1か月前
JUKI株式会社
上下送りミシン
4か月前
JUKI株式会社
差動送りミシン
5か月前
JUKI株式会社
ミシンの布押え
1か月前
ブラザー工業株式会社
糸巻回装置
1か月前
ブラザー工業株式会社
糸巻回装置
1か月前
JUKI株式会社
ボタン付け縫製装置
5か月前
ブラザー工業株式会社
ミシンフレーム
4か月前
株式会社PEGASUS
偏平縫いミシンの押え装置
1か月前
株式会社PEGASUS
偏平縫いミシンの送り装置
1か月前
JUKI株式会社
縁かがり縫いミシン
5か月前
続きを見る
他の特許を見る