TOP
|
特許
|
意匠
|
商標
特許ウォッチ
Twitter
他の特許を見る
公開番号
2025155048
公報種別
公開特許公報(A)
公開日
2025-10-14
出願番号
2024058366
出願日
2024-03-30
発明の名称
ミシン
出願人
株式会社バルダン
代理人
個人
主分類
D05B
49/02 20060101AFI20251003BHJP(縫製;刺しゅう;タフティング)
要約
【課題】天秤休止装置を小型化し、天秤駆動機構の従来機構からの変更を減らすことで、天秤休止装置の従来ミシンヘッドへの後付け・取り外し・メンテナンスを容易化する。
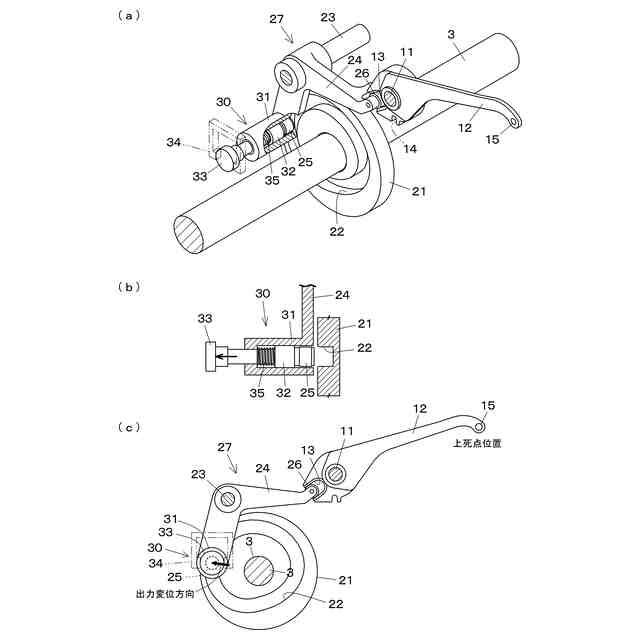
【解決手段】天秤駆動機構27が、主軸3とともに回転するカム溝22を有するカム21と、該カム溝に係入するカムフォロア25と天秤12に作用する作用部26とを有する天秤駆動レバー24とを含む。天秤休止装置30が、天秤駆動レバーに設けられたスライドガイド31と、該スライドガイド内をカム方向及び反カム方向にスライド可能に設けられ、先端部にカムフォロアが設けられたフォロア軸32と、フォロア軸を反カム方向へ引いてカムフォロアをカム溝から引き抜く休止手段33と、フォロア軸をカム方向へ押してカムフォロアをカム溝に係入させる休止解除手段35とを含む。
【選択図】図4
特許請求の範囲
【請求項1】
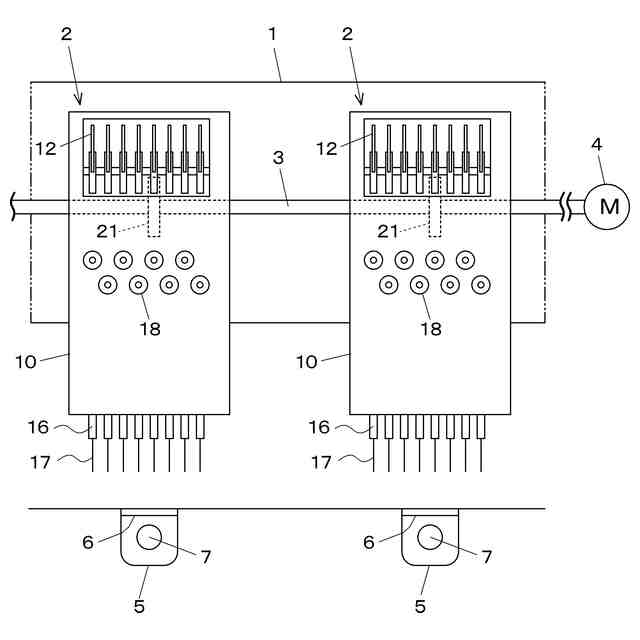
複数のミシンヘッド(2)を備え、一部のミシンヘッドの稼働を休止させる時には該ミシンヘッドの針棒(16)及び天秤(12)の駆動を休止させるミシンにおいて、
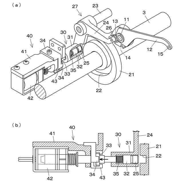
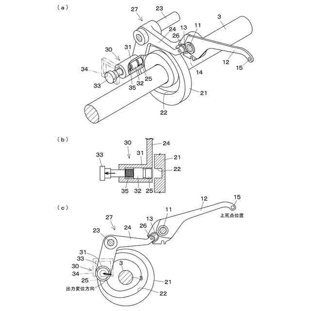
天秤駆動機構(27)が、主軸(3)とともに回転するカム溝(22)を有するカム(21)と、該カム溝に係入するカムフォロア(25)と天秤に作用する作用部(26)とを有する天秤駆動レバー(24)とを含み、
天秤休止装置(30)が、天秤駆動レバーに設けられたスライドガイド(31)と、該スライドガイド内をカム方向及び反カム方向にスライド可能に設けられ、先端部にカムフォロアが設けられたフォロア軸(32)と、フォロア軸を反カム方向へ引いてカムフォロアをカム溝から引き抜く休止手段(33,40)と、フォロア軸をカム方向へ押してカムフォロアをカム溝に係入させる休止解除手段(35)とを含むことを特徴とするミシン。
続きを表示(約 420 文字)
【請求項2】
休止手段(33)が、フォロア軸(32)を手動により引くための、フォロア軸の後部である請求項1記載のミシン。
【請求項3】
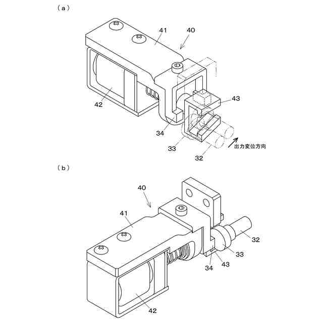
休止手段(40)が、フォロア軸(32)を電磁力又は流体圧により引くための、フォロア軸の後部に係合する係合部(43)を備えた電磁力装置又は流体圧装置である請求項1記載のミシン。
【請求項4】
係合部(43)が、フォロア軸(32)がカム溝(22)の出力変位方向に変位したときに、該フォロア軸の後部に係合するものである請求項3記載のミシン。
【請求項5】
休止解除手段(35)が、ばねである請求項1~4のいずれか一項に記載のミシン。
【請求項6】
天秤休止装置(30)が、フォロア軸(32)を引いた位置でカム溝(22)の出力変位方向及びその反対方向にずれないように止めるずれ止め手段(34)を含む請求項1~4のいずれか一項に記載のミシン。
発明の詳細な説明
【技術分野】
【0001】
本発明は、複数のミシンヘッドを備えたミシンに関するものである。
続きを表示(約 1,700 文字)
【背景技術】
【0002】
複数のミシンヘッドを備えたミシンでは、全ミシンヘッドを貫通する共通の駆動源である主軸の回転に基づいて、全ミシンヘッドの針棒及び天秤を駆動して使用するのが通常であるが、一部のミシンヘッドを休止させて使用する場合がある。一般的に、休止させるミシンヘッドでは、主軸と針棒の縁を切り、針棒の駆動を休止させて縫製を行わないようにするだけで、天秤は駆動されて揺動を続ける。
【0003】
図8に示すように、天秤駆動機構50は、主軸53とともに回転するカム溝52を有するカム51と、該カム溝52に係入するカムフォロア55と天秤57に作用する作用部56とを有する天秤駆動レバー54とで構成され、溝カム52内をカムフォロア55が転がり、その出力変位により天秤駆動レバー54が揺動することで、カム51の回転による動力を天秤57に伝えている。天秤57は、同図(b)に示す上死点位置と、(c)に示す下死点位置との間を、生地に針が落ちる機械動作(例えば200~300回/分)と同じ頻度で、揺動を繰り返す。
【0004】
これにより、縫製を行わないために送られない糸の同じ箇所を天秤57がしごき続けてしまい、糸を痛める、糸が切れる等の原因となる。糸が切れると、機械を止めて糸を結び直す手間が発生し、生産効率の低下につながる。そこで、休止させるミシンヘッドで天秤の揺動も休止させることが、従来より考えられている。
【0005】
特許文献1には、偏芯軸を回動して偏芯軸部を天秤に対して近接・離間させる軸移動機構を制御して、駆動アームの従動部と駆動カムのカム溝とを係合させた状態で、該駆動アームの駆動部を天秤の被駆動部から離脱させて該天秤を揺動停止し、天秤保持機構における保持動作により天秤を略上死点位置で姿勢保持する、天秤休止装置が開示されている。
【0006】
特許文献2には、天秤駆動レバーを、カムフォロワをカム溝に係合させた有する第1レバーと、天秤に係合させた第2レバーと、一端部が第2レバーに軸支され他端部を第1レバーに対し係脱自在に連繋させた連繋レバーとに分割し、休止時には連繋レバーを第1レバーから離脱させる、天秤休止装置が開示されている。
【0007】
これらの天秤休止装置によると、天秤休止時に、特許文献1では駆動アームが、また特許文献2では第1レバーが、駆動カムに連結されたまま揺動を続ける(すなわち休止させる部品が少ない)ので、その揺動による振動・音の発生があり、また部品の短寿命化につながる。また、天秤駆動機構を従来機構から多々変更する必要があるため、これらの天秤休止装置を従来ミシンヘッドに後付けしたり、後付け後に取り外したりすることが困難であり、メンテナンスにも不利である。
【0008】
また、特許文献3には、揺動部材(天秤駆動レバー)を可動軸に可動軸と共に軸方向に移動可能に取り付け、その移動を電磁ソレノイドで行うことで、カムフォロアを天秤駆動レバーごと移動させて、カムのカム溝から脱出させる、天秤休止装置が開示されている。
【0009】
この天秤休止装置によると、天秤休止時に、天秤駆動レバーの揺動も止まるので、振動・音の発生が減り、また部品の短寿命化も防げる。しかし、カムフォロアをカム溝から脱出させるのに天秤駆動レバーごと移動させるので、大容量・大型の電磁ソレノイドが必要であり、また、天秤駆動レバーの軸を可動軸にするなど天秤駆動機構を従来機構から大きく変更する必要があるため、この天秤休止装置を従来ミシンヘッドに後付けしたり、後付け後に取り外したりすることが困難であり、メンテナンスにも不利である。
【先行技術文献】
【特許文献】
【0010】
特開平9-75569号公報
特開平10-57651号公報
特開平2-23988号公報
【発明の概要】
【発明が解決しようとする課題】
(【0011】以降は省略されています)
この特許をJ-PlatPat(特許庁公式サイト)で参照する
関連特許
株式会社バルダン
ミシン
23日前
個人
下糸連続供給装置
10日前
株式会社バルダン
ミシン
23日前
JUKI株式会社
ミシン
8日前
JUKI株式会社
ミシン
4か月前
ブラザー工業株式会社
ミシン
27日前
ブラザー工業株式会社
ミシン
4か月前
ブラザー工業株式会社
ボビン
29日前
ブラザー工業株式会社
ミシン
27日前
ブラザー工業株式会社
縫製装置
29日前
個人
ニードルパンチ針を使用した仮留め器具
14日前
個人
縫製方法
2か月前
JUKI株式会社
ミシンの布押え
16日前
JUKI株式会社
上下送りミシン
4か月前
ブラザー工業株式会社
糸巻回装置
29日前
ブラザー工業株式会社
糸巻回装置
29日前
JUKI株式会社
ミシンの糸切り装置
4か月前
JUKI株式会社
ボタン付け縫製装置
4か月前
ブラザー工業株式会社
ミシンフレーム
3か月前
株式会社PEGASUS
偏平縫いミシンの押え装置
27日前
株式会社PEGASUS
偏平縫いミシンの送り装置
27日前
JUKI株式会社
被縫製物の位置決め装置
3か月前
JUKI株式会社
ミシン
4か月前
KLASS株式会社
畳縫着装置
4か月前
JUKI株式会社
ミシン
1か月前
JUKI株式会社
ミシン
27日前
KLASS株式会社
畳縫着装置
1か月前
JUKI株式会社
ミシン
2か月前
JUKI株式会社
取得装置及び二本針ミシン
21日前
株式会社TISM
ミシンにおける紐状素材の案内装置
4か月前
星鋭縫じん機股ふん有限公司
ミシン
3か月前
ブラザー工業株式会社
ミシン及びミシン制御方法
1か月前
JUKI株式会社
ゴム繋ぎ装置
28日前
ブラザー工業株式会社
移動検出装置及び縫製システム
29日前
JUKI株式会社
差動送りミシン
1か月前
JUKI株式会社
縫製管理システム
3か月前
続きを見る
他の特許を見る