TOP
|
特許
|
意匠
|
商標
特許ウォッチ
Twitter
他の特許を見る
10個以上の画像は省略されています。
公開番号
2025086193
公報種別
公開特許公報(A)
公開日
2025-06-06
出願番号
2023200094
出願日
2023-11-27
発明の名称
ミシン
出願人
ブラザー工業株式会社
代理人
個人
,
個人
主分類
D05B
35/12 20060101AFI20250530BHJP(縫製;刺しゅう;タフティング)
要約
【課題】従来よりも多彩な投影画像を投影が可能なミシンを提供すること。
【解決手段】ミシン1は、針棒15、押え棒16、脚柱12、ベッド11、アーム13、及びプロジェクタ2を備える。脚柱12は、上下方向に延びる。ベッド11は、脚柱12の下端から、上下方向に直交する延出方向に延びる。アーム13は、ベッド11の上方において、脚柱12の上端からベッド11と平行に延出方向に延びる。延出方向及び上下方向と直交し、針棒15から押え棒16に向かう方向を順送方向Fと定義し、順送方向Fとは反対の方向を逆送方向Bと定義した場合、プロジェクタ2は、第一レンズ23と、第一レンズ23に対して順送方向F又は逆送方向Bに配置された光源とを有する。投影領域のベッド11の短手方向D1の長さは、投影領域のベッド11の長手方向の長さよりも長い。
【選択図】図3
特許請求の範囲
【請求項1】
縫針を装着可能な針棒と、
押え足を装着可能な押え棒と、
上下方向に延びる脚柱と、
前記脚柱の下端から、前記上下方向に直交する延出方向に延びるベッドと、
前記ベッドの上方において、前記脚柱の上端から前記ベッドと平行に前記延出方向に延びるアームと、
前記アームのうちの、前記針棒よりも前記延出方向に設置され、前記ベッド上の投影領域に投影画像を投影するプロジェクタと
を備え、
前記延出方向及び前記上下方向と直交し、前記針棒から前記押え棒に向かう方向を順送方向と定義し、前記順送方向とは反対の方向を逆送方向と定義した場合、
前記プロジェクタは、
第一レンズと、
前記第一レンズに対して前記順送方向又は前記逆送方向に配置され、前記第一レンズに導かれる光を出力する光源と
を有し、
前記投影領域の前記ベッドの短手方向の長さは、前記投影領域の前記ベッドの長手方向の長さよりも長いことを特徴とするミシン。
続きを表示(約 1,600 文字)
【請求項2】
前記ベッドの上面に設けられた針板を更に備え、
前記投影領域は、前記ベッド上の前記針棒の下方に位置する針落ち位置を含み、
前記投影領域の前記順送方向の端は、前記針板の前記順送方向の端よりも前記順送方向に位置することを特徴とする請求項1に記載のミシン。
【請求項3】
前記アームは、前記脚柱の上端から前記延出方向に延びるアームフレームを有し、
前記アームフレームは、熱伝導性を有し、
前記アームフレームは、前記針棒に対して前記延出方向に配置される固定面であって、前記プロジェクタを固定する前記固定面を有し、
前記プロジェクタは、前記プロジェクタで発生された熱を伝達可能に、前記アームフレームの前記固定面に固定されることを特徴とする請求項1に記載のミシン。
【請求項4】
前記固定面は、前記針棒に対して前記順送方向に位置し、
前記アームフレームは、
前記固定面とは反対側の放熱面と、
前記放熱面から前記順送方向に延びる放熱フィンと
を有することを特徴とする請求項3に記載のミシン。
【請求項5】
前記ベッド上の撮像領域を撮像するイメージセンサを更に備え、
前記イメージセンサは、第二レンズを有し、
前記プロジェクタの前記第一レンズは、前記イメージセンサの前記第二レンズよりも前記延出方向に設置され、
前記プロジェクタの前記第一レンズから前記ベッドの上面までの前記上下方向の距離をプロジェクタ高さとし、前記イメージセンサの前記第二レンズから前記ベッドの上面までの前記上下方向の距離をカメラ高さとした場合、前記プロジェクタ高さは前記カメラ高さの0.8倍から1.2倍の範囲の距離であり、
前記針棒から前記プロジェクタの前記第一レンズの中心までの前記逆送方向の距離をプロジェクタ距離とし、前記針棒から前記イメージセンサの前記第二レンズの中心までの前記逆送方向の距離をカメラ距離とした場合、前記プロジェクタ距離は前記カメラ距離の0.8倍から1.2倍の範囲の距離であり、
前記針棒に対し、前記プロジェクタの前記第一レンズは、前記イメージセンサの前記第二レンズよりも前記延出方向に配置されることを特徴とする請求項1に記載のミシン。
【請求項6】
前記投影領域は、前記ベッドの前記短手方向に延びる辺が長辺となり、前記ベッドの前記長手方向に延びる辺が短辺となる長方形状であることを特徴とする請求項1に記載のミシン。
【請求項7】
前記第一レンズは、偏心光学系投影レンズであり、
前記偏心光学系投影レンズの外径中心線と前記ベッドとの交点は、前記投影領域の中心よりも前記延出方向に位置することを特徴とする請求項1に記載のミシン。
【請求項8】
前記偏心光学系投影レンズの前記外径中心線の前記上下方向に対する傾きは、0度以上且つ10度以下であることを特徴とする請求項7に記載のミシン。
【請求項9】
前記投影領域の前記ベッドの前記短手方向の長さを投影領域長さとし、前記撮像領域の前記ベッドの前記短手方向の長さを撮像領域長さとした場合、前記投影領域長さは前記撮像領域長さの0.8倍から1.2倍の範囲の長さに収まることを特徴とする請求項5に記載のミシン。
【請求項10】
前記ベッドの前記短手方向において、前記針落ち位置から前記投影領域の前記逆送方向の端までの距離を逆送距離とし、前記針落ち位置から前記投影領域の前記順送方向の端までの距離を順送距離とした場合、前記逆送距離は前記順送距離の1.5倍から2.0倍の距離であることを特徴とする請求項2に記載のミシン。
(【請求項11】以降は省略されています)
発明の詳細な説明
【技術分野】
【0001】
本発明は、ミシンに関する。
続きを表示(約 2,300 文字)
【背景技術】
【0002】
特許文献1のミシンは、ベッド、アーム、針棒、移送機構、プロジェクタ、及びカメラを備える。移送機構は、被縫製物を移送可能である。プロジェクタは、アームの頭部に設けられ、投影画像の画像光が出射される第一レンズ、及び第一レンズに導かれる光を出力する光源であるランプを有し、ベッドの投影領域に向けて投影画像を投影する。カメラは、頭部に設けられ、撮像対象において反射された反射光が入射される第二レンズを有し、撮像対象を撮像する。プロジェクタの第一レンズ、及びカメラの第二レンズは、針棒よりも左側、かつ前側に設けられる。投影領域は、左右方向に長い長方形状である。
【先行技術文献】
【特許文献】
【0003】
特開2020-787号公報
【発明の概要】
【発明が解決しようとする課題】
【0004】
従来のミシンにおいて、より多彩な投影画像を投影したいという要望がある。
【0005】
本発明の目的は、従来よりも多彩な投影画像を投影可能なミシンを提供することである。
【課題を解決するための手段】
【0006】
本発明の一態様に係るミシンは、縫針を装着可能な針棒と、押え足を装着可能な押え棒と、上下方向に延びる脚柱と、前記脚柱の下端から、前記上下方向に直交する延出方向に延びるベッドと、前記ベッドの上方において、前記脚柱の上端から前記ベッドと平行に前記延出方向に延びるアームと、前記アームのうちの、前記針棒よりも前記延出方向に設置され、前記ベッド上の投影領域に投影画像を投影するプロジェクタとを備え、前記延出方向及び前記上下方向と直交し、前記針棒から前記押え棒に向かう方向を順送方向と定義し、前記順送方向とは反対の方向を逆送方向と定義した場合、前記プロジェクタは、第一レンズと、前記第一レンズに対して前記順送方向又は前記逆送方向に配置され、前記第一レンズに導かれる光を出力する光源とを有し、前記投影領域の前記ベッドの短手方向の長さは、前記投影領域の前記ベッドの長手方向の長さよりも長い。一般的なミシンでは、ベッドの短手方向が被縫製物を移動させる方向、すなわち縫目が形成される方向である。これに対し、本態様のミシンは、針棒よりも延出方向において、光源が第一レンズに対して順送方向又は逆送方向に配置される向きにプロジェクタを設置しているので、投影領域のベッドの短手方向の長さは、投影領域のベッドの長手方向の長さよりも長い。このため、縫目が形成される方向であるベッドの短手方向に長い模様を示す投影画像を投影することに適しており、従来よりも多彩な投影画像の投影に貢献する。
【図面の簡単な説明】
【0007】
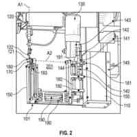
カバー56が装着された状態のミシン1の斜視図である。
カバー56が取り外された状態のミシン1の斜視図である。
カバー56が取り外された状態のミシン1の左側面図である。
カバー56が取り外された状態のミシン1の頭部14の正面図である。
アームフレーム7と、プロジェクタモジュール20との分解斜視図である。
アームフレーム7と、プロジェクタモジュール20との分解斜視図である。
アームフレーム7と、プロジェクタモジュール20との平面図である。
プロジェクタモジュール20の右側面図である。
プロジェクタ2の投影領域R1と、イメージセンサ8の撮像領域R2とを示すベッド11の平面図である。
【発明を実施するための形態】
【0008】
本発明の実施形態を、図面を参照して説明する。図1の上下方向、左下方向、右上方向、左上方向、右下方向が、各々、ミシン1の上下方向、左方向、右方向、後方向、前方向である。ベッド11及びアーム13の長手方向がミシン1の左右方向である。ミシン1において、脚柱12が配置されている側が右側である。脚柱12の伸長方向がミシン1の上下方向である。左方は延出方向Jと定義される。延出方向J及び上下方向と直交し、針棒15から押え棒16に向かう方向である後方は順送方向Fと定義される。順送方向Fの反対方向である前方は逆送方向Bと定義される。順送方向F及び逆送方向Bは、ベッド11の上面42の短手方向D1に沿った方向である。延出方向Jは、ベッド11の上面42の長手方向D2に沿った方向である。
【0009】
図1及び図2に示すように、ミシン1は、ベッド11、脚柱12、及びアーム13を備える。脚柱12は、上下方向に延びる。ベッド11は、脚柱12の下端から、上下方向に直交する延出方向Jに延びる。アーム13は、ベッド11の上方において、脚柱12の上端からベッド11と平行に延出方向Jに延びる。アーム13は、左端に頭部14を有する。
【0010】
ベッド11の上面42は、水平方向に広がり、針板41を備える。針板41には、図9に示すような、縫針17が挿通される針穴40が形成される。ベッド11には、図示しない送り機構、及び釜機構等が設けられる。送り機構及び釜機構は、針板41の下方に設けられる。送り機構は、送り歯を備える。送り機構は、送り歯を駆動し、被縫製物を所定の移動量で順送方向F又は逆送方向Bに移動させる。順送方向Fは、ユーザに対してミシン1が配置される方向に対応する。釜機構は、釜を備える。釜機構は、釜を駆動し、上糸を下糸に絡ませる。
(【0011】以降は省略されています)
この特許をJ-PlatPat(特許庁公式サイト)で参照する
関連特許
個人
下糸連続供給装置
28日前
株式会社バルダン
ミシン
1か月前
JUKI株式会社
ミシン
26日前
ブラザー工業株式会社
ミシン
1か月前
ブラザー工業株式会社
ミシン
1か月前
ブラザー工業株式会社
ボビン
1か月前
個人
縫製方法
3か月前
ブラザー工業株式会社
縫製装置
1か月前
個人
ニードルパンチ針を使用した仮留め器具
1か月前
ブラザー工業株式会社
糸巻回装置
1か月前
JUKI株式会社
ミシンの布押え
1か月前
ブラザー工業株式会社
糸巻回装置
1か月前
株式会社PEGASUS
偏平縫いミシンの送り装置
1か月前
株式会社PEGASUS
偏平縫いミシンの押え装置
1か月前
JUKI株式会社
ミシン
3か月前
KLASS株式会社
畳縫着装置
2か月前
JUKI株式会社
ミシン
1か月前
JUKI株式会社
取得装置及び二本針ミシン
1か月前
JUKI株式会社
ミシン
1か月前
ブラザー工業株式会社
ミシン及びミシン制御方法
2か月前
JUKI株式会社
ゴム繋ぎ装置
1か月前
JUKI株式会社
差動送りミシン
1か月前
ブラザー工業株式会社
移動検出装置及び縫製システム
1か月前
JUKI株式会社
縫製管理システム
3か月前
株式会社TOK
ミシンの点検時安全装置
1か月前
ブラザー工業株式会社
縫製支援方法、縫製支援プログラム、記憶媒体及び縫製装置
1か月前
ブラザー工業株式会社
縫製支援方法、縫製支援プログラム、記憶媒体及び縫製装置
1か月前
ブラザー工業株式会社
制御パラメータ生成方法、制御パラメータ生成プログラム及び記憶媒体
1か月前
デュルコップ アドラー ゲーエムベーハー
ミシン、そのようなミシンを有する縫製ユニット及びミシンの操作方法
19日前
インティヴァ プロダクツ, エルエルシー
ロボット縫製アセンブリの為の旋回式下部アーム
1か月前
他の特許を見る