TOP
|
特許
|
意匠
|
商標
特許ウォッチ
Twitter
他の特許を見る
10個以上の画像は省略されています。
公開番号
2025156077
公報種別
公開特許公報(A)
公開日
2025-10-14
出願番号
2025048472
出願日
2025-03-24
発明の名称
フェンス、フェンスの施工方法、外構製品、及び外構製品の施工方法
出願人
積水樹脂株式会社
,
株式会社TOKO
代理人
弁理士法人藤本パートナーズ
主分類
E04H
17/16 20060101AFI20251002BHJP(建築物)
要約
【課題】ガタつきを抑制することができるフェンス、フェンスの施工方法、外構製品、及び外構製品の施工方法の提供。
【解決手段】支柱と、パネルと、前記パネルを前記支柱に対して前記前後方向の前側で支持すべく前記支柱に取り付けられる胴縁と、を備え、前記パネルは、パネル本体と、前記パネル本体の後面に設けられ、前記胴縁に支持されるパネル支持部と、を備え、前記パネル支持部は、前記パネル本体の後面に取り付けられるパネル前片部と、前記パネル前片部に対して、後方に離間して対向するパネル後片部と、前記前後方向で前記パネル前片部と前記パネル後片部とを連結するパネル連結部と、を備え、前記パネル前片部が前記胴縁に対して前側から当接し、前記パネル後片部が前記胴縁に対して後側から当接した状態で前記胴縁に支持される。
【選択図】図3
特許請求の範囲
【請求項1】
高さ方向に延設される支柱と、
前記高さ方向及び前記高さ方向に交差する長さ方向に広がり、前記高さ方向及び前記長さ方向に直交する前後方向に離れて配設される前面及び後面を備えるパネルと、
前記長さ方向に延設され、前記パネルを前記支柱に対して前記前後方向の前側で支持すべく前記支柱に取り付けられる胴縁と、を備え、
前記パネルは、
前記前面及び前記後面を構成するパネル本体と、
前記パネル本体の後面に設けられ、前記胴縁に支持されるパネル支持部と、を備え、
前記パネル支持部は、
前記パネル本体の後面に取り付けられるパネル前片部と、
前記パネル前片部に対して、後方に離間して対向するパネル後片部と、
前記前後方向で前記パネル前片部と前記パネル後片部とを連結するパネル連結部と、を備え、
前記パネル前片部が前記胴縁に対して前側から当接し、
前記パネル後片部が前記胴縁に対して後側から当接した状態で前記胴縁に支持される、フェンス。
続きを表示(約 3,500 文字)
【請求項2】
前記胴縁は、
前記パネル前片部が前方から当接する胴前片部と、
前記胴前片部に対して後方に離間して配置されて、前記パネル後片部が後方から当接する胴後片部と、を備え、
前記パネル前片部と前記パネル後片部との最大離間距離が、前記胴前片部と前記胴後片部との離間距離よりも小さい、
請求項1に記載のフェンス。
【請求項3】
前記パネル前片部が前記胴縁に対して当接する部分は、前記パネル後片部が前記胴縁に対して当接する部分に対して前記高さ方向で位置ずれして配置されている、
請求項1又は2に記載のフェンス。
【請求項4】
前記パネルは、前記長さ方向の長さが前記胴縁の前記長さ方向の長さよりも短く構成される単位パネルであって、前記長さ方向に複数並んで前記胴縁に支持される単位パネルを備え、
前記単位パネルは、
前記パネル本体を構成する単位パネル本体と、
前記パネル支持部を構成する単位パネル支持部と、を備え、
前記単位パネル支持部は、
前記パネル前片部を構成する単位パネル前片部と、
前記パネル後片部を構成する単位パネル後片部と、
前記パネル連結部を構成する単位パネル連結部と、を備える、請求項1又は2に記載のフェンス。
【請求項5】
高さ方向に延設され、前記高さ方向に交差する長さ方向に間隔をあけて配置される複数の支柱と、
前記高さ方向及び前記長さ方向に広がり、前記高さ方向及び前記長さ方向に直交する前後方向に離れて配設される前面及び後面を備えるパネルと、
前記長さ方向に延設され、前記パネルを前記支柱に対して前記前後方向の前側で支持すべく前記高さ方向の高い側で前記支柱に取り付けられる高位胴縁と、
前記長さ方向に延設され、前記パネルを前記支柱に対して前記前後方向の前側で支持すべく前記高さ方向の低い側で前記支柱に取り付けられる低位胴縁と、を備え、
前記パネルは、
前記前面及び前記後面を構成するパネル本体と、
前記パネル本体の後面の前記高さ方向の高い側に設けられ、前記高位胴縁に支持される高位パネル支持部と、
前記パネル本体の後面の前記高さ方向の低い側に設けられ、前記低位胴縁に支持される低位パネル支持部と、を備えた
フェンスの施工方法であって、
前記長さ方向で隣接する前記支柱間に取付けられた前記高位胴縁に、前記高位パネル支持部を支持させる第1支持工程と、
前記低位胴縁が前記隣接する支柱間に取付けられ、前記第1支持工程で支持された前記パネルの低位パネル支持部を前記低位胴縁に支持させた状態とする第2支持工程と、を含み、
前記第1支持工程では、前記パネル本体が、前記高さ方向の低部側ほど高部側より前方に配置されて、前記隣接する支柱に対して前記低部側ほど離間するように傾斜した状態で支持され、
前記第2支持工程では、前記傾斜した状態の前記パネル本体の低部を前記隣接する支柱に近づけて前記パネルが蓄勢された状態で、前記低位パネル支持部が前記低位胴縁に支持される、
フェンスの施工方法。
【請求項6】
前記高位パネル支持部は、
前記パネル本体の後面に取り付けられる高位パネル前片部と、
前記高位パネル前片部に対して、後方に離間して対向する高位パネル後片部と、を備え、
前記高位胴縁は、
前記高位パネル前片部が前方から当接する高位胴前片部と、
前記高位胴前片部に対して後方に離間して配置されて、前記高位パネル後片部が後方から当接する高位胴後片部と、を備え、
前記高位パネル前片部と前記高位パネル後片部との最大離間距離が、前記高位胴前片部と前記高位胴後片部との離間距離よりも小さい、
請求項5に記載のフェンスの施工方法。
【請求項7】
前記高位パネル支持部は、
前記パネル本体の後面に取り付けられる高位パネル前片部と、
前記高位パネル前片部に対して、後方に離間して対向する高位パネル後片部と、を備え、
前記高位パネル前片部が前記高位胴縁に対して当接する部分は、前記高位パネル後片部が前記高位胴縁に対して当接する部分に対して前記高さ方向で位置ずれして配置されている、
請求項5又は6に記載のフェンスの施工方法。
【請求項8】
前記パネルは、前記隣接する支柱間に前記長さ方向に並ぶ複数の単位パネルを備え、
前記単位パネルは、
前記パネル本体を構成する単位パネル本体と、
前記高位パネル支持部を構成する単位高位パネル支持部と、
前記低位パネル支持部を構成する単位低位パネル支持部と、を備え、
前記第1支持工程は、
前記隣接する支柱間に取り付けられた前記高位胴縁に前記複数の単位パネルを前記傾斜した状態で支持する工程であり、
前記第2支持工程は、
前記第1支持工程で支持した前記複数の単位パネルの単位低位パネル支持部に前記低位胴縁を係止する低位係止工程と、
前記低位係止工程で係止した前記低位胴縁を前記隣接する支柱間に固定する低位固定工程と、を含む、請求項5又は6に記載のフェンスの施工方法。
【請求項9】
高さ方向に延設される支柱と、
前記高さ方向及び前記高さ方向に交差する長さ方向に広がり、前記高さ方向及び前記長さ方向に直交する前後方向に離れて配設される前面及び後面を備えるパネルと、
前記長さ方向に延設され、前記パネルを前記支柱に対して前記前後方向の前側で支持すべく前記支柱に取り付けられる胴縁と、を備え、
前記パネルは、
前記前面及び前記後面を構成するパネル本体と、
前記パネル本体の後面に設けられ、前記胴縁に支持されるパネル支持部と、を備え、
前記パネル支持部は、
前記パネル本体の後面に取り付けられるパネル前片部と、
前記パネル前片部に対して、後方に離間して対向するパネル後片部と、
前記前後方向で前記パネル前片部と前記パネル後片部とを連結するパネル連結部と、を備え、
前記パネル前片部が前記胴縁に対して前側から当接し、
前記パネル後片部が前記胴縁に対して後側から当接した状態で前記胴縁に支持される、外構製品。
【請求項10】
高さ方向に延設され、前記高さ方向に交差する長さ方向に間隔をあけて配置される複数の支柱と、
前記高さ方向及び前記長さ方向に広がり、前記高さ方向及び前記長さ方向に直交する前後方向に離れて配設される前面及び後面を備えるパネルと、
前記長さ方向に延設され、前記パネルを前記支柱に対して前記前後方向の前側で支持すべく前記高さ方向の高い側で前記支柱に取り付けられる高位胴縁と、
前記長さ方向に延設され、前記パネルを前記支柱に対して前記前後方向の前側で支持すべく前記高さ方向の低い側で前記支柱に取り付けられる低位胴縁と、を備え、
前記パネルは、
前記前面及び前記後面を構成するパネル本体と、
前記パネル本体の後面の前記高さ方向の高い側に設けられ、前記高位胴縁に支持される高位パネル支持部と、
前記パネル本体の後面の前記高さ方向の低い側に設けられ、前記低位胴縁に支持される低位パネル支持部と、を備えた
外構製品の施工方法であって、
前記長さ方向で隣接する前記支柱間に取付けられた前記高位胴縁に、前記高位パネル支持部を支持させる第1支持工程と、
前記低位胴縁が前記隣接する支柱間に取付けられ、前記第1支持工程で支持された前記パネルの低位パネル支持部を前記低位胴縁に支持させた状態とする第2支持工程と、を含み、
前記第1支持工程では、前記パネル本体が、前記高さ方向の低部側ほど高部側より前方に配置されて、前記隣接する支柱に対して前記低部側ほど離間するように傾斜した状態で支持され、
前記第2支持工程では、前記傾斜した状態の前記パネル本体の低部を前記隣接する支柱に近づけて前記パネルが蓄勢された状態で、前記低位パネル支持部が前記低位胴縁に支持される、
外構製品の施工方法。
発明の詳細な説明
【技術分野】
【0001】
本発明は、住宅、工場、公共施設等の敷地境界部や隣地境界部に設けられるフェンス、フェンスの施工方法、外構製品、及び外構製品の施工方法に関する。
続きを表示(約 1,900 文字)
【背景技術】
【0002】
上記のフェンスとして、例えば、図9に示すように、上下に間隔をあけて配置した2本の胴縁901の間に、左右に間隔をあけて複数の縦格子902を配置した格子体が知られている(特許文献1)。この格子体は、支柱903を備えており、図10に示すように、縦格子902に固定された状態の胴縁901が支柱903の一側の見付け壁903aに固定されることで、支柱903に固定される。各胴縁901は、胴縁補助材904と胴縁材905とからなっている。
【0003】
胴縁補助材904は、垂直片906と、垂直片906の下端から見込み方向一側に向けて水平に突出する水平片907とからほぼL字型を成している。垂直片906の胴縁補助材904の内周側面には、上下に間隔をあけて、下向きに突出する鉤爪状をなす被係合部908a及び被係止部908bが各々設けられている。胴縁材905は、中空部を有し且つ断面略矩形状をなしている。また、胴縁材905における胴縁補助材904の垂直片906と対面する一側の垂直壁910には、上下に間隔をあけて、上向きに突出する係合部911a及び係止部911bが各々設けられている。胴縁補助材904と胴縁材905とは、胴縁補助材904のL字型の内周面側に胴縁材905が収まり、被係合部908a及び被係止部908bと係合部911a及び係止部911bとが係合することで取り付けられる。
【先行技術文献】
【特許文献】
【0004】
特許第5364616号公報
【発明の概要】
【発明が解決しようとする課題】
【0005】
しかしながら、被係合部908a及び被係止部908bの見込み方向の厚みが、垂直壁910と係合部911a及び係止部911bとの距離よりも小さいため、被係合部908a及び被係止部908bと係合部911a及び係止部911bとが係合しても、垂直壁910と係合部911a及び係止部911bとの間に隙間ができる。これにより、胴縁901に対して縦格子902がガタつくという不具合があった。
【0006】
そこで、本発明は、ガタつきを抑制することができるフェンス、フェンスの施工方法、外構製品、及び外構製品の施工方法の提供を課題とする。
【課題を解決するための手段】
【0007】
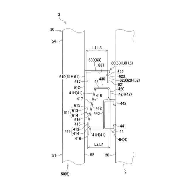
本発明のフェンスは、
高さ方向に延設される支柱と、
前記高さ方向及び前記高さ方向に交差する長さ方向に広がり、前記高さ方向及び前記長さ方向に直交する前後方向に離れて配設される前面及び後面を備えるパネルと、
前記長さ方向に延設され、前記パネルを前記支柱に対して前記前後方向の前側で支持すべく前記支柱に取り付けられる胴縁と、を備え、
前記パネルは、
前記前面及び前記後面を構成するパネル本体と、
前記パネル本体の後面に設けられ、前記胴縁に支持されるパネル支持部と、を備え、
前記パネル支持部は、
前記パネル本体の後面に取り付けられるパネル前片部と、
前記パネル前片部に対して、後方に離間して対向するパネル後片部と、
前記前後方向で前記パネル前片部と前記パネル後片部とを連結するパネル連結部と、を備え、
前記パネル前片部が前記胴縁に対して前側から当接し、
前記パネル後片部が前記胴縁に対して後側から当接した状態で前記胴縁に支持される。
【0008】
かかる構成によれば、パネル前片部が胴縁に対して前側から当接し、パネル後片部が胴縁に対して後側から当接するので、前後方向の規制により位置決めされてガタつきがなくなる。
【0009】
本発明のフェンスにおいて、
前記胴縁は、
前記パネル前片部が前方から当接する胴前片部と、
前記胴前片部に対して後方に離間して配置されて、前記パネル後片部が後方から当接する胴後片部と、を備え、
前記パネル前片部と前記パネル後片部との最大離間距離が、前記胴前片部と前記胴後片部との離間距離よりも小さくてもよい。
【0010】
かかる構成によれば、パネル支持部が胴縁に支持された状態では、胴前片部がパネル前片部を前方に押し広げるとともに、胴後片部がパネル後片部を後方に押し広げて、胴縁がパネル前片部とパネル後片部との離間距離を広げた状態とするので、パネル支持部が胴縁にしっかりと支持されて、ガタつきが生じにくくなる。
(【0011】以降は省略されています)
この特許をJ-PlatPat(特許庁公式サイト)で参照する
関連特許
積水樹脂株式会社
吸音シート
11日前
積水樹脂株式会社
フェンス、フェンスの施工方法、外構製品、及び外構製品の施工方法
今日
個人
接合構造
8日前
個人
屋台
25日前
個人
タッチミー
7日前
個人
野良猫ハウス
1か月前
個人
フェンス
1か月前
個人
転落防止用手摺
1か月前
個人
居住車両用駐車場
1か月前
個人
地下型マンション
3か月前
ニチハ株式会社
建築板
1か月前
個人
ベンリナアングル
7日前
個人
筋交自動設定装置
15日前
積水樹脂株式会社
柵体
1か月前
個人
熱抵抗多層断熱建材
1か月前
個人
鋼管結合資材
3か月前
株式会社タナクロ
テント
3か月前
個人
柵
2か月前
個人
補強部材
1か月前
鹿島建設株式会社
壁体
1か月前
成友建設株式会社
建物
1か月前
個人
循環流水式屋根融雪装置
3か月前
個人
身体用シェルター
15日前
個人
身体用シェルター
15日前
株式会社熊谷組
木質材料
25日前
三協立山株式会社
構造体
15日前
イワブチ株式会社
組立柱
1か月前
株式会社熊谷組
吊り治具
12日前
三協立山株式会社
構造体
15日前
インターマン株式会社
天井構造
2か月前
三協立山株式会社
構造体
15日前
三協立山株式会社
構造体
15日前
株式会社熊谷組
床構成材
5日前
個人
可搬型供養墓
13日前
三協立山株式会社
構造体
15日前
三協立山株式会社
構造体
15日前
続きを見る
他の特許を見る