TOP
|
特許
|
意匠
|
商標
特許ウォッチ
Twitter
他の特許を見る
10個以上の画像は省略されています。
公開番号
2025149410
公報種別
公開特許公報(A)
公開日
2025-10-08
出願番号
2024050040
出願日
2024-03-26
発明の名称
固定具
出願人
ブラザー工業株式会社
代理人
個人
,
個人
主分類
F16M
13/02 20060101AFI20251001BHJP(機械要素または単位;機械または装置の効果的機能を生じ維持するための一般的手段)
要約
【課題】オープンキャビン型車両の支柱に対する支持部材の水平軸を中心とした回転を抑制することができる固定具を提供する。
【解決手段】固定具1は、オープンキャビン型車両の支柱81に取り付けられる架台9の固定具であって、前記支柱の第一側面に対面し、前記支柱に対し前記架台を鉛直軸を中心に回転可能に支持する支持部材と、前記支持部材に固定され、前記第一側面と交差する水平軸を中心とした回転を抑制する回転抑制部材とを有し、前記回転抑制部材は、前記第一側面と、前記支持部材の内面との間に挟持される第一板部と、前記第一板部と連結され、前記第一側面に隣接し前記水平軸と平行な前記支柱の第二側面と接触する第二板部とを有する。
【選択図】図3
特許請求の範囲
【請求項1】
オープンキャビン型車両の支柱に取り付けられる架台の固定具であって、
前記支柱の第一側面に対面し、前記支柱に対し前記架台を鉛直軸を中心に回転可能に支持する支持部材と、
前記支持部材に固定され、前記第一側面と交差する水平軸を中心とした回転を抑制する回転抑制部材とを有し、
前記回転抑制部材は、
前記第一側面と、前記支持部材の内面との間に挟持される第一板部と、
前記第一板部と連結され、前記第一側面に隣接し前記水平軸と平行な前記支柱の第二側面と接触する第二板部と
を有する固定具。
続きを表示(約 920 文字)
【請求項2】
前記回転抑制部材は、前記第二側面と対向する前記支柱の第三側面に接触する第三板部を含む
請求項1に記載の固定具。
【請求項3】
前記支持部材は、前記第一板部を挟んで前記第一側面と対面する第一挟持部材と、前記第一側面と対向する前記支柱の第四側面と対面し、前記第一挟持部材に接続されて前記第一挟持部材と共に前記支柱を挟む第二挟持部材と、を有し、
前記回転抑制部材は、
前記第二挟持部材に固定され、前記第四側面と、前記第二挟持部材の内面との間に配置される第四板部と、
請求項2に記載の固定具。
【請求項4】
前記回転抑制部材は、前記第一板部と前記第二板部とが一体に形成された第一L字部材と、前記第三板部と前記第四板部とが一体に形成された第二L字部材とを有する
請求項3に記載の固定具。
【請求項5】
前記第一L字部材と前記第二L字部材は、同じ形状である
請求項4に記載の固定具。
【請求項6】
前記回転抑制部材は、前記支持部材の上面に接触する凸部を有する
請求項2に記載の固定具。
【請求項7】
前記回転抑制部材の前記凸部は、前記第一板部に対し折り曲げられて形成されている
請求項6に記載の固定具。
【請求項8】
前記支持部材には、貫通孔が形成されており、
前記固定具は、前記貫通孔に挿入されるねじを含み、
前記ねじの長さは、前記支持部材の厚みよりも大きく、かつ前記支持部材及び前記回転抑制部材の厚みの合計値よりも小さい
請求項1に記載の固定具。
【請求項9】
前記支持部材には、前記支柱の高さ方向における上方と下方のそれぞれに前記貫通孔が形成されている
請求項8に記載の固定具。
【請求項10】
前記支持部材には、前記オープンキャビン型車両の前後方向となる前記支柱の前記第一側面の幅方向に沿って、複数の前記貫通孔が形成されている
請求項9に記載の固定具。
(【請求項11】以降は省略されています)
発明の詳細な説明
【技術分野】
【0001】
本発明は、固定具に関する。
続きを表示(約 2,200 文字)
【背景技術】
【0002】
従来、複数の支柱で支持された屋根によって運転席の上方が覆われた作業機械は、ミストを噴霧するミスト装置を運転席の後方に配置する(例えば、特許文献1参照)。ミスト装置は、複数のノズル、水供給装置、及び回路装置を備え、作業機械の左側の支柱と右側の支柱との間に4つのバンド部材により着脱可能に取り付けられる。複数のノズルは、運転席に着座したオペレータに噴射口が向けられたオペレータを囲むように配置され、冷却用のミストを噴射する。水供給装置は、複数のノズルに水を供給する。回路装置は、複数のノズルからそれぞれ噴射される水の流量を個別に制御する複数の流量制御の開度を個別に制御する。
【先行技術文献】
【特許文献】
【0003】
特開2022-40493号公報
【発明の概要】
【発明が解決しようとする課題】
【0004】
しかしながら、特許文献1の作業機械においては、支柱に対する支持部材の水平軸を中心とした回転を抑制する点に関する考慮がされていない。
【0005】
発明は斯かる事情に鑑みてなされたものであり、支柱に対する支持部材の水平軸を中心とした回転を抑制することができる固定具を提供することを目的とする。
【課題を解決するための手段】
【0006】
本開示の一態様に係る固定具は、オープンキャビン型車両の支柱に取り付けられる架台の固定具であって、前記支柱の第一側面に対面し、前記支柱に対し前記架台を鉛直軸を中心に回転可能に支持する支持部材と、前記支持部材に固定され、前記第一側面と交差する水平軸を中心とした回転を抑制する回転抑制部材とを有し、前記回転抑制部材は、前記第一側面と、前記支持部材の内面との間に挟持される第一板部と、前記第一板部と連結され、前記第一側面に隣接し前記水平軸と平行な前記支柱の第二側面と接触する第二板部とを有する。
【発明の効果】
【0007】
支柱に対する支持部材の水平軸を中心とした回転を抑制する固定具を提供することができる。
【図面の簡単な説明】
【0008】
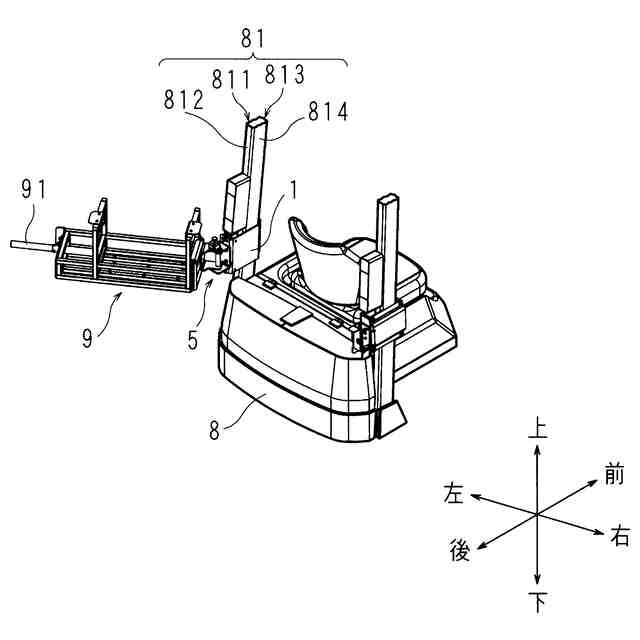
実施形態1に係るオープンキャビン型車両の斜視図である。
空調機が載置された架台が固定具により支柱に取り付けられた状態を示す斜視図である。
空調機が載置された架台が固定具により支柱に対し回転している状態を示す斜視図である。
回転抑制部材を含む固定具が支柱を挟持している状態を透視的に示す側面図である。
第一挟持部材及び第二挟持部材を含む支持部材を示す分解斜視図である。
回転抑制部材を示す斜視図である。
支持部材の第一挟持部材と、回転抑制部材とを固定するねじ示す斜視図である。
実施形態2に係る回転抑制部材が有する第二L字部材を示す斜視図である。
回転抑制部材を含む固定具が支柱を挟持している状態を透視的に示す、左後方からの斜視図である。
回転抑制部材を含む固定具が支柱を挟持している状態を透視的に示す、右前方からの斜視図である。
回転抑制部材を含む固定具が支柱を挟持している状態を透視的に示す、左方からの側面図である。
回転抑制部材を含む固定具が支柱を挟持している状態を透視的に示す、右方からの側面図である。
【発明を実施するための形態】
【0009】
(実施形態1)
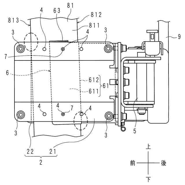
以下、実施の形態について、図面に基づいて説明する。以下説明は図中に矢印で示す左右、前後、上下を使用する。図1は、実施形態1に係るオープンキャビン型車両8の斜視図である。図2は、空調機92が載置された架台9が固定具1により支柱81に取り付けられた状態を示す斜視図である。本実施形態の空調機92が装着されるオープンキャビン型車両8を説明する。本実施形態のオープンキャビン型車両8は、一例としてフォークリフトである。又は、オープンキャビン型車両8は、小型ショベルカー等の建機又は工事車両であってもよい。オープンキャビン型車両8であるフォークリフトは、ヘッドガードを支持する2つの支柱81を備える。これら2つの支柱81に対し、後述する架台9が、固定具1によって回転自在に取り付けられる。
【0010】
本実施形態においては、左側の支柱81に固定具1が取り付けられる。支柱81は、第一側面811、第二側面812、第三側面813、及び第四側面814を含む。オープンキャビン型車両8における前後左右を基準として、第一側面811は左側面に相当し、第二側面812は後側面に相当し、第三側面813は前側面に相当し、第四側面814は右側面に相当する。すなわち、第一側面811、第二側面812、第四側面814、及び第三側面813は、反時計回りにて、当該順番にて位置している。従って、左側面である第一側面811と右側面である第四側面814とが対向し、後側面である第二側面812と前側面である第三側面813とが対向する。第一側面811と交差する水平軸を基準とした際、第一側面811及び第四側面814は当該水平軸と垂直な面に相当し、第二側面812及び第三側面813は、当該水平軸と平行な面に相当する。
(【0011】以降は省略されています)
この特許をJ-PlatPat(特許庁公式サイト)で参照する
関連特許
ブラザー工業株式会社
ミシン
28日前
ブラザー工業株式会社
ミシン
28日前
ブラザー工業株式会社
ホルダ
28日前
ブラザー工業株式会社
結紮装置
29日前
ブラザー工業株式会社
印刷装置
21日前
ブラザー工業株式会社
結紮装置
29日前
ブラザー工業株式会社
塗工装置
28日前
ブラザー工業株式会社
塗工装置
28日前
ブラザー工業株式会社
塗布装置
28日前
ブラザー工業株式会社
塗工装置
28日前
ブラザー工業株式会社
回収装置
28日前
ブラザー工業株式会社
印刷媒体
28日前
ブラザー工業株式会社
印刷媒体
28日前
ブラザー工業株式会社
スキャナ
24日前
ブラザー工業株式会社
スキャナ
24日前
ブラザー工業株式会社
印刷媒体
28日前
ブラザー工業株式会社
電子機器
3日前
ブラザー工業株式会社
印刷装置
9日前
ブラザー工業株式会社
画像形成装置
8日前
ブラザー工業株式会社
分別回収装置
28日前
ブラザー工業株式会社
画像形成装置
8日前
ブラザー工業株式会社
静電塗工装置
28日前
ブラザー工業株式会社
画像形成装置
8日前
ブラザー工業株式会社
画像形成装置
今日
ブラザー工業株式会社
画像形成装置
28日前
ブラザー工業株式会社
静電塗工装置
28日前
ブラザー工業株式会社
画像形成装置
28日前
ブラザー工業株式会社
画像形成装置
28日前
ブラザー工業株式会社
画像形成装置
28日前
ブラザー工業株式会社
画像形成装置
28日前
ブラザー工業株式会社
画像形成装置
28日前
ブラザー工業株式会社
画像形成装置
28日前
ブラザー工業株式会社
画像形成装置
28日前
ブラザー工業株式会社
画像形成装置
8日前
ブラザー工業株式会社
画像形成装置
24日前
ブラザー工業株式会社
画像形成装置
28日前
続きを見る
他の特許を見る