TOP
|
特許
|
意匠
|
商標
特許ウォッチ
Twitter
他の特許を見る
公開番号
2025129767
公報種別
公開特許公報(A)
公開日
2025-09-05
出願番号
2024026647
出願日
2024-02-26
発明の名称
塗装物の製造方法
出願人
Mipox株式会社
代理人
個人
,
個人
主分類
B05D
3/02 20060101AFI20250829BHJP(霧化または噴霧一般;液体または他の流動性材料の表面への適用一般)
要約
【課題】環境性に優れた塗装物の製造方法を提供することを課題とする。
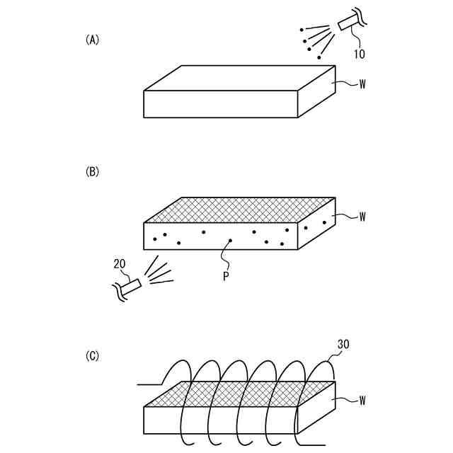
【解決手段】導電性を有した被塗装物の所望の箇所に粉体樹脂を塗布する塗布工程と、前記被塗装物の前記所望の箇所以外に付着した前記粉体樹脂をエア噴射により吹き飛ばすエア噴射工程と、前記所望の箇所に塗布された前記粉体樹脂が溶融して前記被塗装物に固定されるように、前記被塗装物に誘導電流を発生させて前記被塗装物を誘導加熱する加熱工程と、を備えた塗装物の製造方法。
【選択図】図1
特許請求の範囲
【請求項1】
導電性を有した被塗装物の所望の箇所に粉体樹脂を塗布する塗布工程と、
前記被塗装物の前記所望の箇所以外に付着した前記粉体樹脂をエア噴射により吹き飛ばすエア噴射工程と、
前記所望の箇所に塗布された前記粉体樹脂が溶融して前記被塗装物に固定されるように、前記被塗装物に誘導電流を発生させて前記被塗装物を誘導加熱する加熱工程と、を備えた塗装物の製造方法。
続きを表示(約 390 文字)
【請求項2】
前記被塗装物は、鉄系金属、非鉄金属、黒鉛、又はそれらの合金である、請求項1の塗装物の製造方法。
【請求項3】
前記粉体樹脂は、熱硬化性であって、エポキシ系、エポキシポリエステル系、ポリエステル系、アクリル系、及びフッ素樹脂系のうちの少なくとも何れかの粉体を含む、請求項1又は2の塗装物の製造方法。
【請求項4】
前記粉体樹脂は、熱可塑性であって、塩化ビニル、ポリエチレン、及びナイロンの少なくとも何れかの粉体を含む、請求項1又は2の塗装物の製造方法。
【請求項5】
前記粉体樹脂は、熱可塑性であってエンジニアリングプラスチックの粉体を含む、請求項1又は2の塗装物の製造方法。
【請求項6】
前記エンジニアリングプラスチックは、PPS、PEEK、又はPIである、請求項5の塗装物の製造方法。
発明の詳細な説明
【技術分野】
【0001】
本発明は、塗装物の製造方法に関する。
続きを表示(約 790 文字)
【背景技術】
【0002】
従来から液体塗料を被塗装物に塗布する方法が多く提案されている(例えば特許文献1参照)。
【先行技術文献】
【特許文献】
【0003】
特開2001-025701号公報
【発明の概要】
【発明が解決しようとする課題】
【0004】
このような液体塗料は、有機溶剤を含むものがある。有機溶剤は、大気中に放出されやすく環境への影響が大きい。
【0005】
そこで本発明は、環境性に優れた塗装物の製造方法を提供することを目的とする。
【課題を解決するための手段】
【0006】
上記目的は、導電性を有した被塗装物の所望の箇所に粉体樹脂を塗布する塗布工程と、前記被塗装物の前記所望の箇所以外に付着した前記粉体樹脂をエア噴射により吹き飛ばすエア噴射工程と、前記所望の箇所に塗布された前記粉体樹脂が溶融して前記被塗装物に固定されるように、前記被塗装物に誘導電流を発生させて前記被塗装物を誘導加熱する加熱工程と、を備えた塗装物の製造方法によって達成できる。
【0007】
前記被塗装物は、鉄系金属、非鉄金属、黒鉛、又はそれらの合金であってもよい。
【0008】
前記粉体樹脂は、熱硬化性であって、エポキシ系、エポキシポリエステル系、ポリエステル系、アクリル系、及びフッ素樹脂系のうちの少なくとも何れかの粉体を含んでもよい。
【0009】
前記粉体樹脂は、熱可塑性であって、塩化ビニル、ポリエチレン、及びナイロンの少なくとも何れかの粉体を含んでもよい。
【0010】
前記粉体樹脂は、熱可塑性であってエンジニアリングプラスチックの粉体を含んでもよい。
(【0011】以降は省略されています)
この特許をJ-PlatPat(特許庁公式サイト)で参照する
関連特許
Mipox株式会社
塗装物の製造方法
1か月前
ベック株式会社
被膜形成方法
4か月前
ベック株式会社
被膜形成方法
4か月前
ベック株式会社
被膜形成方法
19日前
有限会社 芦屋ドレス
湯噴霧器
4日前
スズカファイン株式会社
多色性塗膜
27日前
ベック株式会社
装飾被膜の形成方法
2か月前
アイカ工業株式会社
塗料仕上げ工法
1か月前
株式会社吉野工業所
キャップ
3か月前
個人
スプレー缶高所対応携帯ホルダー
1か月前
日本ライナー株式会社
塗装装置
1か月前
株式会社カネカ
塗布装置
27日前
トヨタ自動車株式会社
塗布装置
25日前
プルガティオ株式会社
噴霧装置
3か月前
プルガティオ株式会社
噴霧装置
3か月前
プルガティオ株式会社
噴霧装置
3か月前
能美防災株式会社
水噴霧ヘッド
23日前
ヒット工業株式会社
マスキング具
2か月前
中外炉工業株式会社
塗工装置
2か月前
株式会社吉野工業所
ポンプ式吐出器
3か月前
ブラザー工業株式会社
塗工装置
16日前
東レエンジニアリング株式会社
スリットダイ
19日前
ブラザー工業株式会社
塗工装置
16日前
ブラザー工業株式会社
塗工装置
16日前
東レエンジニアリング株式会社
粉体吐出装置
17日前
旭サナック株式会社
粉体塗装装置
1か月前
株式会社吉野工業所
吐出器
3か月前
株式会社吉野工業所
吐出器
3か月前
トリニティ工業株式会社
回転霧化式塗装機
23日前
株式会社大関
塗装用ローラとその製造方法
4か月前
個人
散水形態を変更可能な吐水装置
24日前
株式会社トーモク
印刷装置および印刷方法
1か月前
三菱鉛筆株式会社
多液混合型塗布具
2か月前
AWJ株式会社
ステンシルプレートセット
2か月前
積水ハウス株式会社
接着剤塗布装置
2か月前
ブラザー工業株式会社
静電塗工装置
16日前
続きを見る
他の特許を見る