TOP
|
特許
|
意匠
|
商標
特許ウォッチ
Twitter
他の特許を見る
公開番号
2025161140
公報種別
公開特許公報(A)
公開日
2025-10-24
出願番号
2024064062
出願日
2024-04-11
発明の名称
研削装置
出願人
株式会社ディスコ
代理人
弁理士法人東京アルパ特許事務所
主分類
B24B
55/06 20060101AFI20251017BHJP(研削;研磨)
要約
【課題】研削ホイールへの研削屑の付着を防いで研削屑によるウェーハの傷つきの問題を発生させることがない研削装置を提供すること。
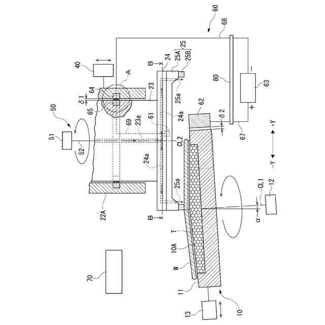
【解決手段】チャックテーブル10と、研削ホイール25を回転させて研削砥石25Bによってウェーハを研削する研削機構20と、ウェーハWと研削砥石25Bとの接触部に研削水を供給する研削水供給部50と、を備える研削装置1は、研削ホイール25に配置された第1電極61と、チャックテーブル10に非接触で近接配置された第2電極62と、第1電極61と第2電極62とに通電する電源部63を含んで構成されるバイアス印加部60を備え、研削水供給部50からウェーハWと研削砥石25Bとの接触部に供給される研削水によってバイアス印加部60の第1電極61と第2電極62とを電気的に接続してこれらの第1電極61と第2電極62とに通電することを特徴とする。
【選択図】図2
特許請求の範囲
【請求項1】
保持面によって保持したウェーハと共に回転するチャックテーブルと、
基台に研削砥石が環状に配置された研削ホイールを回転させて前記研削砥石によってウェーハを研削する研削機構と、
ウェーハと前記研削砥石との接触部に研削水を供給する研削水供給部と、
を備える研削装置であって、
前記研削ホイールに配置された第1電極と、前記チャックテーブルに非接触で近接配置された第2電極と、前記第1電極と前記第2電極とに通電する電源部を含んで構成されるバイアス印加部を備え、
前記研削水供給部からウェーハと前記研削砥石との接触部に供給される研削水によって前記バイアス印加部の前記第1電極と前記第2電極とを電気的に接続してこれらの第1電極と第2電極とに通電させ研削水に含まれる研削屑を前記第2電極に付着させることを特徴とする研削装置。
続きを表示(約 100 文字)
【請求項2】
電極を切り替える電極切換部と、ウェーハの材質を設定する材質設定部と、を備え、
ウェーハの材質によって電極を前記電極切換部によって切り換えることを特徴とする請求項1記載の研削装置。
発明の詳細な説明
【技術分野】
【0001】
本発明は、チャックテーブルの保持面に保持されたウェーハを研削砥石によって研削する研削装置に関する。
続きを表示(約 1,700 文字)
【背景技術】
【0002】
各種電子機器に用いられるICやLSIなどの半導体デバイスの製造工程においては、半導体デバイスの小型化と軽量化のために、ウェーハの裏面が研削装置によって研削されて該ウェーハが所定の厚みまで薄化されている。すなわち、研削装置においては、円板状の基台に研削砥石を環状に配置した研削ホイールを回転させ、回転する研削砥石を所定の下降速度で下降させながらウェーハを研削しているが、研削砥石とウェーハとの接触部(研削部)に研削水を供給し、この研削水によって接触部を冷却するとともに、ウェーハの研削によって発生した研削屑を研削水によって洗い流して除去するようにしている(例えば、特許文献1,2参照)。
【0003】
したがって、研削水を供給しながらウェーハを研削する研削装置においては、研削屑を含む研削水がウェーハの回転による遠心力によって噴霧となって加工室内で飛散している。
【先行技術文献】
【特許文献】
【0004】
特開2015-036162号公報
特開2015-199146号公報
【発明の概要】
【発明が解決しようとする課題】
【0005】
前述のように、研削屑を含む研削水が噴霧となって加工室内で飛散すると、噴霧に含まれる研削屑が研削ホイールに付着し、付着した研削屑が予期しないときにウェーハ上に落下し、落下した研削屑が研削砥石とウェーハとの接触部に進入してウェーハの表面に深い屑をつけるという問題が発生することがある。
【0006】
本発明は、上記問題に鑑みてなされたもので、その目的は、研削ホイールへの研削屑の付着を防いで研削屑によるウェーハの傷つきの問題を発生させることがない研削装置を提供することにある。
【課題を解決するための手段】
【0007】
上記目的を達成するための本発明は、保持面によって保持したウェーハと共に回転するチャックテーブルと、基台に研削砥石が環状に配置された研削ホイールを回転させて前記研削砥石によってウェーハを研削する研削機構と、ウェーハと前記研削砥石との接触部に研削水を供給する研削水供給部と、を備える研削装置であって、前記研削ホイールに配置された第1電極と、前記チャックテーブルに非接触で近接配置された第2電極と、前記第1電極と前記第2電極とに通電する電源部を含んで構成されるバイアス印加部を備え、前記研削水供給部からウェーハと前記研削砥石との接触部に供給される研削水によって前記バイアス印加部の前記第1電極と前記第2電極とを電気的に接続してこれらの第1電極と第2電極とに通電させ研削水に含まれる研削屑を前記第2電極に付着させることを特徴とする。
【発明の効果】
【0008】
本発明によれば、バイアス印加部において、研削水供給部からウェーハと研削砥石との接触部に供給される導電性の研削水によって第1電極と第2電極とが電気的に接続され、これらの第1電極と第2電極に電源部から通電されることによってゼータ電位が発生し、ウェーハの研削によって発生する研削屑の研削ホイールへの付着がゼータ電位の作用によって防がれる。つまり、ゼータ電位によって研削屑が研削砥石から離れるため、研削砥石の内周面への研削屑の付着を防ぐことができる。このため、研削砥石の下面とウェーハの上面との接触部(研削部)への研削屑の進入が防がれ、研削屑によってウェーハの上面が傷つけられることがなく、ウェーハを平滑で均一な厚みに研削することができる。
【図面の簡単な説明】
【0009】
本発明に係る研削装置の斜視図である。
本発明に係る研削装置要部(チャックテーブルと研削ホイール部分)の破断側面図である。
図2のA部拡大詳細図である。
図2のB-B線拡大断面図である。
【発明を実施するための形態】
【0010】
以下に本発明の実施の形態を添付図面に基づいて説明する。
(【0011】以降は省略されています)
この特許をJ-PlatPat(特許庁公式サイト)で参照する
関連特許
株式会社ディスコ
焼成炉
22日前
株式会社ディスコ
切削装置
1か月前
株式会社ディスコ
処理装置
22日前
株式会社ディスコ
研削装置
22日前
株式会社ディスコ
加工装置
24日前
株式会社ディスコ
加工方法
29日前
株式会社ディスコ
切削装置
17日前
株式会社ディスコ
加工装置
1か月前
株式会社ディスコ
加工装置
11日前
株式会社ディスコ
加工装置
1か月前
株式会社ディスコ
加工装置
1か月前
株式会社ディスコ
加工装置
16日前
株式会社ディスコ
加工装置
1か月前
株式会社ディスコ
加工装置
1か月前
株式会社ディスコ
加工装置
8日前
株式会社ディスコ
搬送システム
22日前
株式会社ディスコ
搬送システム
1か月前
株式会社ディスコ
搬送システム
29日前
株式会社ディスコ
シート固着装置
10日前
株式会社ディスコ
加工室の洗浄方法
19日前
株式会社ディスコ
液状樹脂供給装置
1か月前
株式会社ディスコ
配線引き抜き治具
22日前
株式会社ディスコ
保護部材形成装置
29日前
株式会社ディスコ
保護部材形成装置
1か月前
株式会社ディスコ
レーザー加工装置
10日前
株式会社ディスコ
抗折強度測定装置
22日前
株式会社ディスコ
ウエーハの加工方法
23日前
株式会社ディスコ
ウェーハの分割方法
23日前
株式会社ディスコ
ウエーハの加工装置
29日前
株式会社ディスコ
カーフチェック方法
23日前
株式会社ディスコ
被加工物の加工方法
16日前
株式会社ディスコ
スピンドルユニット
8日前
株式会社ディスコ
加工装置及び支持柱
23日前
株式会社ディスコ
被加工物の処理装置
1か月前
株式会社ディスコ
処理装置及び検知方法
17日前
株式会社ディスコ
検出方法及び処理装置
1か月前
続きを見る
他の特許を見る