TOP
|
特許
|
意匠
|
商標
特許ウォッチ
Twitter
他の特許を見る
10個以上の画像は省略されています。
公開番号
2025168791
公報種別
公開特許公報(A)
公開日
2025-11-12
出願番号
2024073545
出願日
2024-04-30
発明の名称
洗浄装置及び洗浄方法
出願人
株式会社ディスコ
代理人
弁理士法人東京アルパ特許事務所
主分類
H01L
21/304 20060101AFI20251105BHJP(基本的電気素子)
要約
【課題】洗浄ブラシへのパーティクルの付着を抑制し、ウェーハを確実に洗浄すること。
【解決手段】保持部3と、洗浄ブラシ2を備えるウェーハ洗浄ユニット1と、洗浄ブラシ2に接触して該洗浄ブラシ2を洗浄する洗浄板21を備えるブラシ洗浄ユニット20と、洗浄ブラシ2と洗浄板21とを近接及び離間する方向に相対的に移動させる移動ユニット30と、コントローラ40を備える洗浄装置において実施される洗浄方法は、ウェーハWの表面を洗浄ブラシによって洗浄した後、コントローラによって移動ユニットを制御して洗浄ブラシと洗浄板2とを接触させた状態から両者をさらに近接させて洗浄ブラシ2を変形させた後、洗浄ブラシ2と洗浄板21とを離間させて洗浄ブラシ2を変形前の状態に復元させる変形動作を少なくとも1回行うことを特徴とする。
【選択図】図8C
特許請求の範囲
【請求項1】
ウェーハを保持する保持部と、該保持部に保持されたウェーハに接触して該ウェーハを洗浄する洗浄ブラシと、ウェーハに向けて洗浄液を供給する洗浄液供給手段を備えるウェーハ洗浄ユニットと、
前記洗浄ブラシに接触して該洗浄ブラシを洗浄する洗浄板を備えるブラシ洗浄ユニットと、
前記洗浄ブラシと前記洗浄板とを近接及び離間する方向に相対的に移動させる移動ユニットと、
を含んで構成される洗浄装置であって、
前記移動ユニットを制御して前記洗浄ブラシと前記洗浄板とを接触させた状態から両者をさらに近接させて前記洗浄ブラシを変形させた後、前記洗浄ブラシと前記洗浄板とを離間させて前記洗浄ブラシを変形前の状態に復元させる変形動作を少なくとも1回行わせるコントローラを備えることを特徴とする洗浄装置。
続きを表示(約 830 文字)
【請求項2】
前記ブラシ洗浄ユニットは、
前記洗浄ブラシにアルカリ性溶液を供給するアルカリ性溶液供給手段と、
を備えることを特徴とする請求項1記載の洗浄装置。
【請求項3】
前記ブラシ洗浄ユニットは、
少なくとも前記アルカリ性溶液を超音波振動させる超音波発振器を備えることを特徴とする請求項2記載の洗浄装置。
【請求項4】
前記洗浄ブラシは、
中心部に円孔を形成して円環状に形成されていることを特徴とする請求項1記載の洗浄装置。
【請求項5】
前記洗浄ブラシの外周の円環状部分に複数の溝が放射状に形成されていることを特徴とする請求項4記載の洗浄装置。
【請求項6】
前記洗浄ブラシのウェーハの表面に接触する接触領域に格子状または放射状の溝が形成されていることを特徴とする請求項1記載の洗浄装置。
【請求項7】
請求項1~6の何れかに記載の洗浄装置において実施される洗浄方法であって、
ウェーハを前記洗浄ブラシによって洗浄した後、前記コントローラによって前記移動ユニットを制御して前記洗浄ブラシと前記洗浄板とを接触させた状態から両者をさらに近接させて前記洗浄ブラシを変形させた後、前記洗浄ブラシと前記洗浄板とを離間させて前記洗浄ブラシを変形前の状態に復元させる変形動作を少なくとも1回行わせることを特徴とする洗浄方法。
【請求項8】
前記洗浄ブラシの前記変形動作中または前記変形動作を実施した後、前記洗浄ブラシにアルカリ性溶液を供給して該洗浄ブラシに前記アルカリ性溶液を含浸させることを特徴とする請求項7記載の洗浄方法。
【請求項9】
前記洗浄ブラシに前記アルカリ性溶液を含浸させる前に、前記洗浄ブラシに洗浄水を供給して該洗浄ブラシに洗浄水を含浸させることを特徴とする請求項8記載の洗浄方法。
発明の詳細な説明
【技術分野】
【0001】
本発明は、ウェーハを洗浄するウェーハ洗浄ユニットと洗浄ブラシを洗浄するブラシ洗浄ユニットを備える洗浄装置及び該洗浄装置を用いて実施される洗浄方法に関する。
続きを表示(約 2,200 文字)
【背景技術】
【0002】
半導体の製造工程においては、例えば、ウェーハを研削及び研磨した後にウェーハの表面に付着した研削屑など(以下、「パーティクル」と称する)を除去して該ウェーハの表面を洗浄する洗浄工程が各種洗浄装置によって実施されている。このような洗浄装置には、ウェーハを保持してこれを周方向に回転させる保持部と、該保持部に保持されて回転するウェーハの表面に接触しながら回転及び該ウェーハの径方向に揺動する洗浄ブラシを備えるものが知られている(例えば、特許文献1参照)。
【0003】
上記洗浄装置においては、洗浄液を供給しつつ、回転しながらウェーハの径方向に揺動する洗浄ブラシを回転するウェーハの表面に接触させることによって、ウェーハの全面が洗浄ブラシによって洗浄され、該ウェーハの表面に付着したパーティクルが除去される。
【先行技術文献】
【特許文献】
【0004】
特開2003-017454号公報
【発明の概要】
【発明が解決しようとする課題】
【0005】
しかしながら、洗浄によってウェーハの表面から除去されたパーティクルが洗浄ブラシ自身に付着するため、次に洗浄されるウェーハの洗浄が不十分になってしまう可能性があるという問題がある。
【0006】
本発明は、上記問題に鑑みてなされたもので、その目的は、洗浄ブラシへのパーティクルの付着を抑制し、ウェーハを確実に洗浄することができる洗浄装置及び洗浄方法を提供することにある。
【課題を解決するための手段】
【0007】
上記目的を達成するための第1発明は、ウェーハを保持する保持部と、該保持部に保持されたウェーハに接触して該ウェーハを洗浄する洗浄ブラシと、ウェーハに向けて洗浄液を供給する洗浄液供給手段を備えるウェーハ洗浄ユニットと、前記洗浄ブラシに接触して該洗浄ブラシを洗浄する洗浄板を備えるブラシ洗浄ユニットと、前記洗浄ブラシと前記洗浄板とを近接及び離間する方向に相対的に移動させる移動ユニットと、を含んで構成される洗浄装置であって、前記移動ユニットを制御して前記洗浄ブラシと前記洗浄板とを接触させた状態から両者をさらに近接させて前記洗浄ブラシを変形させた後、前記洗浄ブラシと前記洗浄板とを離間させて前記洗浄ブラシを変形前の状態に復元させる変形動作を少なくとも1回行わせるコントローラを備えることを特徴とする。
【0008】
また、第2発明は、第1発明に係る洗浄装置において実施される洗浄方法であって、ウェーハの表面を前記洗浄ブラシによって洗浄した後、前記コントローラによって前記移動ユニットを制御して前記洗浄ブラシと前記洗浄板とを接触させた状態から両者をさらに近接させて前記洗浄ブラシを変形させた後、前記洗浄ブラシと前記洗浄板とを離間させて前記洗浄ブラシを変形前の状態に復元させる変形動作を少なくとも1回行わせることを特徴とする。
【発明の効果】
【0009】
本発明に係る洗浄装置において実施される本発明に係る洗浄方法によれば、洗浄液供給手段によってウェーハに洗浄液を供給しながら、ウェーハの表面を洗浄ブラシによって洗浄した後、コントローラによって移動ユニットを制御して洗浄ブラシの変形動作、つまり、洗浄ブラシと洗浄板とを接触させた状態から両者をさらに近接させて洗浄ブラシを変形させた後、洗浄ブラシと洗浄板とを離間させて洗浄ブラシを変形前の状態に復元させる変形動作を少なくとも1回行わせるようにしたため、ウェーハの洗浄によって洗浄ブラシに吸収された洗浄液が洗浄ブラシの変形動作によるポンピング作用によってパーティクルと共に洗浄ブラシから効果的に排出される。このため、洗浄によってウェーハの表面から除去されたパーティクルが洗浄ブラシ自身に付着するという問題が解消され、洗浄ブラシによる次のウェーハの洗浄を十分効果的に行うことができる。
【図面の簡単な説明】
【0010】
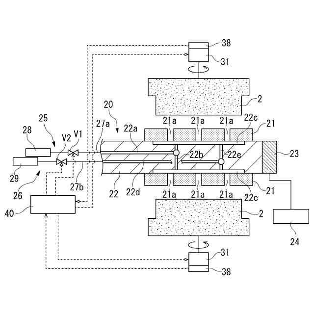
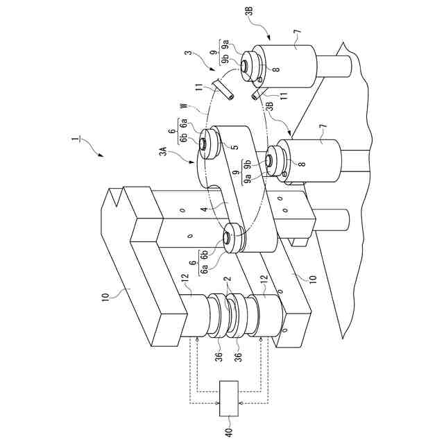
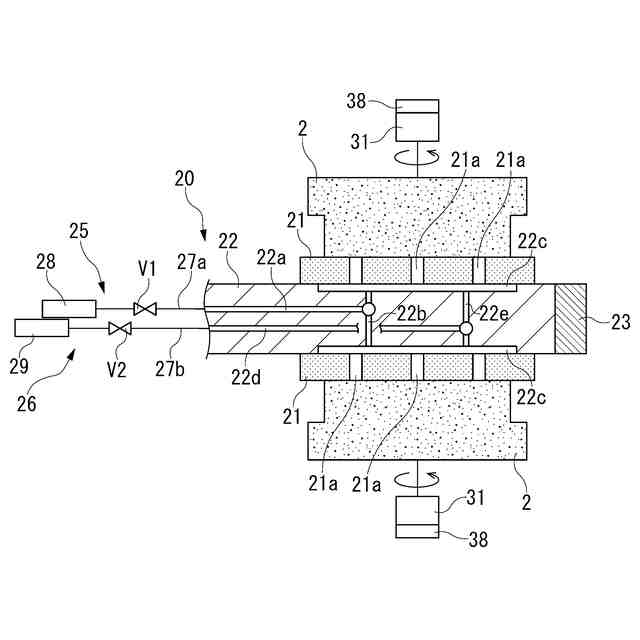
本発明に係る洗浄装置のブラシ洗浄ユニット要部の構成を示す斜視図である。
本発明に係る洗浄装置のブラシ洗浄ユニット要部(移動ユニット部分)の部分縦断面図である。
(a)~(d)は本発明に係る洗浄装置の洗浄ブラシの種々の形態を示す斜視図である。
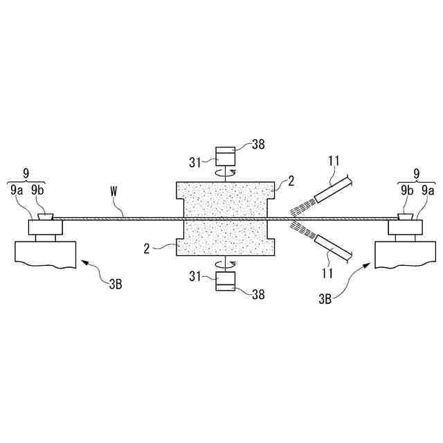
本発明に係る洗浄装置要部の部分縦断面図である。
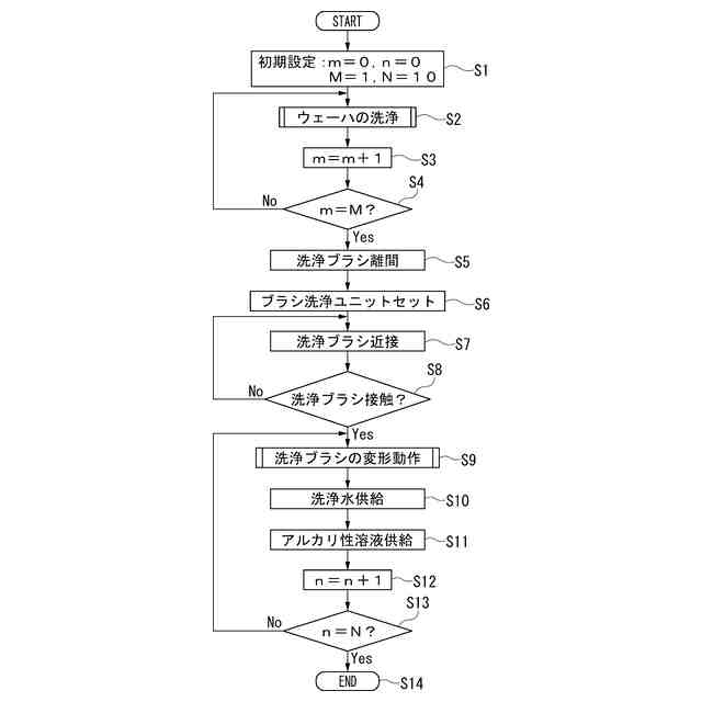
本発明に係る洗浄方法の手順を示すフローチャートである。
本発明に係る洗浄装置のウェーハ洗浄ユニットによってウェーハを洗浄している状態を示す部分縦断面図である。
本発明に係る洗浄装置のウェーハ洗浄ユニットによってウェーハを洗浄している状態を示す部分平面図である。
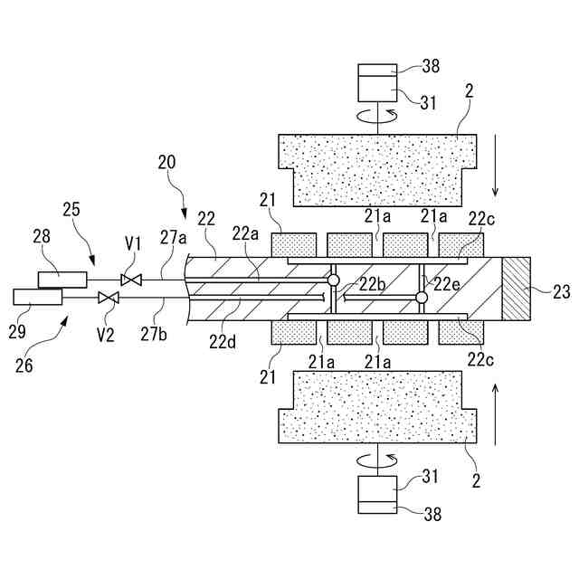
本発明に係る洗浄方法における洗浄ブラシの変形動作(洗浄ブラシの近接動作)を示す部分縦断面図である。
本発明に係る洗浄方法における洗浄ブラシの変形動作(洗浄ブラシの接触動作)を示す部分縦断面図である。
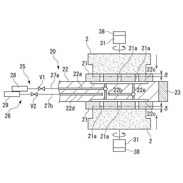
本発明に係る洗浄方法における洗浄ブラシの変形動作(洗浄ブラシの押圧動作)を示す部分縦断面図である。
本発明に係る洗浄方法における洗浄ブラシの変形動作(洗浄ブラシの復元動作)を示す部分縦断面図である。
【発明を実施するための形態】
(【0011】以降は省略されています)
この特許をJ-PlatPat(特許庁公式サイト)で参照する
関連特許
株式会社ディスコ
焼成炉
1か月前
株式会社ディスコ
加工装置
1か月前
株式会社ディスコ
加工装置
28日前
株式会社ディスコ
加工方法
1か月前
株式会社ディスコ
処理装置
1か月前
株式会社ディスコ
切削装置
1か月前
株式会社ディスコ
加工装置
13日前
株式会社ディスコ
加工装置
12日前
株式会社ディスコ
掃除器具
12日前
株式会社ディスコ
掃除器具
12日前
株式会社ディスコ
処理方法
12日前
株式会社ディスコ
加工装置
1か月前
株式会社ディスコ
加工装置
25日前
株式会社ディスコ
加工装置
1か月前
株式会社ディスコ
研削装置
1か月前
株式会社ディスコ
切削装置
6日前
株式会社ディスコ
加工装置
5日前
株式会社ディスコ
切削装置
1か月前
株式会社ディスコ
加工装置
1か月前
株式会社ディスコ
加工装置
1か月前
株式会社ディスコ
切削装置
4日前
株式会社ディスコ
処理装置
4日前
株式会社ディスコ
加工装置
1か月前
株式会社ディスコ
加工装置
1か月前
株式会社ディスコ
研削装置
5日前
株式会社ディスコ
搬送システム
12日前
株式会社ディスコ
搬送システム
12日前
株式会社ディスコ
搬送システム
12日前
株式会社ディスコ
搬送システム
1か月前
株式会社ディスコ
搬送システム
1か月前
株式会社ディスコ
搬送システム
5日前
株式会社ディスコ
搬送システム
1か月前
株式会社ディスコ
搬送システム
4日前
株式会社ディスコ
シート固着装置
27日前
株式会社ディスコ
配線引き抜き治具
1か月前
株式会社ディスコ
抗折強度測定装置
1か月前
続きを見る
他の特許を見る