TOP
|
特許
|
意匠
|
商標
特許ウォッチ
Twitter
他の特許を見る
公開番号
2025160622
公報種別
公開特許公報(A)
公開日
2025-10-23
出願番号
2024063273
出願日
2024-04-10
発明の名称
加工装置及び支持柱
出願人
株式会社ディスコ
代理人
インフォート弁理士法人
主分類
B24B
41/06 20120101AFI20251016BHJP(研削;研磨)
要約
【課題】装置の大型化を抑え、2つの部品の距離を調整する作業時間を短くすること。
【解決手段】研削装置(1)は、ウェーハ(W)を保持する保持ユニット(40)と、保持されたウェーハを研削する研削砥石(39)を装着して回転させる研削ユニット(30)とを備えている。保持ユニットは、ウェーハを保持するチャックテーブル(12)と、チャックテーブルを装着するテーブルベース(45)と、テーブルベースを支持する基台(53)と、基台に立設しテーブルベースと基台との間に配置する調整用支持柱(60)と、調整用支持柱と基台との間に配置するベアリング(312)と、支持柱内に柱状に配置する荷重センサ(67)とを備えている。支持柱は、テーブルベースに設けた雌ねじ部(471)に螺合する第1雄ねじ部(71)と、ベアリングを介して基台に支持され第1雄ねじ部を回転させる操作で調整用支持柱の軸方向の位置を維持する取付面(73)とを備える。
【選択図】図3
特許請求の範囲
【請求項1】
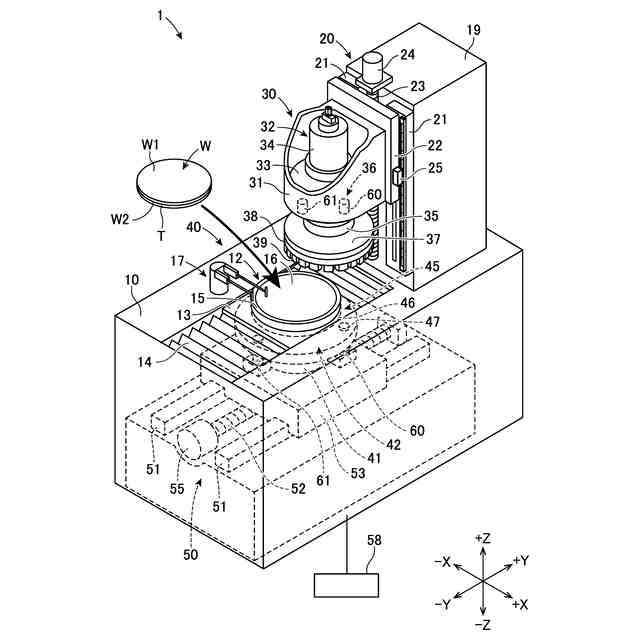
ウェーハを保持する保持ユニットと、該保持ユニットに保持されたウェーハを加工する加工具を装着して回転させる加工ユニットとを備える加工装置であって、
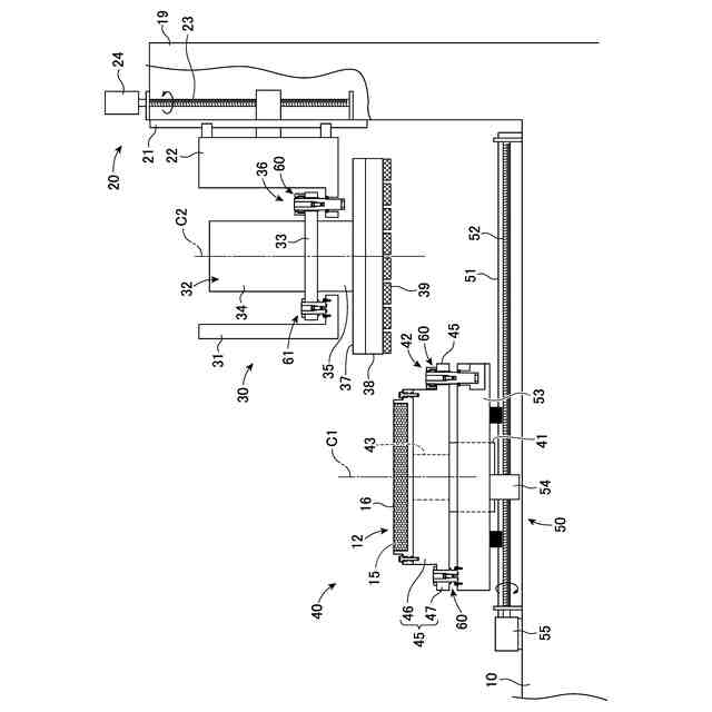
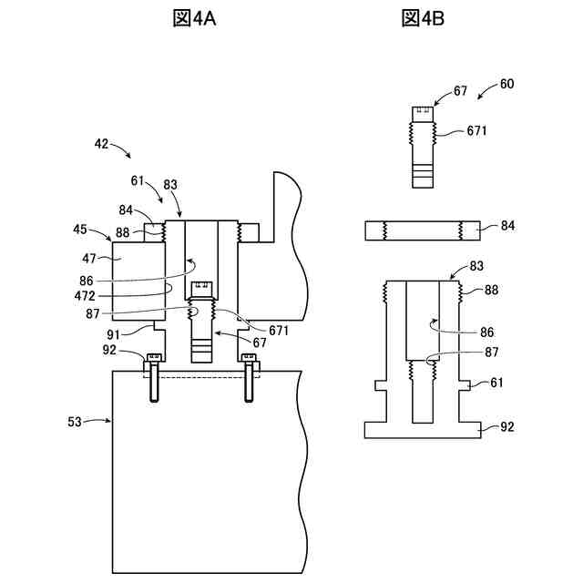
該保持ユニットは、ウェーハを保持するチャックテーブルと、該チャックテーブルを装着し回転させるテーブルベースと、該テーブルベースを支持する基台と、該基台に立設し該テーブルベースと該基台との間に配置する支持柱と、該支持柱と該基台との間に配置する回転支持部と、該支持柱内に柱状に配置する荷重センサとを備え、
該支持柱は、該テーブルベースに設けた雌ねじ部に螺合する雄ねじ部と、該回転支持部を介して該基台に支持され該雄ねじ部を回転させる操作で該支持柱の軸方向の位置を維持する取付面とを備える、加工装置。
続きを表示(約 550 文字)
【請求項2】
ウェーハを保持する保持ユニットと、該保持ユニットに保持されたウェーハを加工する加工具を装着して回転させる加工ユニットとを備える加工装置であって、
該加工ユニットは、該加工具を先端に装着するスピンドルユニットと、該スピンドルユニットを支持する基台と、該基台に立設し該スピンドルユニットと該基台との間に配置する支持柱と、該支持柱と該基台との間に配置する回転支持部と、該支持柱内に柱状に配置する荷重センサとを備え、
該支持柱は、該スピンドルユニットに設けた雌ねじ部に螺合する雄ねじ部と、該回転支持部を介して該基台に支持され該雄ねじ部を回転させる操作で該支持柱の軸方向の位置を維持する取付面とを備える、加工装置。
【請求項3】
該雌ねじ部及び該雄ねじ部の軸方向にて相反する方向の力を作用させる弾性部材を更に備える請求項1または請求項2に記載の加工装置。
【請求項4】
第1部品に設けた雌ねじ部に螺合する雄ねじ部と、
第2部品に設けた回転支持部を介して該第2部品に支持され該雄ねじ部を回転させる操作で軸方向の位置を維持する取付面と、
該雄ねじ部と該取付面との間で内部に配設する円柱状の荷重センサと、を備える支持柱。
発明の詳細な説明
【技術分野】
【0001】
本発明は、加工装置及び支持柱に関する。
続きを表示(約 1,700 文字)
【背景技術】
【0002】
特許文献1及び2は、チャックテーブルに保持されたウェーハを研削する研削装置を開示している。特許文献1及び2は、チャックテーブルの保持面と研削砥石の研削面とを平行な状態としてウェーハの表面を高精度に仕上げるため、チャックテーブルの傾きを調整する傾き調整機構を備えている。
【0003】
また、特許文献2は、チャックテーブルが保持したウェーハに研削砥石を押し付けた際のチャックテーブルが受ける荷重を荷重センサで検知している。特許文献2では、チャックテーブルを基台で支持しており、基台とチャックテーブルとの間に荷重センサを配置している。
【0004】
ここで、特許文献3は、チャックテーブルの傾き調整機構がチャックテーブルと基台とを連結する調整ねじを備えて構成され、調整ねじの内部に荷重センサを設けている。調整ねじは、ねじピッチが異なる2つの雄ねじ部を備え、2つの雄ねじ部の一方がチャックテーブルに設けられる雌ねじに螺合し、2つの雄ねじ部の他方が基台に設けられる雌ねじに螺合している。調整ねじの2つの雄ねじ部はねじピッチが異なるので、調整ねじを回転操作すると、調整ねじに対するチャックテーブルの移動距離と、基台の移動距離とが相違し、該相違によってチャックテーブルと基台との距離を長くしたり短くしたりして傾きを調整可能となる。
【先行技術文献】
【特許文献】
【0005】
特開2002-001653号公報
特開2021-115669号公報
特開2021-137879号公報
【発明の概要】
【発明が解決しようとする課題】
【0006】
特許文献2にあっては、荷重センサがチャックテーブルと基台との間に挟まれて配置されるので、傾き調整機構が大きくなり、ひいては研削装置全体も大きくなる、という問題がある。
【0007】
また、特許文献3は、調整ねじにおける2つの雄ねじ部のねじピッチが異なることで、チャックテーブルと基台との距離を調整可能としている。このため、かかる距離の調整量に対し、調整ねじの回転の操作量が多くなり、調整に要する作業時間が長くなる、という問題がある。
【0008】
本発明はかかる点に鑑みてなされたものであり、装置の大型化することを抑えることができ、2つの部品の距離を調整する作業時間を短くすることができる加工装置及び支持柱を提供することを目的の一つとする。
【課題を解決するための手段】
【0009】
本発明の一態様の加工装置は、ウェーハを保持する保持ユニットと、該保持ユニットに保持されたウェーハを加工する加工具を装着して回転させる加工ユニットとを備える加工装置であって、該保持ユニットは、ウェーハを保持するチャックテーブルと、該チャックテーブルを装着し回転させるテーブルベースと、該テーブルベースを支持する基台と、該基台に立設し該テーブルベースと該基台との間に配置する支持柱と、該支持柱と該基台との間に配置する回転支持部と、該支持柱内に柱状に配置する荷重センサとを備え、該支持柱は、該テーブルベースに設けた雌ねじ部に螺合する雄ねじ部と、該回転支持部を介して該基台に支持され該雄ねじ部を回転させる操作で該支持柱の軸方向の位置を維持する取付面とを備える。
【0010】
本発明の他の一態様の加工装置は、ウェーハを保持する保持ユニットと、該保持ユニットに保持されたウェーハを加工する加工具を装着して回転させる加工ユニットとを備える加工装置であって、該加工ユニットは、該加工具を先端に装着するスピンドルユニットと、該スピンドルユニットを支持する基台と、該基台に立設し該スピンドルユニットと該基台との間に配置する支持柱と、該支持柱と該基台との間に配置する回転支持部と、該支持柱内に柱状に配置する荷重センサとを備え、該支持柱は、該スピンドルユニットに設けた雌ねじ部に螺合する雄ねじ部と、該回転支持部を介して該基台に支持され該雄ねじ部を回転させる操作で該支持柱の軸方向の位置を維持する取付面とを備える。
(【0011】以降は省略されています)
この特許をJ-PlatPat(特許庁公式サイト)で参照する
関連特許
株式会社ディスコ
焼成炉
23日前
株式会社ディスコ
切削装置
1か月前
株式会社ディスコ
処理装置
23日前
株式会社ディスコ
研削装置
23日前
株式会社ディスコ
加工装置
25日前
株式会社ディスコ
加工方法
1か月前
株式会社ディスコ
切削装置
18日前
株式会社ディスコ
加工装置
1か月前
株式会社ディスコ
加工装置
12日前
株式会社ディスコ
加工装置
1か月前
株式会社ディスコ
加工装置
1か月前
株式会社ディスコ
加工装置
17日前
株式会社ディスコ
加工装置
1か月前
株式会社ディスコ
加工装置
1か月前
株式会社ディスコ
加工装置
9日前
株式会社ディスコ
搬送システム
23日前
株式会社ディスコ
搬送システム
1か月前
株式会社ディスコ
搬送システム
1か月前
株式会社ディスコ
シート固着装置
11日前
株式会社ディスコ
加工室の洗浄方法
20日前
株式会社ディスコ
液状樹脂供給装置
1か月前
株式会社ディスコ
配線引き抜き治具
23日前
株式会社ディスコ
保護部材形成装置
1か月前
株式会社ディスコ
保護部材形成装置
1か月前
株式会社ディスコ
レーザー加工装置
11日前
株式会社ディスコ
抗折強度測定装置
23日前
株式会社ディスコ
ウエーハの加工方法
24日前
株式会社ディスコ
ウェーハの分割方法
24日前
株式会社ディスコ
ウエーハの加工装置
1か月前
株式会社ディスコ
カーフチェック方法
24日前
株式会社ディスコ
被加工物の加工方法
17日前
株式会社ディスコ
スピンドルユニット
9日前
株式会社ディスコ
加工装置及び支持柱
24日前
株式会社ディスコ
被加工物の処理装置
1か月前
株式会社ディスコ
処理装置及び検知方法
18日前
株式会社ディスコ
検出方法及び処理装置
1か月前
続きを見る
他の特許を見る