TOP
|
特許
|
意匠
|
商標
特許ウォッチ
Twitter
他の特許を見る
10個以上の画像は省略されています。
公開番号
2025161518
公報種別
公開特許公報(A)
公開日
2025-10-24
出願番号
2024064778
出願日
2024-04-12
発明の名称
配線引き抜き治具
出願人
株式会社ディスコ
代理人
弁理士法人酒井国際特許事務所
主分類
H01R
43/22 20060101AFI20251017BHJP(基本的電気素子)
要約
【課題】端子台から配線を容易に引き抜くことができる配線引き抜き治具を提供すること。
【解決手段】配線引き抜き治具1は、ケースとケースに形成された複数の配線差し込み口と配線を配線差し込み口から解放する解放ボタンとを有する端子台において、配線差し込み口に差し込まれた配線を配線差し込み口から解放する治具であって、支点13と、支点13を中心として配線を保持する第1の配線保持部材11と第2の配線保持部材12とを有する配線保持部10と、支点13を中心として配線保持部10と反対側に第1のアーム21と第2のアーム22とを有するハンドル20と、第1の配線保持部材11に備えられ第1のアーム21を可動することによって配線を挟持する配線挟持部材30と、第2の配線保持部材12に備えられ、解放ボタンを押圧する押圧部材50を備える。
【選択図】図1
特許請求の範囲
【請求項1】
本体と、該本体に形成された複数の配線差し込み口と、配線を該配線差し込み口から解放する解放ボタンと、を有する端子台において、該配線差し込み口に差し込まれて該端子台に接続された該配線を該配線差し込み口から解放する配線引き抜き治具であって、
支点と、該支点を中心として該配線を保持する第1の配線保持部と第2の配線保持部とを有する配線保持部と、
該支点を中心として該配線保持部と反対側に第1のアームと第2のアームとを有するハンドルと、
該第1の配線保持部に備えられ該第1のアームを可動することによって該配線を挟持する配線挟持部材と、
を少なくとも含み、
該第2の配線保持部に備えられ、該解放ボタンを押圧する押圧部材を備える、
配線引き抜き治具。
発明の詳細な説明
【技術分野】
【0001】
本発明は、配線引き抜き治具に関する。
続きを表示(約 2,000 文字)
【背景技術】
【0002】
各種の照明設備や、電気設備においては、配線を接続するための端子台を備えている。
配線を端子台に接続するときには、工具を使用せず、端子台の配線挿入口に配線を押し込んで接続固定する(例えば、特許文献1参照)。
【先行技術文献】
【特許文献】
【0003】
特開2001-167816号公報
【発明の概要】
【発明が解決しようとする課題】
【0004】
前述した特許文献1に示された端子台において、配線を引き抜く作業は、手作業で行われ、一方の手で引き抜き口に工具を差し込んで押し込み、もう一方の手で配線を引き抜かなければならず、特に作業領域が狭い場合などは、作業が煩雑であるという問題があった。
【0005】
本発明の目的は、端子台から配線を容易に引き抜くことができる配線引き抜き治具を提供することを目的とする。
【課題を解決するための手段】
【0006】
上述した課題を解決し、目的を達成するために、本発明の配線引き抜き治具は、本体と、該本体に形成された複数の配線差し込み口と、配線を該配線差し込み口から解放する解放ボタンと、を有する端子台において、該配線差し込み口に差し込まれて該端子台に接続された該配線を該配線差し込み口から解放する配線引き抜き治具であって、支点と、該支点を中心として該配線を保持する第1の配線保持部と第2の配線保持部とを有する配線保持部と、該支点を中心として該配線保持部と反対側に第1のアームと第2のアームとを有するハンドルと、該第1の配線保持部に備えられ該第1のアームを可動することによって該配線を挟持する配線挟持部材と、を少なくとも含み、該第2の配線保持部に備えられ、該解放ボタンを押圧する押圧部材を備えることを特徴とする。
【発明の効果】
【0007】
本発明は、端子台から配線を容易に引き抜くことができるという効果を奏する。
【図面の簡単な説明】
【0008】
図1は、実施形態1に係る配線引き抜き治具の構成例を模式的に示す側面図である。
図2は、図1に示された配線引き抜き治具の第1のアームが第1の配線保持部に対して回転した状態を模式的に示す側面図である。
図3は、図2に示された配線引き抜き治具の配線保持部が支点を中心に回転した状態を模式的に示す側面図である。
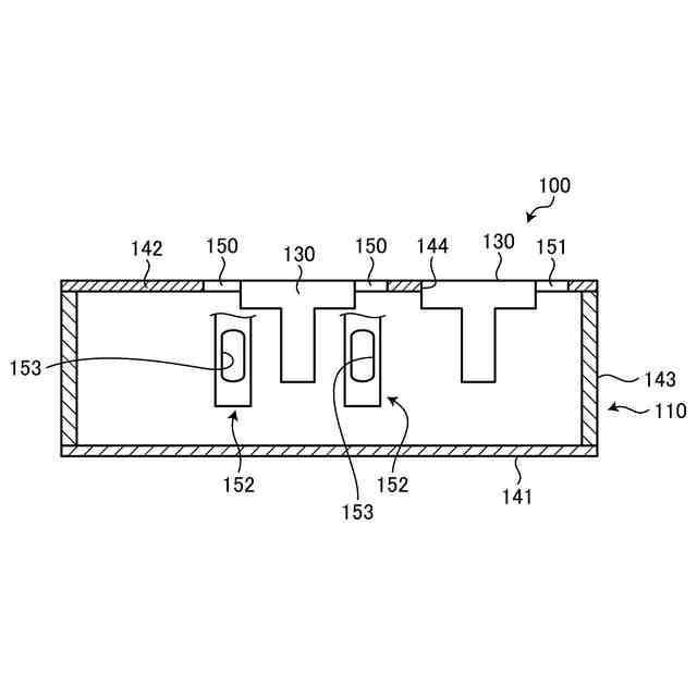
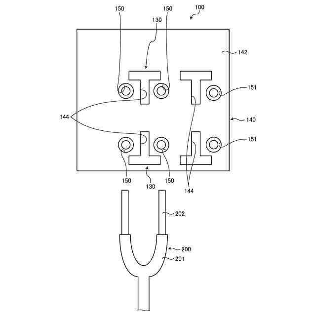
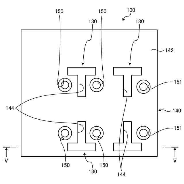
図4は、図1に示された配線引き抜き治具により配線が引き抜かれる端子台を模式的に示す平面図である。
図5は、図4中のV-V線に沿う断面を模式的に示す断面図である。
図6は、図4に示された端子台が電気設備の一例である照明設備に設置された状態を模式的に示す斜視図である。
図7は、図6に示された照明設備を模式的に示す斜視図である。
図8は、図4に示された端子台と配線を模式的に示す平面図である。
図9は、図8に示された端子台に配線が接続された状態を模式的に示す断面図である。
図10は、図9中のX-X線に沿う断面を模式的に示す断面図である。
図11は、配線引き抜き治具の切り欠き内に端子台に接続された配線を通した状態を一部断面で模式的に示す側面図である。
図12は、図11に示された配線引き抜き治具の第1のアームを回転して配線挟持部材が配線を挟持した状態を一部断面で模式的に示す側面図である。
図13は、図12に示された配線引き抜き治具の支点を中心に配線保持部を回転して配線挟持部材が挟持した配線を端子金具の芯線通し孔から引き抜いた状態を一部断面で模式的に示す側面図である。
【発明を実施するための形態】
【0009】
本発明を実施するための形態(実施形態)につき、図面を参照しつつ詳細に説明する。以下の実施形態に記載した内容により本発明が限定されるものではない。また、以下に記載した構成要素には、当業者が容易に想定できるもの、実質的に同一のものが含まれる。さらに、以下に記載した構成は適宜組み合わせることが可能である。また、本発明の要旨を逸脱しない範囲で構成の種々の省略、置換又は変更を行うことができる。
【0010】
〔実施形態1〕
本発明の実施形態1に係る配線引き抜き治具を図面に基づいて説明する。図1は、実施形態1に係る配線引き抜き治具の構成例を模式的に示す側面図である。図2は、図1に示された配線引き抜き治具の第1のアームが第1の配線保持部に対して回転した状態を模式的に示す側面図である。図3は、図2に示された配線引き抜き治具の配線保持部が支点を中心に回転した状態を模式的に示す側面図である。
(【0011】以降は省略されています)
この特許をJ-PlatPat(特許庁公式サイト)で参照する
関連特許
株式会社ディスコ
焼成炉
22日前
株式会社ディスコ
切削装置
1か月前
株式会社ディスコ
加工装置
16日前
株式会社ディスコ
加工方法
29日前
株式会社ディスコ
加工装置
24日前
株式会社ディスコ
切削装置
17日前
株式会社ディスコ
加工装置
11日前
株式会社ディスコ
加工装置
1か月前
株式会社ディスコ
加工装置
8日前
株式会社ディスコ
加工装置
1か月前
株式会社ディスコ
研削装置
22日前
株式会社ディスコ
処理装置
22日前
株式会社ディスコ
加工装置
1か月前
株式会社ディスコ
搬送システム
1か月前
株式会社ディスコ
搬送システム
22日前
株式会社ディスコ
搬送システム
29日前
株式会社ディスコ
シート固着装置
10日前
株式会社ディスコ
加工室の洗浄方法
19日前
株式会社ディスコ
保護部材形成装置
1か月前
株式会社ディスコ
レーザー加工装置
10日前
株式会社ディスコ
液状樹脂供給装置
1か月前
株式会社ディスコ
配線引き抜き治具
22日前
株式会社ディスコ
保護部材形成装置
29日前
株式会社ディスコ
抗折強度測定装置
22日前
株式会社ディスコ
ウエーハの加工装置
29日前
株式会社ディスコ
被加工物の加工方法
16日前
株式会社ディスコ
カーフチェック方法
23日前
株式会社ディスコ
加工装置及び支持柱
23日前
株式会社ディスコ
スピンドルユニット
8日前
株式会社ディスコ
ウェーハの分割方法
23日前
株式会社ディスコ
ウエーハの加工方法
23日前
株式会社ディスコ
被加工物の処理装置
1か月前
株式会社ディスコ
搬出装置及び切削装置
1か月前
株式会社ディスコ
キャリア板の除去方法
10日前
株式会社ディスコ
洗浄装置及び洗浄方法
3日前
株式会社ディスコ
シリアル接続システム
8日前
続きを見る
他の特許を見る