TOP
|
特許
|
意匠
|
商標
特許ウォッチ
Twitter
他の特許を見る
公開番号
2025176454
公報種別
公開特許公報(A)
公開日
2025-12-04
出願番号
2024082625
出願日
2024-05-21
発明の名称
加工装置
出願人
株式会社ディスコ
代理人
弁理士法人酒井国際特許事務所
主分類
B24B
49/12 20060101AFI20251127BHJP(研削;研磨)
要約
【課題】切削ブレードの切れ刃が破損することなく発光部及び受光部を支持した支持部を所定の位置に確実に位置付けることができる加工装置を提供すること。
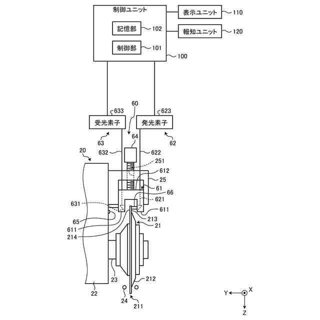
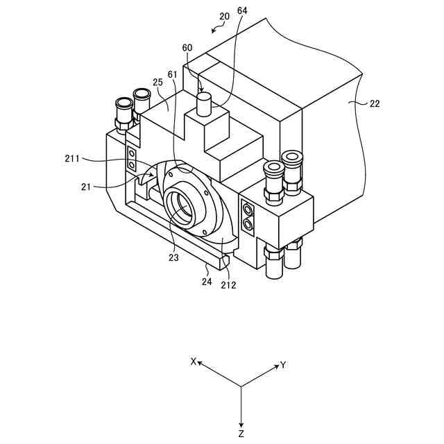
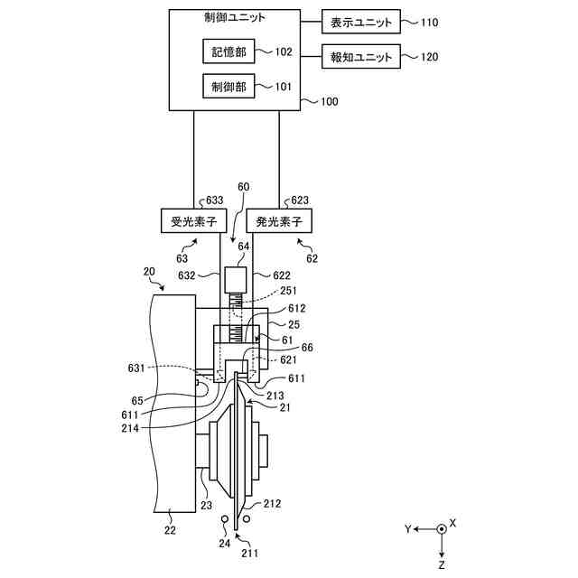
【解決手段】加工装置1は、被加工物を保持するチャックテーブルと、被加工物を切削する切れ刃211を有する切削ブレード21が装着されるスピンドル23を含む切削ユニット20と、切れ刃211の一方の面213側に対峙した発光部62と、切れ刃211の他方の面214側に対峙した受光部63と、発光部62と受光部63とを支持する支持部61と、支持部61を所定の位置に位置付ける移動部64とを含んだ検出機構60と、制御ユニット100を備え、記憶部102に最も切れ刃211に近付くことが許容された支持部61の位置を所定の閾値として記憶しておき、移動部64により支持部61を移動させて、支持部61の位置が所定の閾値よりも切れ刃に近付くと報知を発出する。
【選択図】図3
特許請求の範囲
【請求項1】
加工装置であって、
被加工物を保持するチャックテーブルと、
該被加工物を切削する環状の切れ刃を有する切削ブレードが装着されるスピンドルを含む切削ユニットと、
該環状の切れ刃の厚さ方向の一方側に対峙して配設された発光部と、
該環状の切れ刃の厚さ方向の他方側に対峙して配設され該発光部から照射された光を受光する受光部と、
該発光部と該受光部とを支持する支持部と、
該支持部の位置を所定の位置に位置付ける移動部と、
を含み構成される該環状の切れ刃の状態を検出する検出機構と、
制御手段を備え、
最も該切れ刃に近付くことが許容された該支持部の位置を所定の閾値として該制御手段に記憶しておき、
該移動部により該支持部を移動させて、該支持部の位置が該所定の閾値よりも該切れ刃に近付くと報知を発出する、
加工装置。
続きを表示(約 95 文字)
【請求項2】
該加工装置は、表示画面を備え、
該表示画面に、該支持部を該切れ刃に近づけるか又は該切れ刃から遠ざけるかを表示させる、
請求項1記載の加工装置。
発明の詳細な説明
【技術分野】
【0001】
本発明は、加工装置に関する。
続きを表示(約 930 文字)
【背景技術】
【0002】
IC(Integrated Circuit)、LSI(Large Scale Integration)等のデバイスが表面に複数形成されたシリコンウェーハ(以下、被加工物と記す)は、裏面が研削されて所定の厚みに形成された後、切削装置によって個々のデバイスに分割され、携帯電話、パソコン等の電気機器に利用される。
【0003】
上記個々のデバイスに分割する工程においては、切削装置のスピンドル先端に切削ブレードを装着して切削加工によって個々のデバイスに分割される。
【0004】
スピンドル先端には、切削ブレード、被加工物に切削水を供給するためのノズルを備えたブレードカバーを備える。
【0005】
また、切削ブレードの環状の切れ刃に異常があった場合は、被加工物を加工すると切削ブレードの破損や被加工物の破損などの問題が発生する。
【0006】
そのため、ブレードカバーに切削ブレードの異常を検出する検出機構を備える技術が実用に供されている(例えば、特許文献1参照)。
【0007】
特許文献1等に示された検出機構は、切削ブレードの環状の切れ刃の厚さ方向の一方側に対峙して配設された発光部と、環状の切れ刃の厚さ方向の他方側に対峙して配設され発光手段から照射された光を受光する受光部と、発光部と受光部とを支持する支持部と、支持部(発光部と受光部)の位置を所定の位置に位置付ける移動部と、から構成される。
【0008】
そして、前述した検出機構は、移動部を操作して、支持部を上下方向に移動させることによって、支持部を所定の位置に位置付けて使用される。
【先行技術文献】
【特許文献】
【0009】
特開2012-051092号公報
【発明の概要】
【発明が解決しようとする課題】
【0010】
前述した検出機構は、現状は、オペレータが、手作業で移動部を操作することにより上下方向に移動させて支持部を所定の位置に位置付けていた。
(【0011】以降は省略されています)
この特許をJ-PlatPat(特許庁公式サイト)で参照する
関連特許
株式会社ディスコ
加工装置
14日前
株式会社ディスコ
掃除器具
14日前
株式会社ディスコ
加工装置
今日
株式会社ディスコ
加工装置
27日前
株式会社ディスコ
加工方法
1日前
株式会社ディスコ
加工装置
7日前
株式会社ディスコ
処理装置
6日前
株式会社ディスコ
研削装置
7日前
株式会社ディスコ
処理方法
14日前
株式会社ディスコ
加工装置
15日前
株式会社ディスコ
切削装置
6日前
株式会社ディスコ
切削装置
8日前
株式会社ディスコ
掃除器具
14日前
株式会社ディスコ
搬送システム
14日前
株式会社ディスコ
搬送システム
7日前
株式会社ディスコ
搬送システム
14日前
株式会社ディスコ
搬送システム
14日前
株式会社ディスコ
搬送システム
6日前
株式会社ディスコ
カセットステージ
7日前
株式会社ディスコ
スピンドルユニット
27日前
株式会社ディスコ
洗浄装置及び洗浄方法
22日前
株式会社ディスコ
分割装置及び分割方法
6日前
株式会社ディスコ
シリアル接続システム
27日前
株式会社ディスコ
吸引面の中心検出方法
1日前
株式会社ディスコ
処理装置及び処理方法
今日
株式会社ディスコ
キャリア板の除去方法
29日前
株式会社ディスコ
試験装置、及び、試験方法
7日前
株式会社ディスコ
支持ウェーハの再使用方法
6日前
株式会社ディスコ
基板の製造方法及び処理装置
6日前
株式会社ディスコ
フィルターハウジングホルダー
27日前
株式会社ディスコ
ウェーハ及びウェーハの製造方法
7日前
株式会社ディスコ
加工装置の検査方法及び試験用部材
6日前
株式会社ディスコ
切削装置、及び被加工物の切削方法
27日前
株式会社ディスコ
支持部材及び処理対象物の処理方法
27日前
株式会社ディスコ
パッケージデバイスチップの製造方法
27日前
株式会社ディスコ
レーザ加工装置およびレーザ加工方法
8日前
続きを見る
他の特許を見る