TOP
|
特許
|
意匠
|
商標
特許ウォッチ
Twitter
他の特許を見る
10個以上の画像は省略されています。
公開番号
2025176453
公報種別
公開特許公報(A)
公開日
2025-12-04
出願番号
2024082624
出願日
2024-05-21
発明の名称
処理装置及び処理方法
出願人
株式会社ディスコ
代理人
弁理士法人酒井国際特許事務所
主分類
H01L
21/68 20060101AFI20251127BHJP(基本的電気素子)
要約
【課題】半導体ウェーハにより多くのデバイスを形成することができることを可能としながらも所定の向きに半導体ウェーハを位置付けることができること。
【解決手段】処理方法は、半導体ウェーハの処理方法であって、半導体ウェーハは、表面と、表面の背面の裏面と、表面から該裏面に至る側面と、を含み、側面に半導体ウェーハの結晶方位を示す平坦鏡面部を有し、半導体ウェーハの平坦鏡面部を検出する検出ステップ101と、平坦鏡面部が所定の向きとなるよう半導体ウェーハをウェーハカセットに収容する収容ステップ102と、を備える。
【選択図】図3
特許請求の範囲
【請求項1】
半導体ウェーハの処理装置であって、
該半導体ウェーハは、表面と、該表面の背面の裏面と、該表面から該裏面に至る側面と、を含み、該側面に該半導体ウェーハの結晶方位を示す平坦鏡面部を有し、
該処理装置は、
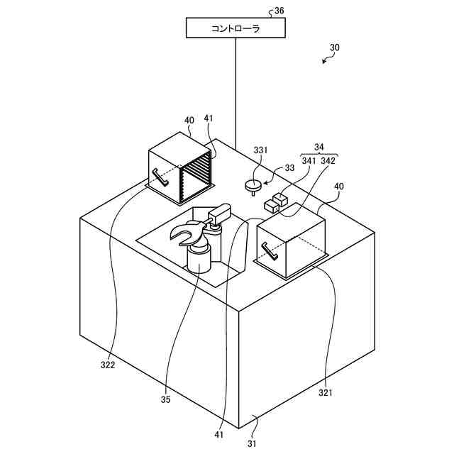
該半導体ウェーハを収容自在なウェーハカセットが載置される載置台と、
該平坦鏡面部を検出する検出ユニットと、
該検出ユニットで該平坦鏡面部が検出された該半導体ウェーハを該載置台に載置された該ウェーハカセットへと搬送する搬送ユニットと、を備え、
該搬送ユニットは、該ウェーハカセットに対して該平坦鏡面部が所定の向きとなるよう該半導体ウェーハを該ウェーハカセットに収容する、処理装置。
続きを表示(約 360 文字)
【請求項2】
半導体ウェーハの処理方法であって、
該半導体ウェーハは、表面と、該表面の背面の裏面と、該表面から該裏面に至る側面と、を含み、該側面に該半導体ウェーハの結晶方位を示す平坦鏡面部を有し、
該半導体ウェーハの該平坦鏡面部を検出する検出ステップと、
該平坦鏡面部が所定の向きとなるよう該半導体ウェーハをウェーハカセットに収容する収容ステップと、を備えた処理方法。
【請求項3】
該収容ステップを実施した後、該ウェーハカセットから該半導体ウェーハを搬送先へと所定の搬送経路で搬送する搬送ステップを備え、
該収容ステップでは、該搬送先に搬送された該半導体ウェーハが所定の向きに位置づくように該半導体ウェーハが該ウェーハカセットに収容される、請求項2に記載の処理方法。
発明の詳細な説明
【技術分野】
【0001】
本発明は、半導体ウェーハの処理装置及び処理方法に関する。
続きを表示(約 1,300 文字)
【背景技術】
【0002】
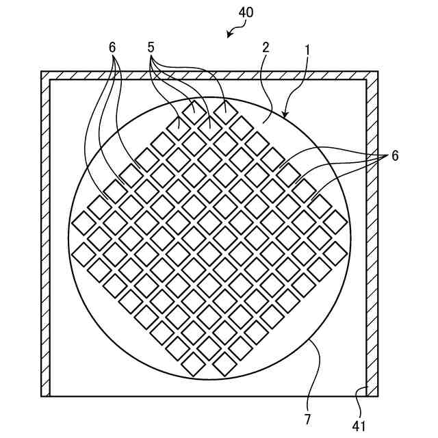
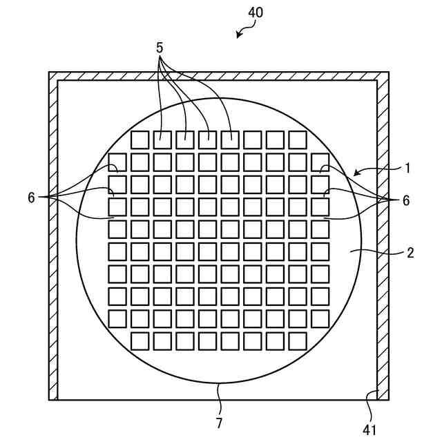
半導体材料からなるウェーハには、ウェーハの結晶方位を示すマークとしてノッチやオリエンテーションフラット等の切欠がウェーハの外周に形成されている。
【0003】
ノッチやオリエンテーションフラットは半導体デバイスの製造工程においてウェーハの大まかな位置合わせに利用されており、半導体デバイスの製造工程の各種装置内でウェーハ外周縁の切欠を検出し、切欠の位置をもとにウェーハを所定の向きに位置付けていた。
【0004】
このために、従来からノッチ等を検出する方法が用いられている(例えば、特許文献1参照)。
【先行技術文献】
【特許文献】
【0005】
特開2022-072520号公報
【発明の概要】
【発明が解決しようとする課題】
【0006】
しかし、ノッチやオリエンテーションフラットが形成されたウェーハでは、表面に形成できるデバイスの数が制限されてしまうため、改善が切望されている。
【0007】
ウェーハに切欠を形成しないことで表面に形成できるデバイスの数を切欠が形成されたウェーハに比べて増やすことができる。しかし、切欠の位置をもとにウェーハを所定の向きに位置付けていた従来の装置においては、切欠が形成されていないウェーハを所定の向きに位置付けることができない、すなわち、結晶方位が所定の向きとなるようにウェーハを位置付けることができないという問題が生じる。
【0008】
本発明の目的は、半導体ウェーハにより多くのデバイスを形成することができることを可能としながらも所定の向きに半導体ウェーハを位置付けることができる処理装置及び処理方法を提供することである。
【課題を解決するための手段】
【0009】
上述した課題を解決し、目的を達成するために、本発明の処理装置は、半導体ウェーハの処理装置であって、該半導体ウェーハは、表面と、該表面の背面の裏面と、該表面から該裏面に至る側面と、を含み、該側面に該半導体ウェーハの結晶方位を示す平坦鏡面部を有し、該処理装置は、該半導体ウェーハを収容自在なウェーハカセットが載置される載置台と、該平坦鏡面部を検出する検出ユニットと、該検出ユニットで該平坦鏡面部が検出された該半導体ウェーハを該載置台に載置された該ウェーハカセットへと搬送する搬送ユニットと、を備え、該搬送ユニットは、該ウェーハカセットに対して該平坦鏡面部が所定の向きとなるよう該半導体ウェーハを該ウェーハカセットに収容することを特徴とする。
【0010】
本発明の処理方法は、半導体ウェーハの処理方法であって、該半導体ウェーハは、表面と、該表面の背面の裏面と、該表面から該裏面に至る側面と、を含み、該側面に該半導体ウェーハの結晶方位を示す平坦鏡面部を有し、該半導体ウェーハの該平坦鏡面部を検出する検出ステップと、該平坦鏡面部が所定の向きとなるよう該半導体ウェーハをウェーハカセットに収容する収容ステップと、を備えたことを特徴とする。
(【0011】以降は省略されています)
この特許をJ-PlatPat(特許庁公式サイト)で参照する
関連特許
株式会社ディスコ
加工装置
今日
株式会社ディスコ
加工方法
1日前
株式会社ディスコ
処理装置
6日前
株式会社ディスコ
処理装置及び処理方法
今日
株式会社ディスコ
吸引面の中心検出方法
1日前
株式会社ディスコ
支持ウェーハの再使用方法
6日前
株式会社ディスコ
保護部材形成装置及び保護部材形成方法
1日前
株式会社ディスコ
ウェーハの加工方法、インゴットの加工方法及びウェーハ
今日
株式会社ディスコ
半導体ウェーハ、半導体ウェーハの加工方法及び処理装置
今日
APB株式会社
蓄電セル
1か月前
東ソー株式会社
絶縁電線
1か月前
個人
フレキシブル電気化学素子
1か月前
株式会社東芝
端子台
1か月前
株式会社ユーシン
操作装置
1か月前
マクセル株式会社
電源装置
1か月前
日新イオン機器株式会社
イオン源
1か月前
ローム株式会社
半導体装置
1か月前
株式会社ホロン
冷陰極電子源
1か月前
株式会社GSユアサ
蓄電設備
1か月前
株式会社GSユアサ
蓄電設備
1か月前
太陽誘電株式会社
コイル部品
1か月前
株式会社GSユアサ
蓄電装置
28日前
株式会社GSユアサ
蓄電装置
14日前
株式会社GSユアサ
蓄電装置
1か月前
株式会社GSユアサ
蓄電装置
1か月前
三菱電機株式会社
回路遮断器
22日前
富士電機株式会社
電磁接触器
14日前
ノリタケ株式会社
熱伝導シート
1か月前
北道電設株式会社
配電具カバー
1か月前
ホシデン株式会社
複合コネクタ
8日前
トヨタ自動車株式会社
バッテリ
1か月前
トヨタ自動車株式会社
蓄電装置
1か月前
トヨタ自動車株式会社
冷却構造
1か月前
トヨタ自動車株式会社
蓄電装置
6日前
大電株式会社
電線又はケーブル
6日前
日新イオン機器株式会社
基板処理装置
1か月前
続きを見る
他の特許を見る