TOP
|
特許
|
意匠
|
商標
特許ウォッチ
Twitter
他の特許を見る
公開番号
2025174652
公報種別
公開特許公報(A)
公開日
2025-11-28
出願番号
2024081141
出願日
2024-05-17
発明の名称
支持ウェーハの再使用方法
出願人
株式会社ディスコ
代理人
インフォート弁理士法人
主分類
H01L
21/301 20060101AFI20251120BHJP(基本的電気素子)
要約
【課題】処理費用を抑えて支持ウェーハを再使用可能とする。
【解決手段】支持ウェーハであるサポート基板40の再使用方法は、接着剤41によってサポート基板40に貼着したチップまたはウェーハからサポート基板40を剥離した後、サポート基板40から接着剤41を除去する方法である。この再使用方法は、チップまたはウェーハを接着剤41から剥離したことにより残存するサポート基板40の接着剤41にレーザビームLを照射させ、接着剤41を除去する接着剤除去工程を有する。
【選択図】図5
特許請求の範囲
【請求項1】
接着剤によって支持ウェーハに貼着したチップまたはウェーハから該支持ウェーハを剥離した後、該支持ウェーハから該接着剤を除去する支持ウェーハの再使用方法であって、
該チップまたは該ウェーハを該接着剤から剥離したことにより残存する該支持ウェーハの該接着剤に、レーザビームを照射させ、該接着剤を除去する接着剤除去工程、
を備える、支持ウェーハの再使用方法。
発明の詳細な説明
【技術分野】
【0001】
本発明は、支持ウェーハの再使用方法に関する。
続きを表示(約 1,500 文字)
【背景技術】
【0002】
積層デバイスの製造方法として、支持ウェーハ上に良品として選別された半導体デバイスチップを接着した仮ウェーハを、半導体ウェーハと貼り合わせて、貼り合わせウェーハを作成し、その後、貼り合わせウェーハから仮ウェーハを構成する支持ウェーハを剥離する方法が知られている(特許文献1、特許文献2参照)。貼り合わせウェーハを作成することで仮ウェーハと半導体ウェーハの各々が有する半導体デバイスがウェーハの厚み方向に積層される。
【0003】
貼り合わせウェーハから剥離された支持ウェーハには、半導体デバイスチップの接着に用いられた接着剤が残存している。支持ウェーハを再使用して新たな貼り合わせウェーハを作成するためには、支持ウェーハに残存した接着剤を除去することが望ましい。支持ウェーハに残存した接着剤の除去には、例えば、特許文献3に記載されるように、有機溶剤を使用することができる。
【先行技術文献】
【特許文献】
【0004】
特開2012-134231号公報
特開2015-233049号公報
特開平09-069509号公報
【発明の概要】
【発明が解決しようとする課題】
【0005】
しかしながら、有機溶剤を使用すると廃液処理に費用が掛かるという問題がある。本発明は、上記の事情を鑑みてなされたものであって、処理費用を抑えて支持ウェーハを再使用可能とする技術を提供することを目的とする。
【課題を解決するための手段】
【0006】
本発明の一態様に係る支持ウェーハの再使用方法は、接着剤によって支持ウェーハに貼着したチップまたはウェーハから該支持ウェーハを剥離した後、該支持ウェーハから該接着剤を除去する支持ウェーハの再使用方法であって、該チップまたは該ウェーハを該接着剤から剥離したことにより残存する該支持ウェーハの該接着剤に、レーザビームを照射させ、該接着剤を除去する接着剤除去工程を備える。
【発明の効果】
【0007】
本発明によれば、処理費用を抑えて支持ウェーハを再使用可能とする技術を提供することができる。
【図面の簡単な説明】
【0008】
第1半導体ウェーハ及び第2半導体ウェーハの概略斜視図である。
貼り合わせ工程の説明図であり、貼り合わせ工程開始時の様子を示している。
貼り合わせ工程の説明図であり、貼り合わせ工程完了時の様子を示している。
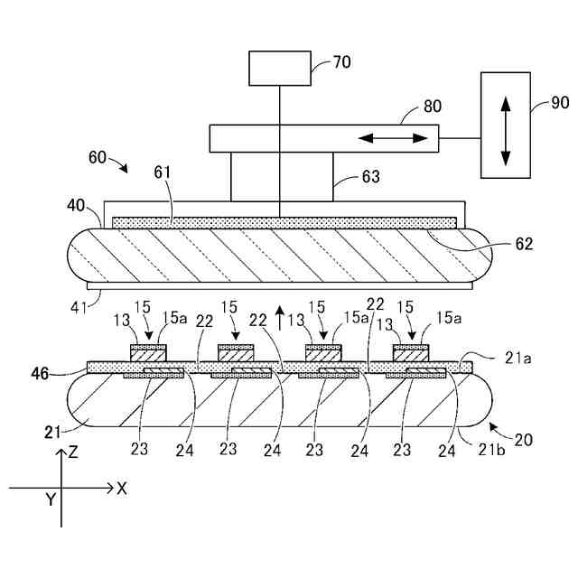
サポート基板剥離工程の説明図である。
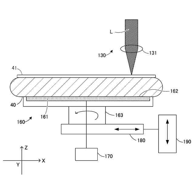
接着剤除去工程の説明図である。
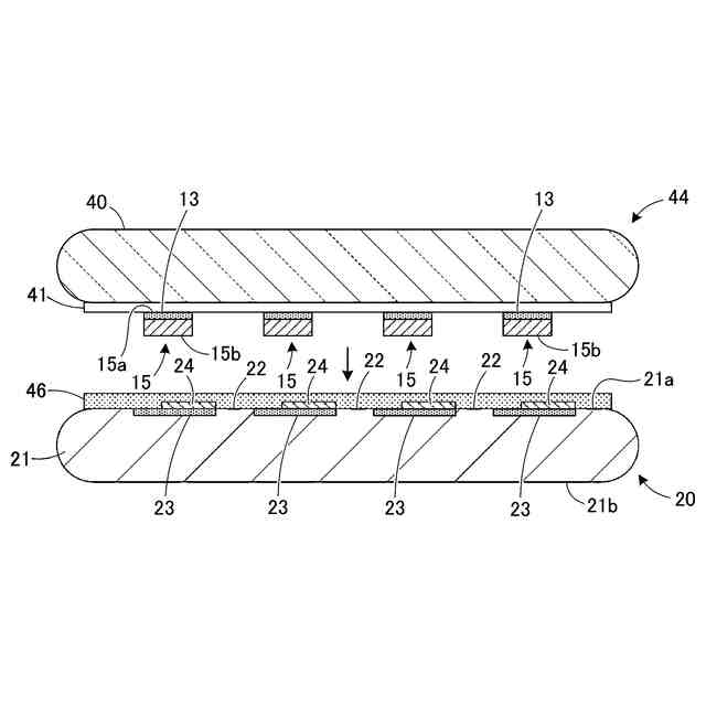
接着剤除去工程の別の説明図である。
【発明を実施するための形態】
【0009】
以下、添付図面を参照して、本実施の形態について説明する。先ず、図1を参照して、積層デバイスの製造に用いられる第1半導体ウェーハと第2半導体ウェーハについて説明する。図1は、第1半導体ウェーハ及び第2半導体ウェーハの概略斜視図である。
【0010】
図1に示すように、第1半導体ウェーハ10は、表面11aと裏面11bとを有する円板状の第1基台11を備え、第1基台11の表面11aには格子状に交差する複数の第1分割予定ライン(ストリート)12が設定されている。第1半導体ウェーハ10は、LSI等からなる複数の第1半導体デバイス13を更に備え、各第1半導体デバイス13は、第1分割予定ライン12によって区画された、表面11aの各領域に配設されている。
(【0011】以降は省略されています)
この特許をJ-PlatPat(特許庁公式サイト)で参照する
関連特許
株式会社ディスコ
処理装置
1日前
株式会社ディスコ
切削装置
1日前
株式会社ディスコ
搬送システム
1日前
株式会社ディスコ
分割装置及び分割方法
1日前
株式会社ディスコ
支持ウェーハの再使用方法
1日前
株式会社ディスコ
基板の製造方法及び処理装置
1日前
株式会社ディスコ
加工装置の検査方法及び試験用部材
1日前
株式会社ディスコ
エッジトリミング方法及びエッジトリミング装置
1日前
東ソー株式会社
絶縁電線
1か月前
APB株式会社
蓄電セル
1か月前
株式会社東芝
端子台
1か月前
ローム株式会社
半導体装置
1か月前
マクセル株式会社
電源装置
1か月前
株式会社GSユアサ
蓄電装置
9日前
株式会社GSユアサ
蓄電装置
1か月前
株式会社GSユアサ
蓄電装置
23日前
株式会社GSユアサ
蓄電装置
1か月前
富士電機株式会社
電磁接触器
9日前
三菱電機株式会社
回路遮断器
17日前
株式会社ホロン
冷陰極電子源
1か月前
日本特殊陶業株式会社
保持装置
22日前
トヨタ自動車株式会社
冷却構造
1か月前
大電株式会社
電線又はケーブル
1日前
ホシデン株式会社
複合コネクタ
3日前
日本特殊陶業株式会社
保持装置
1か月前
トヨタ自動車株式会社
蓄電装置
1か月前
北道電設株式会社
配電具カバー
1か月前
トヨタ自動車株式会社
蓄電装置
1日前
トヨタ自動車株式会社
バッテリ
1か月前
日新イオン機器株式会社
基板処理装置
1か月前
ローム株式会社
半導体モジュール
10日前
住友電装株式会社
コネクタ
1か月前
日亜化学工業株式会社
半導体レーザ素子
1か月前
株式会社デンソー
電子装置
1か月前
住友電装株式会社
コネクタ
9日前
トヨタ自動車株式会社
密閉型電池
1か月前
続きを見る
他の特許を見る