TOP
|
特許
|
意匠
|
商標
特許ウォッチ
Twitter
他の特許を見る
10個以上の画像は省略されています。
公開番号
2025167504
公報種別
公開特許公報(A)
公開日
2025-11-07
出願番号
2024072184
出願日
2024-04-26
発明の名称
切削装置、及び被加工物の切削方法
出願人
株式会社ディスコ
代理人
個人
,
個人
,
個人
,
個人
,
個人
,
個人
主分類
B24B
55/06 20060101AFI20251030BHJP(研削;研磨)
要約
【課題】切削ブレードの切削砥石に付着する屑を除去して被加工物を高品質に切削する。
【解決手段】被加工物を切削する切削装置であって、該被加工物を保持するチャックテーブルと、該チャックテーブルで保持された該被加工物を切削する円環状の切削砥石を備えた切削ブレードを回転可能に装着できる切削ユニットと、を備え、該切削ユニットは、装着された該切削ブレードの一方の側面に洗浄流体を噴射する第1ノズルと、該切削ブレードの他方の側面に該洗浄流体を噴射する第2ノズルと、を含み、該第1ノズル及び該第2ノズルには、該洗浄流体が噴出する噴射口がそれぞれ形成されており、該洗浄流体は、水及び気体の両方を含む混合流体である。
【選択図】図5
特許請求の範囲
【請求項1】
被加工物を切削する切削装置であって、
該被加工物を保持するチャックテーブルと、
該チャックテーブルで保持された該被加工物を切削する円環状の切削砥石を備えた切削ブレードを回転可能に装着できる切削ユニットと、を備え、
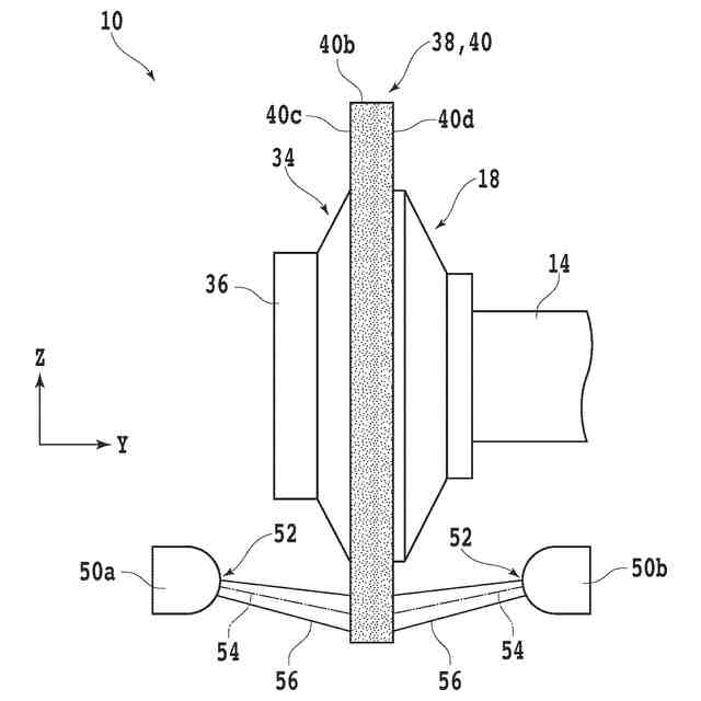
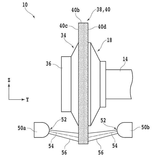
該切削ユニットは、装着された該切削ブレードの一方の側面に洗浄流体を噴射する第1ノズルと、該切削ブレードの他方の側面に該洗浄流体を噴射する第2ノズルと、を含み、
該第1ノズル及び該第2ノズルには、該洗浄流体が噴出する噴射口がそれぞれ形成されており、
該洗浄流体は、水及び気体の両方を含む混合流体であることを特徴とする切削装置。
続きを表示(約 790 文字)
【請求項2】
該噴射口は、水平方向及び鉛直方向の間の方向に向いていることを特徴とする請求項1記載の切削装置。
【請求項3】
被加工物を保持するチャックテーブルと、該チャックテーブルで保持された該被加工物を切削する円環状の切削砥石を備えた切削ブレードを装着可能な切削ユニットと、を備え、該切削ユニットは、装着された該切削ブレードの一方の側面に洗浄流体を噴射する第1ノズルと、該切削ブレードの他方の側面に該洗浄流体を噴射する第2ノズルと、を含み、該第1ノズル及び該第2ノズルには、該洗浄流体が噴出する噴射口がそれぞれ形成されており、該噴射口は、水平方向と鉛直方向の間の方向に向いている切削装置を使用して、該被加工物を切削する被加工物の切削方法であって、
該切削ユニットに装着された該切削ブレードの該切削砥石をドレスするドレッシングステップと、
該第1ノズルの該噴射口から該切削砥石の該一方の側面に該洗浄流体を噴射するとともに該第2ノズルの該噴射口から該切削砥石の該他方の側面に該洗浄流体を噴射することで該切削砥石を洗浄する洗浄ステップと、
該洗浄ステップの後に、該チャックテーブルで保持された該被加工物を該切削ユニットに装着された該切削ブレードで切削する切削ステップと、を備え、
該洗浄ステップは、該ドレッシングステップと同時に、該ドレッシングステップ及び該切削ステップの間に、または、該切削ステップと同時に実施されることと特徴とする被加工物の切削方法。
【請求項4】
該洗浄流体は、水及び気体の両方を含む混合流体であることを特徴とする請求項3記載の被加工物の切削方法。
【請求項5】
該噴射口は、水平方向及び鉛直方向の間の方向に向いていることを特徴とする請求項3または請求項4記載の被加工物の切削方法。
発明の詳細な説明
【技術分野】
【0001】
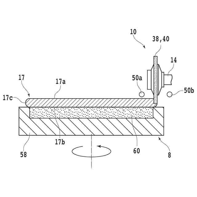
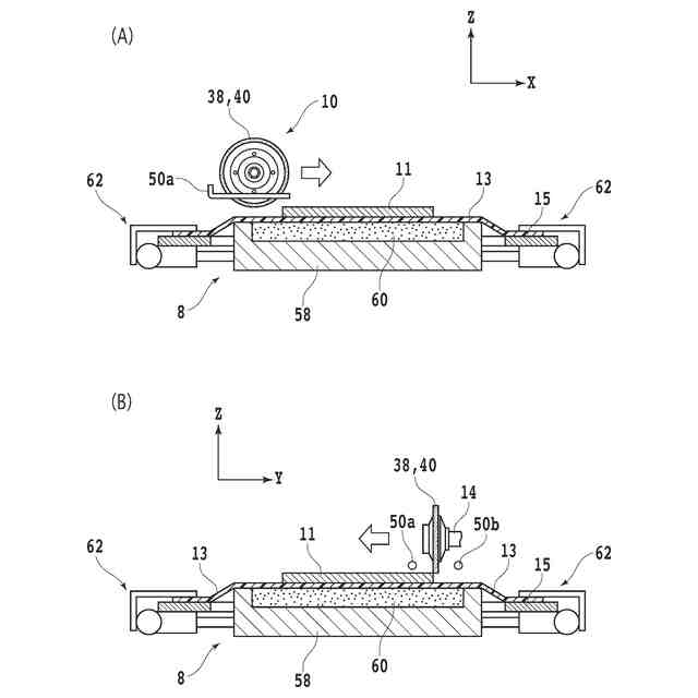
本発明は、被加工物を保持するチャックテーブルと、チャックテーブルで保持された被加工物を切削する切削ブレードを装着可能な切削ユニットと、を備える切削装置に関する。
続きを表示(約 1,700 文字)
【背景技術】
【0002】
デバイスチップの製造工程では、互いに交差する複数の分割予定ライン(ストリート)によって区画されたウェーハの表面側の複数の領域に、それぞれ、IC(Integrated Circuit)、LSI(Large Scale Integration)等のデバイスが形成される。その後、分割予定ラインに沿って分割することにより、それぞれがデバイスを備える複数のデバイスチップが得られる。デバイスチップは、携帯端末、パーソナルコンピュータ等の電子機器に搭載される。
【0003】
ウェーハの分割には、切削装置が使用される(特許文献1参照)。切削装置は、被加工物を保持するチャックテーブルと、円環状の切削砥石を備える切削ブレードが装着される切削ユニットと、を備える。切削ユニットは、装着された切削ブレードを回転させる回転駆動機構を備える。切削装置で被加工物を切削する際には、切削ブレードを回転させ、回転する切削ブレードの切削砥石を被加工物に切り込ませる。
【0004】
被加工物を切削ブレードで切削すると、被加工物及び切削ブレードから加工屑及び加工熱が発生する。そのため、切削装置では、被加工物を切削する間、切削ブレード及び被加工物に純水等で構成される切削水が供給される。特に、切削ブレードの切削砥石には、外周方向から外周面に向けて切削水が供給される。
【先行技術文献】
【特許文献】
【0005】
特開2014-75558号公報
【発明の概要】
【発明が解決しようとする課題】
【0006】
近年、ウェーハの分割により製造されるチップに求められる品質の水準が高まっている。これに伴い、これまでに大きな問題とはならなかった大きさの屑のチップへの付着が問題視されるようになっている。また、切削ブレードの切削砥石の円環状の側面に付着し残留した屑による切削の品質低下が問題となっている。特に粒子径の小さな屑は、切削砥石の側面に付着したときに切削砥石の外周面に供給される切削水では十分に除去されない。
【0007】
さらに、切削砥石の側面に屑が付着した切削ブレードで被加工物(ウェーハ)を切削すると、屑が被加工物に接触して切削砥石から分離して被加工物に形成されたデバイスに付着する。そのため、被加工物が分割されて形成されるチップの品質が屑により低下する。
【0008】
また、切削砥石の切削能力の維持のために、切削ブレードにはドレッシングと呼ばれる処理が定期的に実施される。ドレッシングでは、ドレッシングボードと呼ばれる部材に切削ブレードの切削砥石を切り込ませる。このドレッシングボードには、アルミニウムやニッケル等の金属が含まれる。そのため、ドレッシングによりこれらの金属を含む屑が生じ、切削ブレードの切削砥石の側面に付着する。金属を含む屑が切削砥石に付着した切削ブレードで被加工物を切削すると、この屑が被加工物に付着して汚染源となり問題となる。
【0009】
よって、本発明の目的は、切削ブレードの切削砥石に付着する屑を除去して被加工物を高品質に切削できる切削装置、及び被加工物の切削方法を提供することである。
【課題を解決するための手段】
【0010】
本発明の一態様によれば、被加工物を切削する切削装置であって、該被加工物を保持するチャックテーブルと、該チャックテーブルで保持された該被加工物を切削する円環状の切削砥石を備えた切削ブレードを回転可能に装着できる切削ユニットと、を備え、該切削ユニットは、装着された該切削ブレードの一方の側面に洗浄流体を噴射する第1ノズルと、該切削ブレードの他方の側面に該洗浄流体を噴射する第2ノズルと、を含み、該第1ノズル及び該第2ノズルには、該洗浄流体が噴出する噴射口がそれぞれ形成されており、該洗浄流体は、水及び気体の両方を含む混合流体であることを特徴とする切削装置が提供される。
(【0011】以降は省略されています)
この特許をJ-PlatPat(特許庁公式サイト)で参照する
関連特許
株式会社ディスコ
加工装置
12日前
株式会社ディスコ
加工装置
7日前
株式会社ディスコ
加工装置
4日前
株式会社ディスコ
切削装置
13日前
株式会社ディスコ
シート固着装置
6日前
株式会社ディスコ
レーザー加工装置
6日前
株式会社ディスコ
スピンドルユニット
4日前
株式会社ディスコ
被加工物の加工方法
12日前
株式会社ディスコ
キャリア板の除去方法
6日前
株式会社ディスコ
処理装置及び検知方法
13日前
株式会社ディスコ
シリアル接続システム
4日前
株式会社ディスコ
研削装置および研削方法
13日前
株式会社ディスコ
加工方法、及び研磨装置
6日前
株式会社ディスコ
走査光学系及び光学処理装置
12日前
株式会社ディスコ
フィルターハウジングホルダー
4日前
株式会社ディスコ
ウェーハの加工方法及び切削装置
12日前
株式会社ディスコ
ウェーハの加工方法及び加工装置
12日前
株式会社ディスコ
カーフチェック方法及び加工装置
6日前
株式会社ディスコ
切削装置、及び被加工物の切削方法
4日前
株式会社ディスコ
支持部材及び処理対象物の処理方法
4日前
株式会社ディスコ
パッケージデバイスチップの製造方法
4日前
株式会社ディスコ
ウェーハ洗浄装置と加工装置及び加工方法
6日前
株式会社ディスコ
バイト工具、およびバイト工具の製造方法
15日前
株式会社ディスコ
ノズル、切削装置及び被加工物の加工方法
5日前
株式会社ディスコ
砥石、研削ホイール、及び、砥石の製造方法
13日前
株式会社ディスコ
保護部材形成装置、保護部材形成方法及びウェーハの製造方法
6日前
株式会社ディスコ
レーザ加工装置、被加工物の面取り方法、及びウエーハの製造方法
7日前
株式会社ディスコ
シート固着装置及びシートが固着されている被固着物を製造する方法
6日前
株式会社ディスコ
シート固着装置及びシートが固着されている被固着物を製造する方法
6日前
株式会社松風
研磨用ゴム砥石
1か月前
株式会社東京精密
研削装置
28日前
株式会社タカトリ
ウエハの研削装置
15日前
株式会社ディスコ
被加工物の加工方法
1か月前
株式会社東京精密
加工装置
1か月前
ノリタケ株式会社
超砥粒ホイール
1か月前
株式会社東京精密
加工方法
1か月前
続きを見る
他の特許を見る