TOP
|
特許
|
意匠
|
商標
特許ウォッチ
Twitter
他の特許を見る
10個以上の画像は省略されています。
公開番号
2025165762
公報種別
公開特許公報(A)
公開日
2025-11-05
出願番号
2024070054
出願日
2024-04-23
発明の名称
キャリア板の除去方法
出願人
株式会社ディスコ
代理人
個人
,
個人
,
個人
,
個人
,
個人
,
個人
主分類
H01L
21/683 20060101AFI20251028BHJP(基本的電気素子)
要約
【課題】積層体を介してキャリア板に固定された板状のワークピースからキャリア板を容易に除去することができ、且つ、キャリア板が除去された後もワークピースの取り扱いが容易なキャリア板の除去方法を提供する。
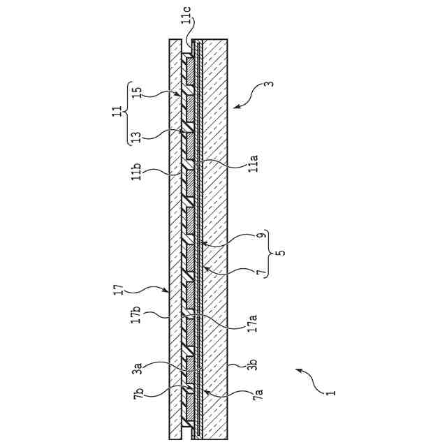
【解決手段】キャリア板の除去方法は、積層体を介してキャリア板にワークピースが固定された状態で、ワークピースに補強板を固定する固定ステップと、ワークピースの外周縁に沿って剥離層が露出するように、少なくとも積層体の一部を除去する積層体部分除去ステップと、積層体部分除去ステップの後、剥離層を境に積層体をキャリア板側の部分とワークピース側の部分とに分離することで、ワークピースからキャリア板を分離して除去する分離除去ステップと、を含む。
【選択図】図4
特許請求の範囲
【請求項1】
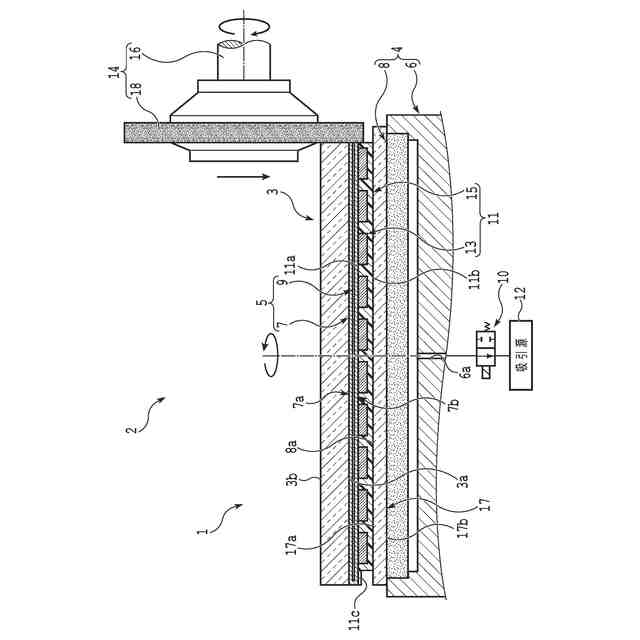
キャリア板の表面に接着されたキャリア板側接着層と、板状のワークピースの第1面に接着されたワークピース側接着層と、該キャリア板側接着層と該ワークピース側接着層とで挟まれ外部に露出していない剥離層と、を有する積層体を介して該キャリア板に該ワークピースが固定された状態で、該ワークピースの該第1面とは反対側を向く第2面に補強板を固定する固定ステップと、
該ワークピースの外周縁に沿って該剥離層が露出するように、少なくとも該積層体の一部を除去する積層体部分除去ステップと、
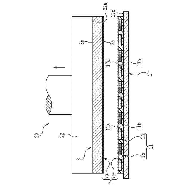
該積層体部分除去ステップの後、該剥離層を境に該積層体を該キャリア板側の部分と該ワークピース側の部分とに分離することで、該ワークピースから該キャリア板を分離して除去する分離除去ステップと、を含むキャリア板の除去方法。
続きを表示(約 250 文字)
【請求項2】
該固定ステップの前に、該積層体を介して該キャリア板に該ワークピースが固定された状態で、該剥離層の全てが残るように、該積層体部分除去ステップで除去される予定の部分に沿って少なくとも該ワークピースの該第2面側の一部を除去するワークピース部分除去ステップと、を更に含み、
該積層体部分除去ステップでは、該補強板の全てが残るように、該ワークピース部分除去ステップで除去された部分に沿って該ワークピース部分除去ステップで残された部分を除去する、請求項1に記載のキャリア板の除去方法。
発明の詳細な説明
【技術分野】
【0001】
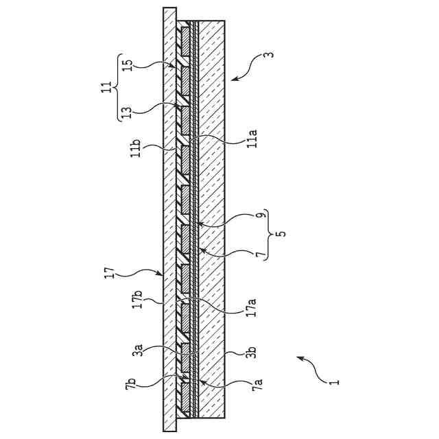
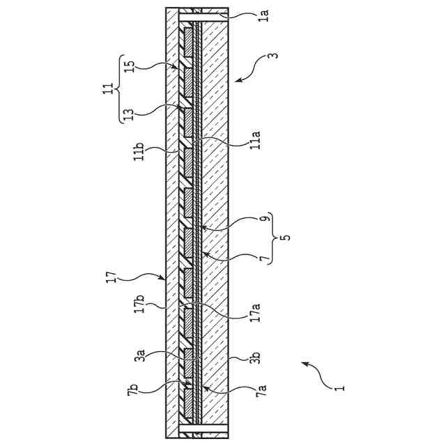
本発明は、接着力のある積層体を介してキャリア板に固定された板状のワークピースからキャリア板を分離して除去する際に用いられるキャリア板の除去方法に関する。
続きを表示(約 1,900 文字)
【背景技術】
【0002】
半導体デバイスの製造工程では、例えば、仮の支持材であるキャリア板の表面に、接着力のある積層体を介して、RDL(Redistribution Layer)と呼ばれる配線層やデバイスチップ等を含む板状のワークピースが一時的に固定されることがある。所望のワークピースが得られ、又は、ワークピースが所望の状態まで加工された後に、キャリア板は、積層体を構成する一部の層を境にワークピースから分離される。
【0003】
ワークピースからキャリア板を分離して除去するための方法として、例えば、キャリア板の外縁部をワークピースよりも側方に突出する階段状に加工し、ワークピース側を保持した状態で、キャリア板の階段状の部分に力を加える方法が提案されている(例えば、特許文献1参照)。この方法によれば、ワークピースが保持された状態でも、キャリア板の階段状の部分が適切に露出しているので、キャリア板の分離に必要な力をキャリア板に対して容易に加えることができる。
【0004】
ワークピースからキャリア板を分離して除去するための別の方法として、例えば、上述した積層体に対し、厚みの方向に貫通する切り込みを入れ、この切り込みの部分から、積層体を厚みの方向において2つの部分に分離する方法が提案されている(例えば、特許文献1参照)。この方法によれば、積層体の断面が適切に露出するので、積層体を厚みの方向において容易に2つの部分に分離することができる。
【先行技術文献】
【特許文献】
【0005】
特開2020-119952号公報
特開2023-67941号公報
【発明の概要】
【発明が解決しようとする課題】
【0006】
ところで、キャリア板に対して固定されているワークピースが薄い場合や、ワークピースが反り易い材質で構成されている場合等には、キャリア板が分離された後のワークピースの取り扱いが難しくなることがある。
【0007】
よって、本発明の目的は、積層体を介してキャリア板に固定された板状のワークピースからキャリア板を容易に除去することができ、且つ、キャリア板が除去された後もワークピースの取り扱いが容易なキャリア板の除去方法を提供することである。
【課題を解決するための手段】
【0008】
本発明の一側面によれば、キャリア板の表面に接着されたキャリア板側接着層と、板状のワークピースの第1面に接着されたワークピース側接着層と、該キャリア板側接着層と該ワークピース側接着層とで挟まれ外部に露出していない剥離層と、を有する積層体を介して該キャリア板に該ワークピースが固定された状態で、該ワークピースの該第1面とは反対側を向く第2面に補強板を固定する固定ステップと、該ワークピースの外周縁に沿って該剥離層が露出するように、少なくとも該積層体の一部を除去する積層体部分除去ステップと、該積層体部分除去ステップの後、該剥離層を境に該積層体を該キャリア板側の部分と該ワークピース側の部分とに分離することで、該ワークピースから該キャリア板を分離して除去する分離除去ステップと、を含むキャリア板の除去方法が提供される。
【0009】
本発明の一側面において、該固定ステップの前に、該積層体を介して該キャリア板に該ワークピースが固定された状態で、該剥離層の全てが残るように、該積層体部分除去ステップで除去される予定の部分に沿って少なくとも該ワークピースの該第2面側の一部を除去するワークピース部分除去ステップと、を更に含み、該積層体部分除去ステップでは、該補強板の全てが残るように、該ワークピース部分除去ステップで除去された部分に沿って該ワークピース部分除去ステップで残された部分を除去する、ことがある。
【発明の効果】
【0010】
本発明の一側面にかかるキャリア板の除去方法では、ワークピースの外周縁に沿って剥離層が露出するように積層体の一部が除去されるので、剥離層を境に積層体をキャリア板側の部分とワークピース側の部分とに分離して、ワークピースからキャリア板を容易に除去することができる。また、ワークピースからキャリア板を除去する前に、ワークピースが補強板に固定されるので、キャリア板が除去された後もワークピースの取り扱いが容易である。
【図面の簡単な説明】
(【0011】以降は省略されています)
この特許をJ-PlatPat(特許庁公式サイト)で参照する
関連特許
株式会社ディスコ
処理装置
1日前
株式会社ディスコ
研削装置
2日前
株式会社ディスコ
加工装置
22日前
株式会社ディスコ
加工装置
10日前
株式会社ディスコ
加工装置
9日前
株式会社ディスコ
掃除器具
9日前
株式会社ディスコ
掃除器具
9日前
株式会社ディスコ
処理方法
9日前
株式会社ディスコ
切削装置
3日前
株式会社ディスコ
加工装置
2日前
株式会社ディスコ
加工装置
25日前
株式会社ディスコ
加工装置
1か月前
株式会社ディスコ
切削装置
1日前
株式会社ディスコ
切削装置
1か月前
株式会社ディスコ
搬送システム
9日前
株式会社ディスコ
搬送システム
9日前
株式会社ディスコ
搬送システム
1日前
株式会社ディスコ
搬送システム
9日前
株式会社ディスコ
搬送システム
2日前
株式会社ディスコ
シート固着装置
24日前
株式会社ディスコ
レーザー加工装置
24日前
株式会社ディスコ
カセットステージ
2日前
株式会社ディスコ
加工室の洗浄方法
1か月前
株式会社ディスコ
配線引き抜き治具
1か月前
株式会社ディスコ
被加工物の加工方法
1か月前
株式会社ディスコ
スピンドルユニット
22日前
株式会社ディスコ
キャリア板の除去方法
24日前
株式会社ディスコ
シリアル接続システム
22日前
株式会社ディスコ
処理装置及び検知方法
1か月前
株式会社ディスコ
分割装置及び分割方法
1日前
株式会社ディスコ
洗浄装置及び洗浄方法
17日前
株式会社ディスコ
研削装置および研削方法
1か月前
株式会社ディスコ
加工方法、及び研磨装置
24日前
株式会社ディスコ
支持ウェーハの再使用方法
1日前
株式会社ディスコ
試験装置、及び、試験方法
2日前
株式会社ディスコ
基板の製造方法及び処理装置
1日前
続きを見る
他の特許を見る