TOP
|
特許
|
意匠
|
商標
特許ウォッチ
Twitter
他の特許を見る
公開番号
2025167119
公報種別
公開特許公報(A)
公開日
2025-11-07
出願番号
2024071441
出願日
2024-04-25
発明の名称
フィルターハウジングホルダー
出願人
株式会社ディスコ
代理人
弁理士法人酒井国際特許事務所
主分類
H01L
21/301 20060101AFI20251030BHJP(基本的電気素子)
要約
【課題】フィルター部材の交換作業において、フィルターハウジングの側面に粉塵が付着することを防止できるフィルターハウジングホルダーを提供すること。
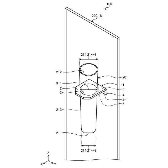
【解決手段】フィルターハウジングホルダー1は、流体中に含まれる不純物を除去する円筒状のフィルター部材を内部に配設し、側面213が上方から下方に向かって外径214が小さくなる傾斜面を有するフィルターハウジング201を縦方向に保持する。フィルターハウジングホルダー1は、板状物の本体2と、本体2に上下に貫通する貫通穴3とを有し、貫通穴3の直径3-1は、フィルターハウジング201の上方の外径214-1よりも小さく下方の外径214-2よりも大きく設定され、フィルターハウジング201を貫通穴3に挿入した場合に、フィルターハウジング201の外径214と貫通穴3の直径3-1とが一致したところでフィルターハウジング201が縦方向に保持される。
【選択図】図8
特許請求の範囲
【請求項1】
流体中に含まれる不純物を除去する円筒状のフィルター部材を内部に配設するフィルターハウジングを縦方向に保持するフィルターハウジングホルダーであって、
該フィルターハウジングの側面は、上方から下方に向かって該フィルターハウジングの外径が小さくなる傾斜面を有し、
該フィルターハウジングホルダーは、板状物の本体と、該本体に上下に貫通し該フィルターハウジングを挿入可能な貫通穴を有し、
該貫通穴の直径は、該フィルターハウジングの上方の外径よりも小さく、該フィルターハウジングの下方の外径よりも大きく設定され、
該フィルターハウジングを該貫通穴に挿入した場合に、該フィルターハウジングの外径と該貫通穴の直径とが一致したところで該フィルターハウジングが縦方向に保持される、
フィルターハウジングホルダー。
続きを表示(約 220 文字)
【請求項2】
該フィルターハウジングホルダーは、該本体の一側面に該本体の水平方向に対して交差する方向に配設される該フィルターハウジングホルダーを支持する支持部材を有し、
該支持部材には、磁性部材を更に備える、
請求項1記載のフィルターハウジングホルダー。
【請求項3】
該支持部材は、該本体の一側面に設けられたヒンジを介して回転可能に配設される、
請求項2記載のフィルターハウジングホルダー。
発明の詳細な説明
【技術分野】
【0001】
本発明は、フィルターハウジングホルダーに関する。
続きを表示(約 1,700 文字)
【背景技術】
【0002】
IC(Integrated Circuit)、LSI(Large Scale Integration)等のデバイスが表面に複数形成されたシリコンウェーハ等のウェーハは、裏面が研削されて所定の厚みに形成された後、切削装置によって個々のデバイスに分割され、携帯電話、パソコン等の電気機器に利用される。
【0003】
ウェーハを切削装置で切削加工すると、ウェーハ表面に切削屑が付着して残ってしまう。そこで、本出願人は、切削加工時に加工点に供給する加工水(切削水)に界面活性剤を添加して供給する加工方法を提案している(例えば、特許文献1参照)。また、本出願人は、廃液処理装置により切削装置で使用された加工廃液から界面活性剤を除去して、再び界面活性剤を所定濃度添加して、加工水(切削水)として切削装置に供給する循環システムも提案している(例えば、特許文献2参照)。
【先行技術文献】
【特許文献】
【0004】
特許第5253765号公報
特許第7337442号公報
【発明の概要】
【発明が解決しようとする課題】
【0005】
上記したような循環システムでは、廃液処理装置により加工廃液をフィルターユニットに通水して加工廃液に含まれる界面活性剤を除去する。ここで、フィルターユニットは、底面を有し、上方に開口を備える円筒状の容器(フィルターハウジング)内に容器の内径よりも小さい外径を有する円筒状のフィルター部材を中央に挿入して配置し、容器の開口部を蓋部で蓋をしたものである。このフィルター部材は、消耗品であり、所定のタイミングで交換する必要がある。
【0006】
そこで、このフィルター部材の交換作業の際、フィルターハウジング内から使用済みのフィルター部材を取り出す際、取り外したフィルターハウジングを一旦保管しておかなければならないが、現状は、床に直に置いたり、台の上に置いたりしなければならないという問題があった。フィルターハウジングを床に置く等すると、フィルターハウジングの側面に粉塵等が付着してしまい、その後、フィルターユニットに設置された際に、粉塵がフィルターユニット内に侵入すること等により汚染してしまうという問題があった。
【0007】
本発明は、かかる問題点に鑑みてなされたものであり、その目的は、フィルター部材の交換作業において、フィルターハウジングの側面に粉塵が付着することを防止できるフィルターハウジングホルダーを提供することである。
【課題を解決するための手段】
【0008】
上述した課題を解決し、目的を達成するために、本発明のフィルターハウジングホルダーは、流体中に含まれる不純物を除去する円筒状のフィルター部材を内部に配設するフィルターハウジングを縦方向に保持するフィルターハウジングホルダーであって、該フィルターハウジングの側面は、上方から下方に向かって該フィルターハウジングの外径が小さくなる傾斜面を有し、該フィルターハウジングホルダーは、板状物の本体と、該本体に上下に貫通し該フィルターハウジングを挿入可能な貫通穴を有し、該貫通穴の直径は、該フィルターハウジングの上方の外径よりも小さく、該フィルターハウジングの下方の外径よりも大きく設定され、該フィルターハウジングを該貫通穴に挿入した場合に、該フィルターハウジングの外径と該貫通穴の直径とが一致したところで該フィルターハウジングが縦方向に保持されるものである。
【0009】
該フィルターハウジングホルダーは、該本体の一側面に該本体の水平方向に対して交差する方向に配設される該フィルターハウジングホルダーを支持する支持部材を有し、該支持部材には、磁性部材を更に備えていてもよい。
【0010】
該支持部材は、該本体の一側面に設けられたヒンジを介して回転可能に配設されていてもよい。
【発明の効果】
(【0011】以降は省略されています)
この特許をJ-PlatPat(特許庁公式サイト)で参照する
関連特許
株式会社ディスコ
焼成炉
18日前
株式会社ディスコ
処理装置
18日前
株式会社ディスコ
加工装置
1か月前
株式会社ディスコ
加工装置
27日前
株式会社ディスコ
加工装置
28日前
株式会社ディスコ
切削装置
28日前
株式会社ディスコ
加工方法
25日前
株式会社ディスコ
加工装置
20日前
株式会社ディスコ
研削装置
18日前
株式会社ディスコ
切削装置
13日前
株式会社ディスコ
加工装置
12日前
株式会社ディスコ
加工装置
7日前
株式会社ディスコ
加工装置
1か月前
株式会社ディスコ
加工装置
27日前
株式会社ディスコ
加工方法
1か月前
株式会社ディスコ
加工装置
4日前
株式会社ディスコ
搬送システム
26日前
株式会社ディスコ
搬送システム
18日前
株式会社ディスコ
搬送システム
25日前
株式会社ディスコ
シート固着装置
6日前
株式会社ディスコ
抗折強度測定装置
18日前
株式会社ディスコ
配線引き抜き治具
18日前
株式会社ディスコ
加工室の洗浄方法
15日前
株式会社ディスコ
保護部材形成装置
27日前
株式会社ディスコ
レーザー加工装置
6日前
株式会社ディスコ
液状樹脂供給装置
26日前
株式会社ディスコ
保護部材形成装置
25日前
株式会社ディスコ
スピンドルユニット
4日前
株式会社ディスコ
被加工物の処理装置
27日前
株式会社ディスコ
ウェーハの分割方法
19日前
株式会社ディスコ
ウエーハの加工装置
25日前
株式会社ディスコ
被加工物の加工方法
12日前
株式会社ディスコ
加工装置及び支持柱
19日前
株式会社ディスコ
カーフチェック方法
19日前
株式会社ディスコ
ウエーハの加工方法
19日前
株式会社ディスコ
シリアル接続システム
4日前
続きを見る
他の特許を見る