TOP
|
特許
|
意匠
|
商標
特許ウォッチ
Twitter
他の特許を見る
公開番号
2025156768
公報種別
公開特許公報(A)
公開日
2025-10-15
出願番号
2024059418
出願日
2024-04-02
発明の名称
保護部材形成装置
出願人
株式会社ディスコ
代理人
弁理士法人東京アルパ特許事務所
主分類
H01L
21/304 20060101AFI20251007BHJP(基本的電気素子)
要約
【課題】熱的な影響を受けることなく、所定の厚みの保護部材を安定的に形成すること。
【解決手段】保護部材形成装置1は、昇降機構40によって移動した保持テーブル31の位置を検知するエンコーダ45と、拡張テーブル50と保持テーブル31との距離を測定する距離センサ35と、保持テーブル31を予め設定した準備位置に移動させて距離センサ35で拡張テーブル50と保持テーブル31との距離Aを測定し、その測定値Aを基準値として記憶する基準値記憶部91と、保護部材を形成する前に保持テーブル31を準備位置に移動させ、距離センサ35によって測定した拡張テーブル50と保持テーブル31との距離Bと基準値Aとの差を算出し、その差をオフセット値εとして設定するオフセット値設定部92と、液状樹脂rを拡張させる際に、保持テーブル31を予め設定した準備位置にオフセット値εを加算した位置に移動させる制御部90とを備える。
【選択図】図3
特許請求の範囲
【請求項1】
滴下した液状樹脂を拡張させる拡張テーブルと、
液状樹脂を滴下する樹脂ノズルと、
前記拡張テーブルの上方に対向配置される保持テーブルと、
該保持テーブルと前記拡張テーブルとを相対的に昇降させて液状樹脂を拡張させる昇降機構と、
拡張した液状樹脂を硬化させる硬化ユニットと、
を備える保護部材形成装置であって、
前記昇降機構によって移動した前記拡張テーブルまたは前記保持テーブルの位置を検知する位置検知部と、
前記拡張テーブルと前記保持テーブルとの距離を測定する距離測定部と、
前記昇降機構によって前記拡張テーブルまたは前記保持テーブルを予め設定した準備位置に移動させて前記距離測定部で前記拡張テーブルと前記保持テーブルとの距離を測定し、その測定値を基準値として記憶する基準値記憶部と、
保護部材を形成後、次に液状樹脂を拡張する前に前記拡張テーブルまたは前記保持テーブルを前記準備位置に移動させ、前記距離測定部によって測定した前記拡張テーブルと前記保持テーブルとの距離と前記基準値との差を算出し、その差をオフセット値として設定するオフセット値設定部と、
液状樹脂を拡張させる際に、前記昇降機構によって前記拡張テーブルまたは前記保持テーブルを予め設定した前記準備位置に前記オフセット値を加算した位置に移動させ前記拡張テーブルと前記保持テーブルとの距離を大きくしたのち前記昇降機構によって予め設定した所定量だけ近づける、または、前記昇降機構によって前記拡張テーブルまたは前記保持テーブルを予め設定した前記準備位置に移動させたのち前記昇降機構によって前記所定量から前記オフセット値を差し引いた量だけ近づける制御部と、
を備えることを特徴とする保護部材形成装置。
続きを表示(約 350 文字)
【請求項2】
滴下した液状樹脂を拡張させる拡張テーブルと、
液状樹脂を滴下する樹脂ノズルと、
前記拡張テーブルの上方に対向配置される保持テーブルと、
該保持テーブルと前記拡張テーブルとを相対的に昇降させて液状樹脂を拡張させる昇降機構と、
拡張した液状樹脂を硬化させる硬化ユニットと、
を備える保護部材形成装置であって、
前記拡張テーブルと前記保持テーブルとの距離を測定する距離測定部と、
該距離測定部によって前記拡張テーブルと前記保持テーブルとの距離を測定しながら、その測定値が予め設定した設定値になるまで前記昇降機構によって前記拡張テーブルと前記保持テーブルとを相対的に近づける制御部と、
を備えることを特徴とする保護部材形成装置。
発明の詳細な説明
【技術分野】
【0001】
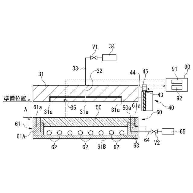
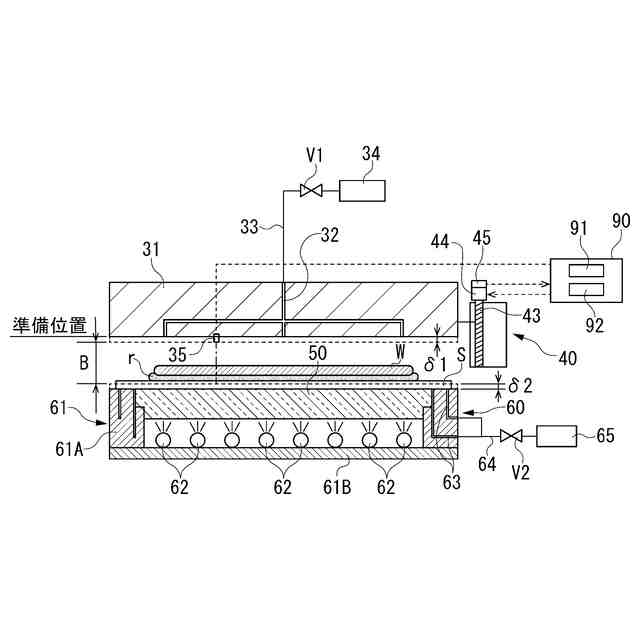
本発明は、ウェーハの一方の面に保護部材を形成するための保護部材形成装置に関する。
続きを表示(約 2,700 文字)
【背景技術】
【0002】
例えば、電子機器に用いられるICやLSIなどの半導体デバイスの製造に用いられるウェーハは、シリコンなどの単結晶のインゴットからブレードソーやワイヤーソーなどの切断装置によって切り出されたスライスウェーハを研削装置や研磨装置によって両面を平坦化することによって得られている。そして、このように両面が平坦化されたウェーハの表面にICやLSIなどのデバイスが形成され、これらのデバイスが形成されたウェーハの裏面が研削されて該ウェーハが所定の厚みに薄化され、薄化されたウェーハがダイシングソーなどによって切断されて個々のデバイスに分割されている。
【0003】
ところで、インゴットから切り出されたスライスウェーハには、ブレードソーなどの切断装置による切断加工時に両面に発生する加工歪の大きさの違いによる反りと、両面の表層に生じるうねりを有している。このため、スライスウェーハの一方の面に紫外線硬化樹脂などの保護部材を形成してその面を平坦化し、この保護部材の平坦な一方の面をチャックテーブルの保持面で保持した状態でスライスウェーハの他方の面を研削して該他方の面を平坦化した後、該スライスウェーハから保護部材を剥ぎ取り、平坦な他方の面をチャックテーブルの保持面で保持した状態で該スライスウェーハの一方の面を研削して平坦な面とする加工方法が実施されている。そして、スライスウェーハの一方の面に保護部材を形成するための保護部材形成装置が特許文献1~3などにおいて提案されている。
【0004】
保護部材形成装置においては、スライスウェーハ(以下、単に「ウェーハ」と称する)の一方の面全面に液状樹脂を拡張させ、この液状樹脂を硬化させることによって保護部材を形成しているが、液状樹脂をウェーハの一方の面全面に拡張させる際には、拡張テーブル上にシートを配置し、このシートの上に液状樹脂を滴下し、拡張テーブルの上方に配置された保持テーブルをこれに保持されたウェーハと共に設定した所定の高さ位置まで下降させ、シート上の液状樹脂をウェーハによって押し付けることによって液状樹脂を拡張させている。そして、液状樹脂が紫外線硬化樹脂である場合、この紫外線硬化樹脂に紫外線を照射して該紫外線硬化樹脂を硬化させている。
【先行技術文献】
【特許文献】
【0005】
特開2020-188058号公報
特開2020-188230号公報
特開2024-030724号公報
【発明の概要】
【発明が解決しようとする課題】
【0006】
ところで、保持テーブルを下降させて液状樹脂を拡張させる場合、保持テーブルを予め設定された準備位置(初期位置)から設定した高さ位置まで所定量だけ下降させて液状樹脂を拡張させた後、紫外線硬化樹脂を紫外線の照射によって硬化させるようにしているが、紫外線硬化樹脂が硬化する際の反応熱によって拡張テーブルと保持テーブルが加熱されて熱膨張する。このため、次のウェーハへの保護部材の形成に際して、保持テーブルを準備位置から設定した所定量だけ下降させた位置にセットした際には、該保持テーブルと拡張テーブルの熱膨張量の合計分だけ保持テーブルと拡張テーブルとの距離が縮小している。
【0007】
したがって、液状樹脂が保持テーブルと拡張テーブルの熱膨張量の合計分だけ余分に押し付けられるために該液状樹脂がウェーハの外周縁から漏れ出てしまい、液状樹脂の硬化によって形成される保護部材の厚みが次第に薄くなるという問題が発生する。
【0008】
本発明は、上記問題に鑑みてなされたもので、その目的は、熱的な影響を受けることなく、所定の厚みの保護部材を形成することができる保護部材形成装置を提供することにある。
【課題を解決するための手段】
【0009】
上記課題を解決するための第1発明は、滴下した液状樹脂を拡張させる拡張テーブルと、液状樹脂を滴下する樹脂ノズルと、前記拡張テーブルの上方に対向配置される保持テーブルと、該保持テーブルと前記拡張テーブルとを相対的に昇降させて液状樹脂を拡張させる昇降機構と、拡張した液状樹脂を硬化させる硬化ユニットと、を備える保護部材形成装置であって、前記昇降機構によって移動した前記拡張テーブルまたは前記保持テーブルの位置を検知する位置検知部と、前記拡張テーブルと前記保持テーブルとの距離を測定する距離測定部と、前記昇降機構によって前記拡張テーブルまたは前記保持テーブルを予め設定した準備位置に移動させて前記距離測定部で前記拡張テーブルと前記保持テーブルとの距離を測定し、その測定値を基準値として記憶する基準値記憶部と、保護部材を形成後、次に液状樹脂を拡張する前に前記拡張テーブルまたは前記保持テーブルを前記準備位置に移動させ、前記距離測定部によって測定した前記拡張テーブルと前記保持テーブルとの距離と前記基準値との差を算出し、その差をオフセット値として設定するオフセット値設定部と、液状樹脂を拡張させる際に、前記昇降機構によって前記拡張テーブルまたは前記保持テーブルを予め設定した前記準備位置に前記オフセット値を加算した位置に移動させ前記拡張テーブルと前記保持テーブルとの距離を大きくしたのち前記昇降機構によって予め設定した所定量だけ近づける、または、前記昇降機構によって前記拡張テーブルまたは前記保持テーブルを予め設定した前記準備位置に移動させたのち前記昇降機構によって前記所定量から前記オフセット値を差し引いた量だけ近づける制御部と、を備えることを特徴とする。
【0010】
また、第2発明は、滴下した液状樹脂を拡張させる拡張テーブルと、液状樹脂を滴下する樹脂ノズルと、前記拡張テーブルの上方に対向配置される保持テーブルと、該保持テーブルと前記拡張テーブルとを相対的に昇降させて液状樹脂を拡張させる昇降機構と、拡張した液状樹脂を硬化させる硬化ユニットと、を備える保護部材形成装置であって、前記拡張テーブルと前記保持テーブルとの距離を測定する距離測定部と、該距離測定部によって前記拡張テーブルと前記保持テーブルとの距離を測定しながら、その測定値が予め設定した設定値になるまで前記昇降機構によって前記拡張テーブルと前記保持テーブルとを相対的に近づける制御部と、を備えることを特徴とする。
【発明の効果】
(【0011】以降は省略されています)
この特許をJ-PlatPat(特許庁公式サイト)で参照する
関連特許
株式会社ディスコ
加工方法
今日
株式会社ディスコ
加工装置
2日前
株式会社ディスコ
研削装置
14日前
株式会社ディスコ
加工方法
10日前
株式会社ディスコ
加工装置
8日前
株式会社ディスコ
加工装置
8日前
株式会社ディスコ
加工装置
3日前
株式会社ディスコ
加工装置
2日前
株式会社ディスコ
切削装置
3日前
株式会社ディスコ
搬送システム
1日前
株式会社ディスコ
搬送システム
14日前
株式会社ディスコ
搬送システム
今日
株式会社ディスコ
保護部材形成装置
今日
株式会社ディスコ
保護部材形成装置
2日前
株式会社ディスコ
ブレーキング装置
14日前
株式会社ディスコ
液状樹脂供給装置
1日前
株式会社ディスコ
被加工物の処理装置
2日前
株式会社ディスコ
ウエーハの加工装置
今日
株式会社ディスコ
検出方法及び処理装置
7日前
株式会社ディスコ
搬出装置及び切削装置
7日前
株式会社ディスコ
伸縮防水カバー、処理装置
3日前
株式会社ディスコ
チャックテーブルの整形方法
9日前
株式会社ディスコ
窒化ガリウム基板の製造方法
10日前
株式会社ディスコ
板状ワークの研削方法及び研削装置
10日前
株式会社ディスコ
保護層の形成方法及び被加工物の加工方法
今日
株式会社ディスコ
保護層の形成方法及び被加工物の加工方法
今日
株式会社ディスコ
保護部材形成装置、及び保護部材の形成方法
3日前
株式会社ディスコ
搬送方法、搬送装置、加工方法、及び、加工装置
1日前
株式会社ディスコ
隔壁の内壁面の構造、及び、それを備える加工装置
2日前
株式会社ディスコ
シートの処理方法、チップの製造方法及び基板の製造方法
14日前
株式会社ディスコ
フレームユニット形成方法およびフレームユニット形成装置
14日前
株式会社ディスコ
ドレッシングツール、保持テーブル、加工装置、及び、ドレッシング方法
7日前
個人
フレキシブル電気化学素子
7日前
株式会社ユーシン
操作装置
7日前
日新イオン機器株式会社
イオン源
3日前
オムロン株式会社
電磁継電器
8日前
続きを見る
他の特許を見る