TOP
|
特許
|
意匠
|
商標
特許ウォッチ
Twitter
他の特許を見る
公開番号
2025158235
公報種別
公開特許公報(A)
公開日
2025-10-17
出願番号
2024060583
出願日
2024-04-04
発明の名称
ウエーハの加工装置
出願人
株式会社ディスコ
代理人
弁理士法人愛宕綜合特許事務所
主分類
H01L
21/304 20060101AFI20251009BHJP(基本的電気素子)
要約
【課題】ウエーハの外周から面取り部を完全に除去することができるウエーハの加工装置を提供する。
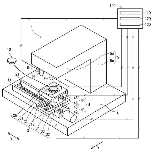
【解決手段】ウエーハの加工装置は、チャックテーブル35に保持されたウエーハ10を撮像してレーザー光線を照射すべき領域を検出する撮像手段7と、チャックテーブルをX軸方向及びY軸方向に加工送りする加工送り手段4と、チャックテーブルを回転する回転駆動手段と、制御手段100と、を備え、制御手段は、撮像手段をウエーハの外周に位置付けると共に、該回転手段を作動させて、チャックテーブルを回転させチャックテーブルの回転中心を軸として、ウエーハの外周の極座標を生成し記憶する極座標生成部110と、極座標生成部によって生成されたウエーハの外周の極憶座標に基づき加工送り手段と該回転駆動手段とを制御すると共にレーザー光線照射手段6によってレーザー光線を照射してレーザー加工を実施する加工制御部120と、を含み構成される。
【選択図】図1
特許請求の範囲
【請求項1】
ウエーハを加工するウエーハの加工装置であって、
ウエーハを保持するチャックテーブルと、該チャックテーブルに保持されたウエーハに対して透過性を有する波長のレーザー光線を照射するレーザー光線照射手段と、該チャックテーブルに保持されたウエーハを撮像してレーザー光線を照射すべき領域を検出する撮像手段と、該チャックテーブルをX軸方向及びY軸方向に加工送りする加工送り手段と、該チャックテーブルを回転する回転駆動手段と、制御手段と、を備え、
該制御手段は、該撮像手段をウエーハの外周に位置付けると共に、該回転駆動手段を作動させて、該チャックテーブルを回転させ該チャックテーブルの回転中心を軸として、ウエーハの外周の極座標を生成して記憶する極座標生成部と、該極座標生成部によって生成されたウエーハの外周の極座標に基づき該加工送り手段と該回転駆動手段とを制御すると共にレーザー光線照射手段によってレーザー光線を照射してレーザー加工を実施する加工制御部と、を含み構成されるウエーハの加工装置。
続きを表示(約 260 文字)
【請求項2】
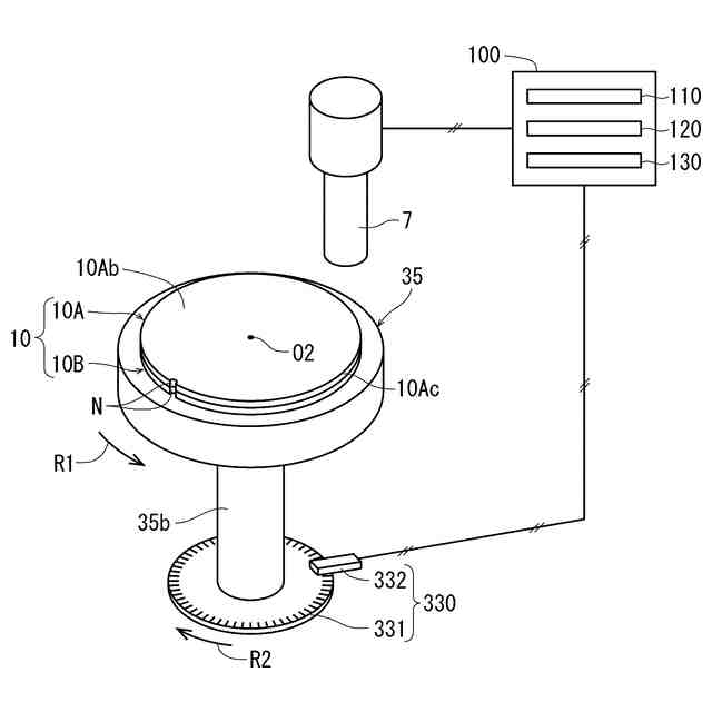
該極座標生成部は、ウエーハの外周に形成された結晶方位を示すノッチの極座標を記憶し、該加工制御部は、ノッチの内側にレーザー光線を位置付ける請求項1に記載のウエーハの加工装置。
【請求項3】
該制御手段は、ウエーハの中心を軸としてレーザー光線を照射すべき領域の極座標を記憶するウエーハ極座標記憶部とを備え、
該加工制御部は、該極座標生成部に記憶された極座標と該ウエーハ極座標記憶部に記憶された極座標を合成してウエーハにレーザー光線を照射する請求項1又は2に記載のウエーハの加工装置。
発明の詳細な説明
【技術分野】
【0001】
本発明は、ウエーハを加工するウエーハの加工装置に関する。
続きを表示(約 1,300 文字)
【背景技術】
【0002】
IC、LSI等の複数のデバイスが分割予定ラインによって区画され表面に形成されたウエーハは、研削装置によって裏面が研削され所望の厚みに形成された後、ダイシング装置によって個々のデバイスチップに分割され、携帯電話、パソコン等の電気機器に利用される。
【0003】
また、ウエーハの外周には面取り部が形成されていて、ウエーハの裏面を研削して薄化すると、該面取り部がナイフエッジのように鋭利となり、オペレータが怪我をしたり、ウエーハの外周から内側にクラックが入りデバイスを損傷させたりするという問題がある。
【0004】
上記した問題は、単一のウエーハに限らず、表面活性化法等によってパターンが形成されたウエーハを貼り合わせた接合ウエーハにおいても起こり得る。
【0005】
そこで、ウエーハの裏面を研削する前に、ウエーハに対して透過性を有する波長のレーザー光線の集光点をウエーハの外周に形成された面取り部の内側の内部に位置付けて照射し、リング状にウエーハの内部に改質層を形成して面取り部を除去する技術が本出願人によって提案されている(特許文献1を参照)。
【先行技術文献】
【特許文献】
【0006】
特開2020-88187号公報
【発明の概要】
【発明が解決しようとする課題】
【0007】
しかし、上記の特許文献1に記載された技術によって該面取り部を除去するとしても、ウエーハの外周から面取り部が完全に除去されず、僅かに残存することがあり、後工程において残存部が脱落して汚染源になったり、ウエーハを個々のデバイスチップに分割する際に、デバイスチップの欠けの原因になったりする等の問題を生じる。
【0008】
また、従来では、接合ウエーハの貼り合わせ面の外周に、1~3mm程度のボイド(空隙)が発生する場合があり、該ボイドが形成された領域では、レーザー加工や、切削加工によって個々のデバイスチップに分割する際に適正に分割されず、また、一方のウエーハの裏面を研削して薄化する際に、ウエーハを損傷させるという問題が起こる。
【0009】
さらに、ウエーハのノッチをよけてレーザー光線を照射したり、ウエーハの結晶構造によってレーザー光線を照射する領域を微妙に歪んだリング形状にしたりする必要がある場合には、これに対応させてレーザー光線を照射する領域を適切に制御することが困難であるという問題がある。
【0010】
本発明は、上記事実に鑑みなされたものであり、その主たる技術課題は、ウエーハの外周から面取り部を完全に除去することができず、後工程において残存部が脱落して汚染源になったり、ウエーハを個々のデバイスチップに分割する際に、デバイスチップの欠けの原因になったりする等の問題を解消することができるウエーハの加工装置を提供することにある。
【課題を解決するための手段】
(【0011】以降は省略されています)
この特許をJ-PlatPat(特許庁公式サイト)で参照する
関連特許
株式会社ディスコ
加工方法
1日前
株式会社ディスコ
加工装置
3日前
株式会社ディスコ
加工方法
11日前
株式会社ディスコ
加工装置
9日前
株式会社ディスコ
加工装置
9日前
株式会社ディスコ
切削装置
4日前
株式会社ディスコ
研磨装置
16日前
株式会社ディスコ
加工装置
3日前
株式会社ディスコ
加工装置
4日前
株式会社ディスコ
研削装置
15日前
株式会社ディスコ
搬送システム
15日前
株式会社ディスコ
搬送システム
1日前
株式会社ディスコ
搬送システム
2日前
株式会社ディスコ
液状樹脂供給装置
2日前
株式会社ディスコ
保護部材形成装置
3日前
株式会社ディスコ
ブレーキング装置
15日前
株式会社ディスコ
保護部材形成装置
1日前
株式会社ディスコ
ウエーハの加工装置
1日前
株式会社ディスコ
被加工物の処理装置
3日前
株式会社ディスコ
洗浄装置及び洗浄方法
16日前
株式会社ディスコ
検出方法及び処理装置
8日前
株式会社ディスコ
搬出装置及び切削装置
8日前
株式会社ディスコ
搬送機構および搬送方法
16日前
株式会社ディスコ
伸縮防水カバー、処理装置
4日前
株式会社ディスコ
チャックテーブルの整形方法
10日前
株式会社ディスコ
窒化ガリウム基板の製造方法
11日前
株式会社ディスコ
保護シート、及びシート配設方法
15日前
株式会社ディスコ
板状ワークの研削方法及び研削装置
11日前
株式会社ディスコ
保護層の形成方法及び被加工物の加工方法
1日前
株式会社ディスコ
保護層の形成方法及び被加工物の加工方法
1日前
株式会社ディスコ
ウエーハの処理方法及びウエーハの処理装置
17日前
株式会社ディスコ
保護部材形成装置、及び保護部材の形成方法
4日前
株式会社ディスコ
搬送方法、搬送装置、加工方法、及び、加工装置
2日前
株式会社ディスコ
隔壁の内壁面の構造、及び、それを備える加工装置
3日前
株式会社ディスコ
シートの処理方法、チップの製造方法及び基板の製造方法
15日前
株式会社ディスコ
フレームユニット形成方法およびフレームユニット形成装置
15日前
続きを見る
他の特許を見る