TOP
|
特許
|
意匠
|
商標
特許ウォッチ
Twitter
他の特許を見る
公開番号
2025145867
公報種別
公開特許公報(A)
公開日
2025-10-03
出願番号
2024046339
出願日
2024-03-22
発明の名称
ブレーキング装置
出願人
株式会社ディスコ
代理人
弁理士法人東京アルパ特許事務所
主分類
H01L
21/301 20060101AFI20250926BHJP(基本的電気素子)
要約
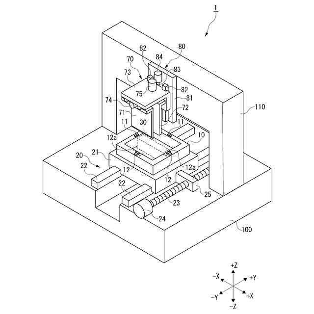
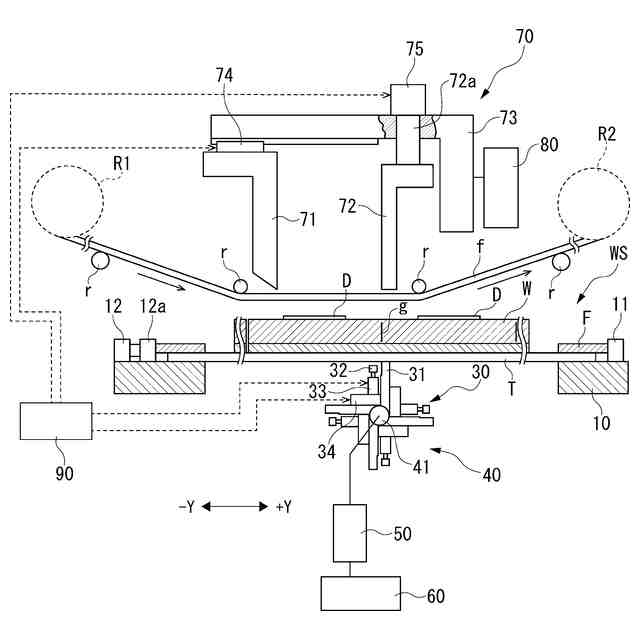
【課題】ウェーハの材質に応じて2点支持方式を採用する第1分割機構と3点支持方式を採用する第2分割機構に切り替えることによってコストダウンと設置スペースの縮小化を図ることができるブレーキング装置を提供すること。
【解決手段】一方の面にシートTを貼着したウェーハWに形成された直線状の分割起点gを起点としてウェーハWを分割するブレーキング装置1は、分割起点gに沿ってウェーハWを上下で挟み、ウェーハWを挟んだ位置から所定距離だけ離れた位置でウェーハWの他方の面を押圧して分割起点gを起点としてウェーハWを分割する第1分割機構(2点支持方式)と、分割起点gを挟んだ2箇所でウェーハWの一方の面を支持し、分割起点gを他方の面から押圧して該分割起点gを起点としてウェーハWを分割する第2分割機構(第2支持方式)と、を備える。
【選択図】図4
特許請求の範囲
【請求項1】
一方の面にシートを貼着したウェーハに形成された直線状の分割起点を起点としてウェーハを分割するブレーキング装置であって、
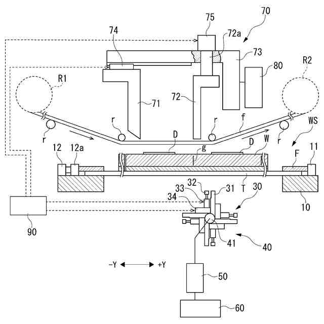
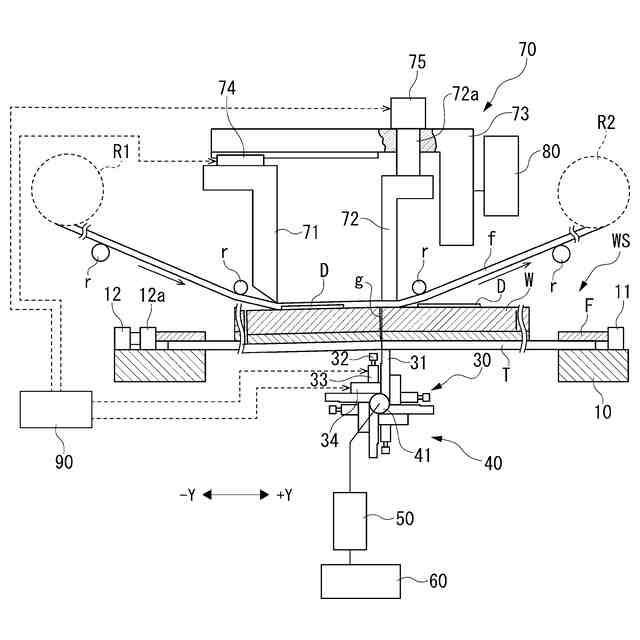
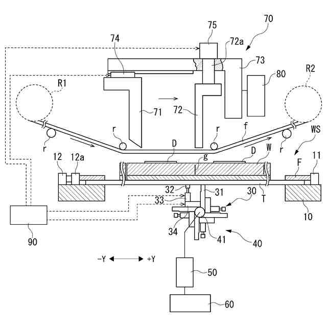
前記分割起点に沿ってウェーハを上下で挟み、ウェーハを挟んだ位置から所定距離だけ離れた位置でウェーハの他方の面を押圧して前記分割起点を起点としてウェーハを分割する第1分割機構と、
前記分割起点を挟んだ2箇所でウェーハの一方の面を支持し、前記分割起点を他方の面から押圧して該分割起点を起点としてウェーハを分割する第2分割機構と、
を備えることを特徴とするブレーキング装置。
続きを表示(約 750 文字)
【請求項2】
ウェーハの一方の面を支持する第1支持バー及び第2支持バーと、
前記第1支持バーと前記第2支持バーとの間隔を調整する支持バー間隔調整機構と、
前記第1支持バーと前記第2支持バーの何れか一方を昇降させる単支持バー昇降機構と、
該単支持バー昇降機構を昇降させる支持バー昇降機構と、
ウェーハの他方の面を押圧する第1ブレード及び第2ブレードと、
前記第1ブレードと前記第2ブレードとの間隔を調整するブレード間隔調整機構と、
前記第1ブレードと前記第2ブレードの何れか一方を昇降させる単ブレード昇降機構と、
該単ブレード昇降機構を昇降させるブレード昇降機構と、
前記第1分割機構と前記第2分割機構とを切り替える切り替え制御部と、
を備え、
前記切り替え制御部は、
前記第1支持バーまたは前記第2支持バーの何れか一方で前記分割起点に沿ってウェーハの一方の面を1点支持し、該ウェーハの一方の面を支持している前記第1支持バーまたは前記第2支持バーに対向してウェーハの他方の面を前記第1ブレードまたは前記第2ブレードの何れか一方で押圧することによってウェーハを挟持し、該ウェーハを押圧する前記第1ブレードまたは前記第2ブレードで挟持位置から所定距離だけ離れた位置でウェーハの他方の面を押圧するよう制御して前記第1分割機構を構成し、
前記第1支持バーと前記第2支持バーとでウェーハの一方の面を2点支持し、前記第1ブレードまたは前記第2ブレードの何れか一方を前記分割起点の真上に配置してウェーハの他方の面を押圧するよう制御して前記第2分割機構を構成する、
ことを特徴とする請求項1記載のブレーキング装置。
発明の詳細な説明
【技術分野】
【0001】
本発明は、ウェーハを分割起点に沿って分割するブレーキング装置に関する。
続きを表示(約 1,900 文字)
【背景技術】
【0002】
例えば、半導体デバイスの製造工程においては、円板状の半導体ウェーハ(以下、単に「ウェーハ」と称する)の表面が格子状に形成されたストリートと称される分割予定ラインによって複数のデバイス領域に区画され、各デバイス領域にICやLSIなどのデバイスがそれぞれ形成される。そして、このように多数のデバイスが形成されたウェーハを分割予定ラインに沿って分割することによって複数のチップが得られる。
【0003】
ここで、シリコンウェーハを分割予定ラインに沿って分割する方法として、特許文献1には、レーザビームの照射によって内部に改質層が形成されたシリコンウェーハに貼着されたテープを拡張させることによって、該シリコンウェーハを、改質層を起点として分割する方法が提案されている。
【0004】
しかしながら、上記方法によっても、シリコンカーバイト(SiC)やサファイアなどの硬い材質(結晶性高硬質素材)のウェーハの場合には、テープの拡張によってウェーハを分割することは困難である。このため、特許文献2には、ウェーハの分割起点となるウェーハの表面に形成したV溝を挟んだ下面を2つの支持台で支持し、ウェーハの上面の分割起点の真上にブレードを押し当て、2つの支持台とブレードとによってウェーハを3点支持した状態で該ウェーハを分割起点に沿って分割する3点支持方式を採用するブレーキング装置が提案されている。
【0005】
また、特許文献3には、2つの挟持バーでウェーハを上下から2点支持した状態で挟持し、ウェーハの分割起点となるウェーハの内部に形成された改質層から所定距離だけ離れた箇所の上面をブレードで押圧して該ブレードを分割起点に沿って分割する2点支持方式を採用するブレーキング装置が提案されている。
【先行技術文献】
【特許文献】
【0006】
特開2019-140266号公報
特開2013-058671号公報
特開2024-027963号公報
【発明の概要】
【発明が解決しようとする課題】
【0007】
ところで、シリコンカーバイト(SiC)やサファイアなどの硬い材質のウェーハの分割には、大きな力を要し、分割起点がウェーハの内部に形成された改質層のときには、てこの原理を用いる2点支持方式が採用されている。そして、分割起点がウェーハ表面に形成されたV溝のときには、3点支持方式が採用されている。このため、2点支持方式を採用するブレーキング装置と3点支持方式を採用するブレーキング装置を準備する必要がある。このように分割方式が異なるブレーキング装置を2台準備すると、設備費が増大してコストアップを招く他、装置の設置スペースが大きくなってしまうという問題がある。
【0008】
本発明は、上記問題に鑑みてなされたもので、その目的は、2点支持方式を採用する第1分割機構と3点支持方式を採用する第2分割機構とを切り替えることによってコストダウンと設置スペースの縮小化を図ることができるブレーキング装置を提供することにある。
【課題を解決するための手段】
【0009】
上記目的を達成するための本発明は、一方の面にシートを貼着したウェーハに形成された直線状の分割起点を起点としてウェーハを分割するブレーキング装置であって、前記分割起点に沿ってウェーハを上下で挟み、ウェーハを挟んだ位置から所定距離だけ離れた位置でウェーハの他方の面を押圧して前記分割起点を起点としてウェーハを分割する第1分割機構と、前記分割起点を挟んだ2箇所でウェーハの一方の面を支持し、前記分割起点を他方の面から押圧して該分割起点を起点としてウェーハを分割する第2分割機構と、を備えることを特徴とする。
【発明の効果】
【0010】
本発明によれば、分割すべきウェーハの材質によって切り替え制御部が分割方式を2点支持方式(第1分割機構)と3点支持方式(第2分割機構)との間で切り替えるようにし、分割起点として改質層を形成したウェーハの分割には、大きな力を要するために2点支持方式(第1分割機構)を選択し、分割起点として表面に溝を形成したウェーハの分割には、3点支持方式(第2分割機構)を選択するようにしたため、異なる分割方式を採用する2台のブレーキング装置を準備する必要がなく、設備費を低く抑えてコストダウンを図ることができるとともに、装置の設置スペースの縮小化を図ることができるという効果が得られる。
【図面の簡単な説明】
(【0011】以降は省略されています)
この特許をJ-PlatPat(特許庁公式サイト)で参照する
関連特許
株式会社ディスコ
ノズル
17日前
株式会社ディスコ
加工装置
1か月前
株式会社ディスコ
研削装置
1か月前
株式会社ディスコ
切削装置
10日前
株式会社ディスコ
加工装置
17日前
株式会社ディスコ
切削装置
17日前
株式会社ディスコ
フレーム
17日前
株式会社ディスコ
診断方法
7日前
株式会社ディスコ
加工方法
18日前
株式会社ディスコ
加工装置
1か月前
株式会社ディスコ
研削装置
1か月前
株式会社ディスコ
研磨装置
4日前
株式会社ディスコ
加工装置
19日前
株式会社ディスコ
加工装置
26日前
株式会社ディスコ
研削装置
3日前
株式会社ディスコ
加工装置
1か月前
株式会社ディスコ
薬液管理方法
1か月前
株式会社ディスコ
搬送システム
3日前
株式会社ディスコ
シート貼着装置
18日前
株式会社ディスコ
基板の製造方法
1か月前
株式会社ディスコ
基板の接合方法
1か月前
株式会社ディスコ
加工水供給装置
10日前
株式会社ディスコ
ノズルユニット
7日前
株式会社ディスコ
基板の製造方法
1か月前
株式会社ディスコ
ドレッシング方法
1か月前
株式会社ディスコ
ブレーキング装置
3日前
株式会社ディスコ
液体供給システム
17日前
株式会社ディスコ
チャックテーブル
27日前
株式会社ディスコ
切削ブレード治具
7日前
株式会社ディスコ
ドレッシング方法
1か月前
株式会社ディスコ
接合強度検査方法
27日前
株式会社ディスコ
ウェーハの分割方法
1か月前
株式会社ディスコ
洗浄液供給システム
27日前
株式会社ディスコ
被加工物の加工方法
17日前
株式会社ディスコ
ウエーハの加工方法
28日前
株式会社ディスコ
ウェーハの製造方法
25日前
続きを見る
他の特許を見る