TOP
|
特許
|
意匠
|
商標
特許ウォッチ
Twitter
他の特許を見る
公開番号
2025155223
公報種別
公開特許公報(A)
公開日
2025-10-14
出願番号
2024058910
出願日
2024-04-01
発明の名称
切削装置
出願人
株式会社ディスコ
代理人
弁理士法人愛宕綜合特許事務所
主分類
B24B
53/00 20060101AFI20251006BHJP(研削;研磨)
要約
【課題】実質的にドレッシングに掛かる時間を0にすることができる切削装置を提供する。
【解決手段】切削ブレード83を目立てするドレッシング機構20Aを備え、ドレッシング機構20Aは、ドレッシングワイヤーの先端を切削ブレード83の切り刃に接触させるドレッシングワイヤー接触手段87と、ドレッシングワイヤー接触手段87にドレッシングワイヤーを送るドレッシングワイヤー送り手段24と、を備えている。
【選択図】図3
特許請求の範囲
【請求項1】
被加工物を保持するチャックテーブルと、該チャックテーブルに保持された被加工物を切削する切り刃を外周に配設した切削ブレードを回転可能に備えた切削手段と、を含む切削装置であって、
切削ブレードを目立てするドレッシング機構を備え、
該ドレッシング機構は、ドレッシングワイヤーの先端を切削ブレードの切り刃に接触させるドレッシングワイヤー接触手段と、該ドレッシングワイヤー接触手段にドレッシングワイヤーを送るドレッシングワイヤー送り手段と、を備えている切削装置。
続きを表示(約 460 文字)
【請求項2】
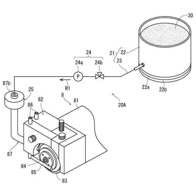
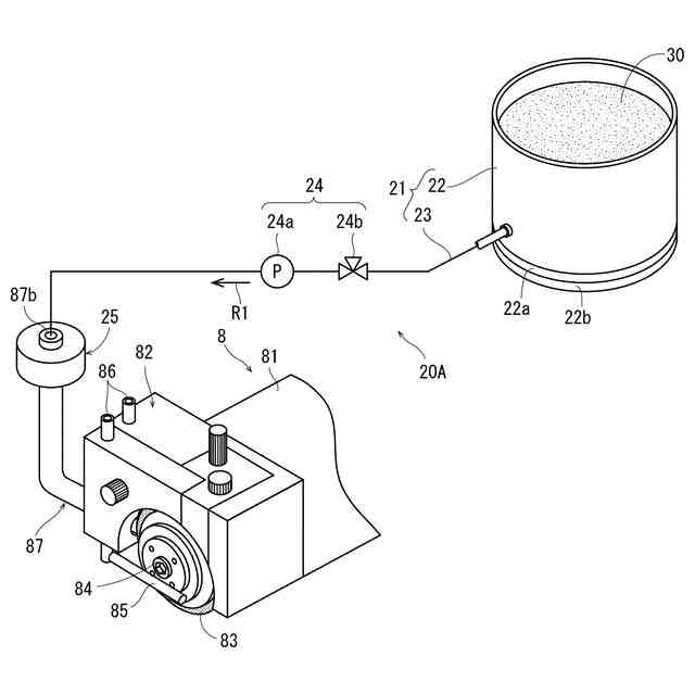
該ドレッシングワイヤー送り手段は、流動性を有するバインダーにドレッシング砥粒が混錬したドレッシング部材を貯留する貯留部と、該貯留部から該ドレッシングワイヤー接触手段にドレッシング部材を送り込むチューブと、を含み、
該ドレッシングワイヤー接触手段は、送り出されたドレッシング部材を冷却して固化させてドレッシングワイヤーを生成するドレッシングワイヤー生成部を備える請求項1に記載の切削装置。
【請求項3】
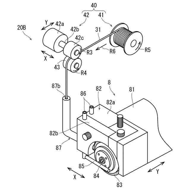
該ドレッシングワイヤー送り手段は、熱可塑性樹脂にドレッシング砥粒を混錬してワイヤー状に形成されたドレッシングワイヤーが巻かれたリールと、該リールからドレッシングワイヤーを引き出し該ドレッシングワイヤー接触手段に送るドレッシングワイヤー送り部と、を備える請求項1に記載の切削装置。
【請求項4】
流動性を有するバインダーは、熱可塑性樹脂、ゲル化剤のいずれかを含み、ドレッシング砥粒は、炭化ケイ素、アルミナ、ダイヤモンドのいずれかを含む請求項2に記載の切削装置。
発明の詳細な説明
【技術分野】
【0001】
本発明は、被加工物を保持するチャックテーブルと、該チャックテーブルに保持された被加工物を切削する切り刃を外周に配設した切削ブレードを回転可能に備えた切削手段と、を含む切削装置に関する。
続きを表示(約 2,000 文字)
【背景技術】
【0002】
IC、LSI等の複数のデバイスが分割予定ラインによって区画され表面に形成されたウエーハは、切削装置によって個々のデバイスチップに分割され、携帯電話、パソコン等の電気機器に利用される。
【0003】
切削装置は、ウエーハを保持するチャックテーブルと、該チャックテーブルに保持されたウエーハを切削する切削ブレードを回転可能に備えた切削手段と、該チャックテーブルと該切削手段とを相対的に加工送りする送り手段と、を含み構成されていて、ウエーハを高精度に個々のデバイスチップに分割することができる(例えば特許文献1を参照)。
【0004】
従来の切削装置では、切削ブレードの切削能力が低下した場合、切削ブレードの目立てや、切削ブレードの整形を行うために、切削装置にドレッシングボードを搬入してチャックテーブルに載置して吸引保持し、該ドレッシングボードに切削ブレードの切り刃を切り込ませて切削ブレードの目立てや整形を行うドレッシングを実施し、該ドレッシングが終了した後は、チャックテーブルからドレッシングボードを搬出して、ドレッシングボードを所定の収容場所に収容しており、手間が掛かるという問題がある。
【0005】
また、ドレッシングボードが湾曲している場合は、チャックテーブルに適正に吸引保持することが困難になることから、ドレッシングボードが湾曲しないように品質管理する必要があるという問題がある。
【0006】
さらに、ウエーハ等の被加工物を保持するチャックテーブルとは別に、ドレッシングボードを保持する専用のテーブルを備える切削装置も提案されている(特許文献2を参照)。しかし、前記した従来技術と同様に、ドレッシングボードが湾曲している場合は、該専用のテーブルに保持することが困難であることに加え、使用済みのドレッシングボードを新しいドレッシングボードに交換しなければならず手間が掛かるという問題がある。
【先行技術文献】
【特許文献】
【0007】
特開2007-203429号公報
特開2015-216324号公報
【発明の概要】
【発明が解決しようとする課題】
【0008】
本発明は、上記事実に鑑みなされたものであり、その主たる技術課題は、切削ブレードの切削能力が低下した場合にドレッシングを実施する切削装置において、ドレッシングを実施する際に、切削装置にドレッシングボードを搬入してチャックテーブルに載置して吸引保持し、ドレッシングを実施した後に、チャックテーブルからドレッシングボードを搬出して、所定の収容場所に収容する手間が掛かるという問題、ドレッシングボードが湾曲している場合にチャックテーブルに保持することが困難であるという問題、使用済みドレッシングボードを新しいドレッシングボードに交換しなければならず手間が掛かるという問題等が解消される切削装置を提供することにある。
【課題を解決するための手段】
【0009】
上記主たる技術課題を解決するため、本発明によれば、被加工物を保持するチャックテーブルと、該チャックテーブルに保持された被加工物を切削する切り刃を外周に配設した切削ブレードを回転可能に備えた切削手段と、を含む切削装置であって、切削ブレードを目立てするドレッシング機構を備え、該ドレッシング機構は、ドレッシングワイヤーの先端を切削ブレードの切り刃に接触させるドレッシングワイヤー接触手段と、該ドレッシングワイヤー接触手段にドレッシングワイヤーを送るドレッシングワイヤー送り手段と、を備えている切削装置が提供される。
【0010】
該ドレッシングワイヤー送り手段は、流動性を有するバインダーにドレッシング砥粒が混錬したドレッシング部材を貯留する貯留部と、該貯留部から該ドレッシングワイヤー接触手段にドレッシング部材を送り込むチューブと、を含み、該ドレッシングワイヤー接触手段は、送り出されたドレッシング部材を冷却して固化させてドレッシングワイヤーを生成するドレッシングワイヤー生成部を備えることが好ましい。また、該ドレッシングワイヤー送り手段は、熱可塑性樹脂にドレッシング砥粒を混錬してワイヤー状に形成されたドレッシングワイヤーが巻かれたリールと、該リールからドレッシングワイヤーを引き出し該ドレッシングワイヤー接触手段に送るドレッシングワイヤー送り部と、を備えることが好ましい。該流動性を有するバインダーは、熱可塑性樹脂、ゲル化剤のいずれかを含み、ドレッシング砥粒は、炭化ケイ素、アルミナ、ダイヤモンドのいずれかを含むことが好ましい。
【発明の効果】
(【0011】以降は省略されています)
この特許をJ-PlatPat(特許庁公式サイト)で参照する
関連特許
株式会社ディスコ
加工方法
7日前
株式会社ディスコ
切削装置
今日
株式会社ディスコ
加工装置
5日前
株式会社ディスコ
加工装置
5日前
株式会社ディスコ
研磨装置
12日前
株式会社ディスコ
加工装置
今日
株式会社ディスコ
研削装置
11日前
株式会社ディスコ
搬送システム
11日前
株式会社ディスコ
ブレーキング装置
11日前
株式会社ディスコ
洗浄装置及び洗浄方法
12日前
株式会社ディスコ
搬出装置及び切削装置
4日前
株式会社ディスコ
検出方法及び処理装置
4日前
株式会社ディスコ
搬送機構および搬送方法
12日前
株式会社ディスコ
伸縮防水カバー、処理装置
今日
株式会社ディスコ
試験装置、試験片の試験方法
15日前
株式会社ディスコ
窒化ガリウム基板の製造方法
7日前
株式会社ディスコ
チャックテーブルの整形方法
6日前
株式会社ディスコ
保護シート、及びシート配設方法
11日前
株式会社ディスコ
板状ワークの研削方法及び研削装置
7日前
株式会社ディスコ
ウエーハの処理方法及びウエーハの処理装置
13日前
株式会社ディスコ
保護部材形成装置、及び保護部材の形成方法
今日
株式会社ディスコ
シートの処理方法、チップの製造方法及び基板の製造方法
11日前
株式会社ディスコ
フレームユニット形成方法およびフレームユニット形成装置
11日前
株式会社ディスコ
ドレッシングツール、保持テーブル、加工装置、及び、ドレッシング方法
4日前
個人
包丁研ぎ器具
2か月前
株式会社松風
研磨用ゴム砥石
4日前
個人
研磨体
4か月前
株式会社サンポー
ブラスト装置
5か月前
株式会社クボタ
管研削装置
3か月前
株式会社東京精密
研削装置
今日
株式会社村田製作所
切削装置
4か月前
株式会社ディスコ
被加工物の加工方法
25日前
不二空機株式会社
可搬型動力工具
4か月前
株式会社ニッチュー
ブラスト装置
3か月前
株式会社東京精密
加工装置
6日前
株式会社東京精密
加工方法
6日前
続きを見る
他の特許を見る