TOP
|
特許
|
意匠
|
商標
特許ウォッチ
Twitter
他の特許を見る
公開番号
2025161139
公報種別
公開特許公報(A)
公開日
2025-10-24
出願番号
2024064061
出願日
2024-04-11
発明の名称
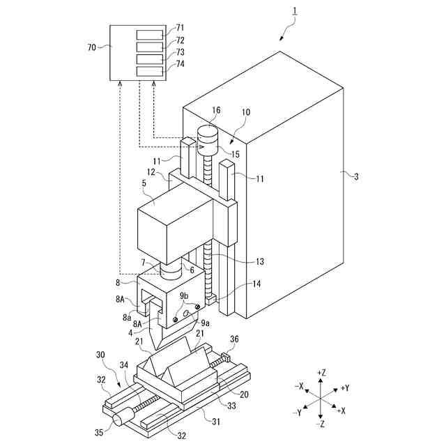
抗折強度測定装置
出願人
株式会社ディスコ
代理人
弁理士法人東京アルパ特許事務所
主分類
G01N
3/20 20060101AFI20251017BHJP(測定;試験)
要約
【課題】押圧部の適切な交換時期を正確に把握すること。
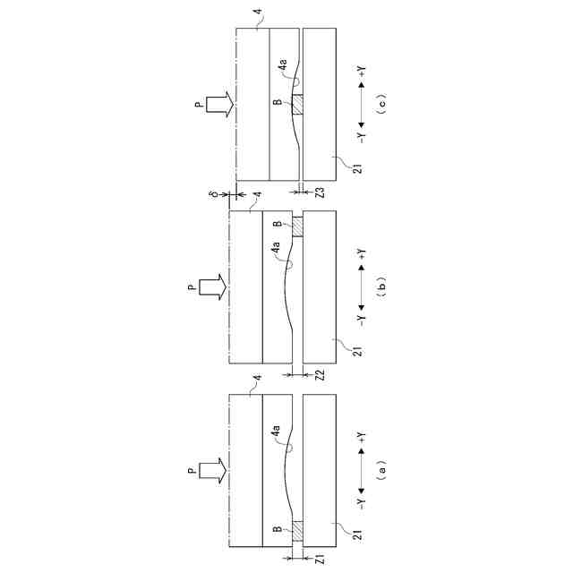
【解決手段】抗折強度測定装置1は、支持部21の長手方向一端に配置された測定ブロックBを押圧部4によって所定の荷重値Pで押圧したときにエンコーダ(距離検知部)16が検知した第1の距離Z1と、支持部21の長手方向他端に配置された測定ブロックBを押圧部4によって所定の荷重値Pで押圧したときにエンコーダ16が検知した第2の距離Z2と、支持部21の長手方向中央領域の指定の位置に配置された測定ブロックBを押圧部4によって所定の荷重値Pで押圧したときにエンコーダ16が検知した第3の距離Z3をそれぞれ記憶し、第1の距離Z1と第2の距離Z2との平均値と第3の距離Z3との差、または、第1の距離Z1と第3の距離Z3との差、または、第2の距離Z2と第3の距離Z3との差が予め設定した閾値以上になると、押圧部4が摩耗したものと判断する。
【選択図】図8
特許請求の範囲
【請求項1】
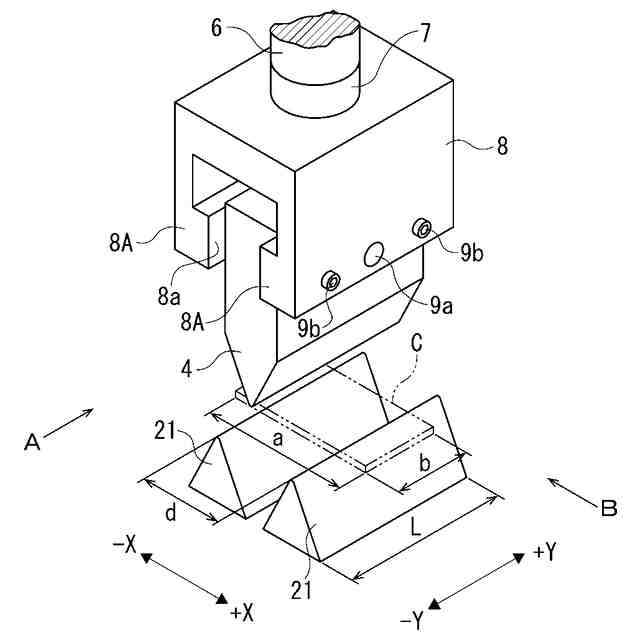
四角形のチップの相対向する一対の2辺を組とした2組のうちの一方の組の2辺の長さ方向に離隔し、他方の組の2辺の長さ以上に該2辺の長さ方向に延在してチップの下面を支持する2つの支持部と、
前記支持部に支持されたチップを、他方の組の2辺の長さ方向に延在する下端で押圧する押圧部と、
該押圧部と前記支持部とを相対的に昇降させる昇降機構と、
該昇降機構によって相対的に昇降する前記押圧部と前記支持部との距離を検知する距離検知部と、
チップを前記押圧部で押圧しているときの荷重を測定する荷重センサと、
を備える抗折強度測定装置であって、
2つの前記支持部の長手方向一端に配置された前記支持部の長さの3分の1の長さ未満の幅の測定ブロックを前記押圧部によって所定の荷重値で押圧したときに前記距離検知部が検知した第1の距離を記憶する第1記憶部と、
2つの前記支持部の長手方向他端に配置された前記測定ブロックを前記押圧部によって所定の荷重値で押圧したときに前記距離検知部が検知した第2の距離を記憶する第2記憶部と、
2つの前記支持部の長手方向中央領域の指定の位置に配置された前記測定ブロックを前記押圧部によって所定の荷重値で押圧したときに前記距離検知部が検知した第3の距離を記憶する第3記憶部と、
前記第1の距離と前記第2の距離との平均値と前記第3の距離との差、または、前記第1の距離と前記第3の距離との差、または、前記第2の距離と前記第3の距離との差が予め設定した閾値以上になると、前記押圧部が摩耗したものと判断する摩耗判断部と、
を備えることを特徴とする抗折強度測定装置。
発明の詳細な説明
【技術分野】
【0001】
本発明は、半導体チップの抗折強度を測定するための抗折強度測定装置に関する。
続きを表示(約 2,100 文字)
【背景技術】
【0002】
多数のデバイスが形成され分割予定ラインを形成したウェーハを切削ブレードやレーザビームなどによって分割予定ラインに沿って分割することによって複数の半導体チップ(以下、単に「チップ」と称する)が得られる。
【0003】
ところで、チップごとのサンプル検査においてチップの抗折強度が抗折強度測定装置によって測定され、所定値以上の抗折強度が確認されたチップのみがパソコン(パーソナルコンピュータ)や携帯電話(スマートフォン)などの電子機器に用いられている。
【0004】
チップの抗折強度を測定する抗折強度測定装置においては、所定距離だけ離れた2つの支持部でチップの下面を支持し、先端がナイフエッジ状の押圧部をチップの中央上方から下降させて該押圧部の先端でチップを押圧し、該チップが折損するときの押圧荷重を荷重センサで検出することによって抗折強度を測定する3点曲げ試験が行われている(例えば、特許文献1参照)。
【先行技術文献】
【特許文献】
【0005】
特開2021-196183号公報
【発明の概要】
【発明が解決しようとする課題】
【0006】
ところで、抗折強度測定装置によるチップの抗折強度の測定は、チップの中心と押圧部の中心とを一致させて行っているため、押圧部の先端の長手方向中央部が長きにわたって抗折強度測定をするなかで、チップが破損すること、チップとの擦れなどによって摩耗し、チップの抗折強度を正確に測定できなくなるという問題が発生する。このため、押圧部を定期的に交換するようにしている。
【0007】
しかしながら、実際には、押圧部の摩耗量を正確に把握できていないため、押圧部の適切な交換時期が明確でなく、必要以上の過剰な頻度で押圧部を交換したり、摩耗している押圧部で抗折強度を測定しているために正確な測定ができていないという問題がある。
【0008】
本発明は、上記問題に鑑みてなされたもので、その目的は、押圧部の適切な交換時期を正確に把握することができる抗折強度測定装置を提供することにある。
【課題を解決するための手段】
【0009】
上記目的を達成するための本発明は、四角形のチップの相対向する一対の2辺を組とした2組のうちの一方の組の2辺の長さ方向に離隔し、他方の組の2辺の長さ以上に該2辺の長さ方向に延在してチップの下面を支持する2つの支持部と、前記支持部に支持されたチップを、他方の組の2辺の長さ方向に延在する下端で押圧する押圧部と、該押圧部と前記支持部とを相対的に昇降させる昇降機構と、該昇降機構によって相対的に昇降する前記押圧部と前記支持部との距離を検知する距離検知部と、チップを前記押圧部で押圧しているときの荷重を測定する荷重センサと、を備える抗折強度測定装置であって、2つの前記支持部の長手方向一端に配置された前記支持部の長さの3分の1の長さ未満の幅の測定ブロックを前記押圧部によって所定の荷重値で押圧したときに前記距離検知部が検知した第1の距離を記憶する第1記憶部と、2つの前記支持部の長手方向他端に配置された前記測定ブロックを前記押圧部によって所定の荷重値で押圧したときに前記距離検知部が検知した第2の距離を記憶する第2記憶部と、2つの前記支持部の長手方向中央領域の指定の位置に配置された前記測定ブロックを前記押圧部によって所定の荷重値で押圧したときに前記距離検知部が検知した第3の距離を記憶する第3記憶部と、前記第1の距離と前記第2の距離との平均値と前記第3の距離との差、または、前記第1の距離と前記第3の距離との差、または、前記第2の距離と前記第3の距離との差が予め設定した閾値以上になると、前記押圧部が摩耗したものと判断する摩耗判断部と、を備えることを特徴とする。
【発明の効果】
【0010】
抗折強度測定装置におけるチップの抗折強度の測定においては、押圧部の長手方向両端部は、チップを押圧しないために殆ど摩耗しないが、押圧部の長手方向中央部は、チップを押圧するために摩耗する。したがって、本発明のように、2つの支持部の長手方向一端に測定ブロックを配置して該測定ブロックを押圧部で所定の荷重値で押圧したときに距離検知部によって検知される押圧部と支持部との距離を第1の距離として第1記憶部に記憶し、2つの支持部の長手方向他端に測定ブロックを配置して該測定ブロックを押圧部で所定の荷重値で押圧したときに距離検知部によって検知される押圧部と支持部との距離を第2の距離として第2記憶部に記憶し、2つの支持部の長手方向中央領域の指定の位置に測定ブロックを配置して該測定ブロックを押圧部で所定の荷重値で押圧したときに距離検知部によって検知される押圧部と支持部との距離を第3の距離として第3記憶部に記憶すれば、これらの第1の距離と第2の距離との平均値と第3の距離との差、または、第1の距離と第3の距離との差、または、第2の距離と第3の距離との差を押圧部の摩耗量として算出することができる。
(【0011】以降は省略されています)
この特許をJ-PlatPat(特許庁公式サイト)で参照する
関連特許
株式会社ディスコ
焼成炉
23日前
株式会社ディスコ
加工装置
1か月前
株式会社ディスコ
加工方法
1か月前
株式会社ディスコ
切削装置
18日前
株式会社ディスコ
研削装置
23日前
株式会社ディスコ
処理装置
23日前
株式会社ディスコ
加工装置
25日前
株式会社ディスコ
加工装置
9日前
株式会社ディスコ
加工装置
12日前
株式会社ディスコ
加工装置
1か月前
株式会社ディスコ
加工装置
1か月前
株式会社ディスコ
加工装置
1か月前
株式会社ディスコ
切削装置
1か月前
株式会社ディスコ
加工装置
1か月前
株式会社ディスコ
加工装置
17日前
株式会社ディスコ
搬送システム
1か月前
株式会社ディスコ
搬送システム
1か月前
株式会社ディスコ
搬送システム
23日前
株式会社ディスコ
シート固着装置
11日前
株式会社ディスコ
レーザー加工装置
11日前
株式会社ディスコ
加工室の洗浄方法
20日前
株式会社ディスコ
保護部材形成装置
1か月前
株式会社ディスコ
液状樹脂供給装置
1か月前
株式会社ディスコ
保護部材形成装置
1か月前
株式会社ディスコ
抗折強度測定装置
23日前
株式会社ディスコ
配線引き抜き治具
23日前
株式会社ディスコ
被加工物の処理装置
1か月前
株式会社ディスコ
スピンドルユニット
9日前
株式会社ディスコ
ウエーハの加工装置
1か月前
株式会社ディスコ
ウエーハの加工方法
24日前
株式会社ディスコ
加工装置及び支持柱
24日前
株式会社ディスコ
カーフチェック方法
24日前
株式会社ディスコ
ウェーハの分割方法
24日前
株式会社ディスコ
被加工物の加工方法
17日前
株式会社ディスコ
搬出装置及び切削装置
1か月前
株式会社ディスコ
シリアル接続システム
9日前
続きを見る
他の特許を見る