TOP
|
特許
|
意匠
|
商標
特許ウォッチ
Twitter
他の特許を見る
公開番号
2025161259
公報種別
公開特許公報(A)
公開日
2025-10-24
出願番号
2024064297
出願日
2024-04-11
発明の名称
焼成炉
出願人
株式会社ディスコ
代理人
弁理士法人東京アルパ特許事務所
主分類
F27D
21/00 20060101AFI20251017BHJP(炉,キルン,窯;レトルト)
要約
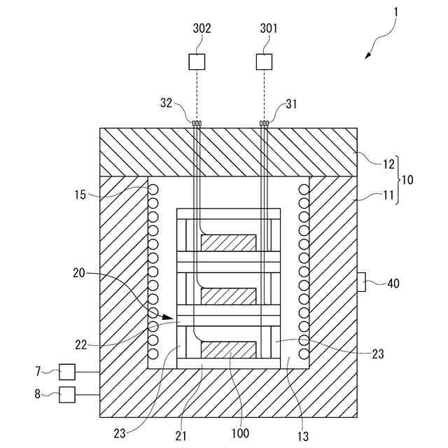
【課題】焼成炉において成形部材を焼成するための適切な昇温レートを容易に取得する。
【解決手段】、焼成炉1が、炉体10に配置されて炉体10内の振動を検知する振動検知センサ40と、炉体10内の温度を測定する温度センサとしてのラック用熱電対31および成形部材用熱電対32と、を備えている。これにより、制御部7は、ある昇温レートで炉体10内において焼成中の成形部材100に割れが生じたこと、および、成形部材100に割れが生じたときの炉体10内の温度を、良好かつ容易に取得することができる。したがって、昇温レートと成形部材100が割れる温度との関係を、容易に得ることができる。このため、焼成炉1において成形部材100を焼成するための適切な昇温レートを、容易に取得することができる。
【選択図】図1
特許請求の範囲
【請求項1】
成形部材を焼成して焼成品を製造する焼成炉であって、
該成形部材を配置して焼成するための炉体と、
該炉体内を加熱するヒータと、
該炉体に配置され、炉体内の振動を検知する振動検知センサと、
該炉体内の温度を測定する温度センサと、
を備える焼成炉。
続きを表示(約 390 文字)
【請求項2】
炉体内の温度をある昇温レートで昇温している際、該振動検知センサが検知した振動の大きさが予め設定した閾値以上であるときに該温度センサが測定した温度を記憶するための記憶部と、
該炉体内の温度が、該記憶部に記憶された温度よりも所定温度だけ低い温度となったときに、焼成温度に向かって該炉体内の温度を昇温する昇温レートを遅くする制御部と、をさらに備える、
請求項1記載の焼成炉。
【請求項3】
炉体内の温度をある昇温レートで昇温している際、該振動検知センサが検知した振動の大きさが予め設定した閾値以上であるときに、該温度センサが測定した温度を記憶するための記憶部と、
該記憶部に温度を記憶したときの該昇温レートよりも、該記憶部に記憶した温度までの昇温レートを遅くする制御部と、をさらに備える、
請求項1記載の焼成炉。
発明の詳細な説明
【技術分野】
【0001】
本発明は、焼成炉に関する。
続きを表示(約 1,300 文字)
【背景技術】
【0002】
特許文献1~3に開示のように、砥粒と結合剤とを混ぜて成形した成形部材を、焼成炉で焼成することによって、砥石が製造される。
【先行技術文献】
【特許文献】
【0003】
特開昭63-007269号公報
特開2011-021267号公報
特開2012-183627号公報
【発明の概要】
【発明が解決しようとする課題】
【0004】
成形部材を焼成して焼成品を得る際には、成形部材を炉体内に投入して、炉体内の温度を焼成温度(例えば1400度)に昇温し、所定時間、この温度を維持する。
【0005】
しかしながら、炉体内の温度を焼成温度に昇温しているときに、成形部材が割れることがある。また、適切な昇温レート(たとえば、割れが起きないできるだけ速い昇温レート)を知るには手間がかかる。
【0006】
したがって、本発明の目的は、焼成炉において成形部材を焼成するための適切な昇温レートを容易に取得することにある。
【課題を解決するための手段】
【0007】
本発明の焼成炉(本焼成炉)は、成形部材を焼成して焼成品を製造する焼成炉であって、該成形部材を配置して焼成するための炉体と、該炉体内を加熱するヒータと、該炉体に配置され、炉体内の振動を検知する振動検知センサと、該炉体内の温度を測定する温度センサと、を備える。
【0008】
本焼成炉は、炉体内の温度をある昇温レートで昇温している際、該振動検知センサが検知した振動の大きさが予め設定した閾値以上であるときに該温度センサが測定した温度を記憶するための記憶部と、該炉体内の温度が、該記憶部に記憶された温度よりも所定温度だけ低い温度となったときに、焼成温度に向かって該炉体内の温度を昇温する昇温レートを遅くする制御部と、をさらに備えてもよい。
【0009】
また、本焼成炉は、炉体内の温度をある昇温レートで昇温している際、該振動検知センサが検知した振動の大きさが予め設定した閾値以上であるときに、該温度センサが測定した温度を記憶するための記憶部と、該記憶部に温度を記憶したときの該昇温レートよりも、該記憶部に記憶した温度までの昇温レートを遅くする制御部と、をさらに備えてもよい。
【発明の効果】
【0010】
本焼成炉は、炉体内の振動を検知する振動検知センサと、炉体内の温度を測定する温度センサとを備えている。これにより、ある昇温レートで炉体内において焼成中の成形部材に割れが生じたこと、および、成形部材に割れが生じたときの炉体内の温度を、良好かつ容易に検知することができる。したがって、本焼成炉では、昇温レートと成形部材が割れる温度との関係を容易に得ることができる。このため、本焼成炉において成形部材を焼成するための適切な昇温レートを、容易に取得することができる。
【図面の簡単な説明】
(【0011】以降は省略されています)
この特許をJ-PlatPat(特許庁公式サイト)で参照する
関連特許
株式会社ディスコ
焼成炉
25日前
株式会社ディスコ
研削装置
25日前
株式会社ディスコ
加工装置
19日前
株式会社ディスコ
加工装置
14日前
株式会社ディスコ
加工装置
11日前
株式会社ディスコ
加工方法
1か月前
株式会社ディスコ
加工装置
27日前
株式会社ディスコ
処理装置
25日前
株式会社ディスコ
切削装置
20日前
株式会社ディスコ
搬送システム
1か月前
株式会社ディスコ
搬送システム
25日前
株式会社ディスコ
搬送システム
1か月前
株式会社ディスコ
シート固着装置
13日前
株式会社ディスコ
レーザー加工装置
13日前
株式会社ディスコ
配線引き抜き治具
25日前
株式会社ディスコ
抗折強度測定装置
25日前
株式会社ディスコ
加工室の洗浄方法
22日前
株式会社ディスコ
保護部材形成装置
1か月前
株式会社ディスコ
液状樹脂供給装置
1か月前
株式会社ディスコ
カーフチェック方法
26日前
株式会社ディスコ
加工装置及び支持柱
26日前
株式会社ディスコ
ウエーハの加工方法
26日前
株式会社ディスコ
スピンドルユニット
11日前
株式会社ディスコ
ウエーハの加工装置
1か月前
株式会社ディスコ
被加工物の加工方法
19日前
株式会社ディスコ
ウェーハの分割方法
26日前
株式会社ディスコ
キャリア板の除去方法
13日前
株式会社ディスコ
シリアル接続システム
11日前
株式会社ディスコ
処理装置及び検知方法
20日前
株式会社ディスコ
洗浄装置及び洗浄方法
6日前
株式会社ディスコ
研削装置および研削方法
20日前
株式会社ディスコ
加工方法、及び研磨装置
13日前
株式会社ディスコ
走査光学系及び光学処理装置
19日前
株式会社ディスコ
フィルターハウジングホルダー
11日前
株式会社ディスコ
貼り合わせウェーハの加工方法
25日前
株式会社ディスコ
切削方法及びチップの製造方法
28日前
続きを見る
他の特許を見る