TOP
|
特許
|
意匠
|
商標
特許ウォッチ
Twitter
他の特許を見る
公開番号
2025165492
公報種別
公開特許公報(A)
公開日
2025-11-05
出願番号
2024069555
出願日
2024-04-23
発明の名称
レーザー加工装置
出願人
株式会社ディスコ
代理人
弁理士法人愛宕綜合特許事務所
主分類
H01L
21/301 20060101AFI20251028BHJP(基本的電気素子)
要約
【課題】波長の異なるレーザー加工装置を2台用意しなければならず不経済であるという問題を解消することができる加工装置を提供する。
【解決手段】ウエーハを保持する保持手段と、該保持手段に保持されたウエーハにパルスレーザー光線を照射するレーザー光線照射手段7と、該保持手段とレーザー光線照射手段7とを相対的に加工送りする加工送り手段と、を備え、レーザー光線照射手段7は、パルスレーザー光線LB1を発振する発振器70と、発振器70が発振したパルスレーザー光線LB1を第一の光路L1と第二の光路L2とに分岐する分岐部73と、第一の光路L1に配設され該保持手段に保持されたウエーハにパルスレーザー光線LB1を集光する第一の集光器71と、第二の光路L2に配設され発振器70が発振したパルスレーザー光線LB1の波長を変換する波長変換器82と、該保持手段に保持されたウエーハに波長が変換されたパルスレーザー光線LB2を集光する第二の集光器81と、を備える。
【選択図】図2
特許請求の範囲
【請求項1】
ウエーハを保持する保持手段と、該保持手段に保持されたウエーハにパルスレーザー光線を照射するレーザー光線照射手段と、該保持手段と該レーザー光線照射手段とを相対的に加工送りする加工送り手段と、を備え、
該レーザー光線照射手段は、パルスレーザー光線を発振する発振器と、該発振器が発振したパルスレーザー光線を第一の光路と第二の光路とに分岐する分岐部と、該第一の光路に配設され該保持手段に保持されたウエーハにパルスレーザー光線を集光する第一の集光器と、該第二の光路に配設され該発振器が発振したパルスレーザー光線の波長を変換する波長変換器と、該保持手段に保持されたウエーハに波長が変換されたパルスレーザー光線を集光する第二の集光器と、を備えたレーザー加工装置。
続きを表示(約 1,100 文字)
【請求項2】
該波長変換器は、該発振器が発振したパルスレーザー光線の波長を深紫外光のパルスレーザー光線に変換し、
該発振器が発振するパルスレーザー光線の繰り返し周波数の値は、シリコン基板の上面に積層されたSiO
2
膜を含む透明膜における熱拡散時間より短い時間間隔で深紫外光のパルスレーザー光線がウエーハに照射される値に設定される請求項1に記載のレーザー加工装置。
【請求項3】
該第二の光路には、該加工送り方向をX軸方向とした場合、波長が変換されたパルスレーザー光線のスポットを該X軸方向と直交するY軸方向に2個のスポットに分離する分離部と、該分離部によって分離されたスポットの間隔を調整するビームエキスパンダーと、を備える請求項1に記載のレーザー加工装置。
【請求項4】
該第一の光路には、該分岐部と該第一の集光器との間にY軸方向にパルスレーザー光線のビームの幅を設定するビーム幅設定部が配設され、該分離部によって分離された2個のスポットの間隔に対応してパルスレーザー光線のビームの幅を設定する請求項3に記載のレーザー加工装置。
【請求項5】
該分岐部は、1/2波長板と偏光ビームスプリッターとで構成され、該1/2波長板を回転して該第一の光路と該第二の光路とに導くパルスレーザー光線のパワーの比率を調整する請求項1に記載のレーザー加工装置。
【請求項6】
該分岐部は、ミラー部と該ミラー部を作用位置と非作用位置に位置付ける位置付け手段とから構成され、該ミラー部を作用位置に位置付けて該第二の光路にパルスレーザー光線を導き、該ミラー部を非作用位置に位置付けて、該第一の光路にパルスレーザー光線を導く請求項1に記載のレーザー加工装置。
【請求項7】
該発振器と該分岐部との間にビームエキスパンダーが配設され、パルスレーザー光線のパワー密度を低くして該分岐部に掛かる負荷を軽減する請求項1に記載のレーザー加工装置。
【請求項8】
該第一の集光器と該第二の集光器は、共通の集光器で構成される請求項1に記載のレーザー加工装置。
【請求項9】
該発振器が発振するパルスレーザー光線の繰り返し周波数の値は、パルスレーザー光線を照射する時間間隔が、SiO
2
膜における熱拡散時間である1.0μs未満となるように1MHzを超える値に設定される請求項2に記載のレーザー加工装置。
【請求項10】
該発振器が発振するパルスレーザー光線の波長は、515乃至532nmであり、該波長変換器によって変換される波長は、257乃至266nmである請求項1に記載のレーザー加工装置。
発明の詳細な説明
【技術分野】
【0001】
本発明は、ウエーハにパルスレーザー光線を照射するレーザー加工装置に関する。
続きを表示(約 2,100 文字)
【背景技術】
【0002】
IC、LSI等の複数のデバイスが分割予定ラインによって区画され表面に形成されたウエーハは、ダイシング装置、レーザー加工装置によって個々のデバイスチップに分割され、携帯電話、パソコン等の電気機器に利用される。
【0003】
また、ウエーハの表面にLow-k膜と称する低誘電率絶縁膜が積層されている場合、切削ブレードによってウエーハを切削すると、Low-k膜が雲母のように剥離して、該剥離が分割予定ラインからデバイスに至り、該デバイスの品質を低下させるという問題がある。
【0004】
そこで、本出願人は、切削ブレードで分割予定ラインを切削しても絶縁膜の剥離がデバイスに至らないように、分割予定ラインの両側にレーザー光線を照射して二条の溝を形成し、該二条の溝の間を切削ブレードで切断する技術を提案している(特許文献1を参照)。
【先行技術文献】
【特許文献】
【0005】
特開2005-064230号公報
【発明の概要】
【発明が解決しようとする課題】
【0006】
しかし、シリコン基板上にSiO
2
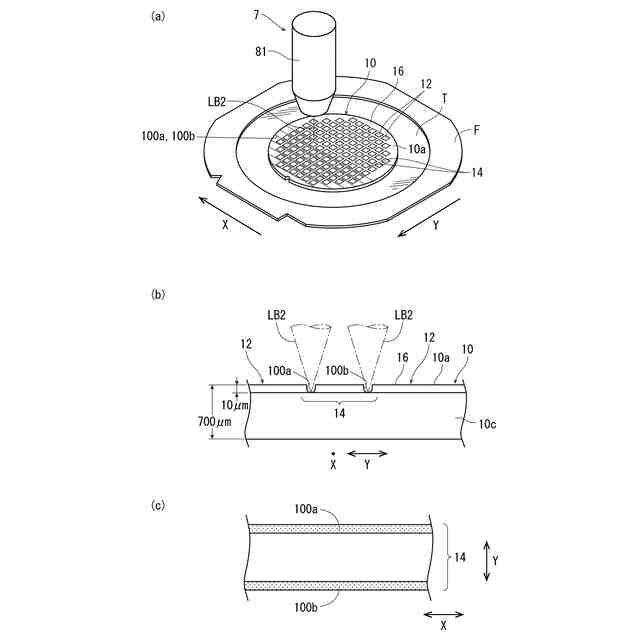
膜を含む透明膜の積層によってLow-k膜(例えば厚み10μm)が作られていると、レーザー光線の抜け光がLow-k膜とシリコン基板との界面で剥離を生じさせ、ウエーハから個々に分割されるデバイスの品質を低下させるという問題があり、改善が求められていた。
【0007】
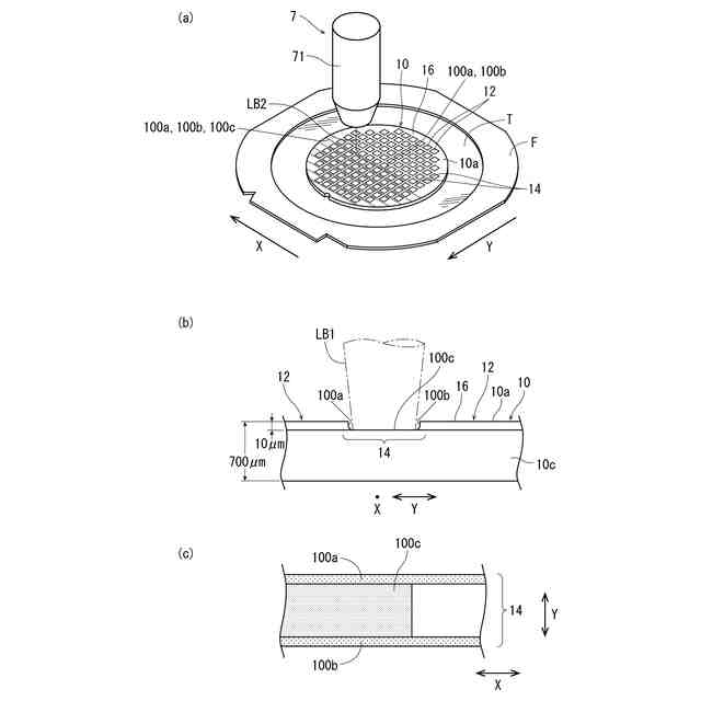
また、分割予定ラインの両側にレーザー光線を照射して、二条の溝を形成すると、該二条の溝で挟まれた領域にLow-k膜が残存し、切削ブレードで分割予定ラインを切削すると、幅方向に不安定となり、高頻度な切削が出来なくなることから、二条の溝で挟まれた領域のLow-k膜にレーザー光線を照射して、完全に除去する方法が考えられる。ところが、該二条の溝を形成するのに適したレーザー光線の波長と、二条の溝で挟まれた領域のLow-k膜を除去するのに適したレーザー光線の波長とが異なり、波長の異なるレーザー加工装置を2台用意しなければならず、不経済であるという問題がある。
【0008】
本発明は、上記事実に鑑みなされたものであり、その主たる技術課題は、シリコン基板上にSiO
2
膜を含む透明膜の積層によってLow-k膜(例えば厚み10μm)が形成されていても、レーザー光線の抜け光を抑制して、Low-k膜とシリコン基板との界面で剥離が生じ、ウエーハから個々に分割されるデバイスの品質を低下させるという問題を解消すると共に、1台のレーザー加工装置によって、二条の溝を適切に形成すると共に、二条の溝で挟まれた領域のLow-k膜を除去することを可能にし、波長の異なるレーザー加工装置を2台用意しなければならず不経済であるという問題を解消することができる加工装置を提供することにある。
【課題を解決するための手段】
【0009】
上記主たる技術課題を解決するため、本発明によれば、ウエーハを保持する保持手段と、該保持手段に保持されたウエーハにパルスレーザー光線を照射するレーザー光線照射手段と、該保持手段と該レーザー光線照射手段とを相対的に加工送りする加工送り手段と、を備え、該レーザー光線照射手段は、パルスレーザー光線を発振する発振器と、該発振器が発振したパルスレーザー光線を第一の光路と第二の光路とに分岐する分岐部と、該第一の光路に配設され該保持手段に保持されたウエーハにパルスレーザー光線を集光する第一の集光器と、該第二の光路に配設され該発振器が発振したパルスレーザー光線の波長を変換する波長変換器と、該保持手段に保持されたウエーハに波長が変換されたパルスレーザー光線を集光する第二の集光器と、を備えたレーザー加工装置が提供される。
【0010】
該波長変換器は、該発振器が発振したパルスレーザー光線の波長を深紫外光のパルスレーザー光線に変換し、該発振器が発振するパルスレーザー光線の繰り返し周波数の値は、シリコン基板の上面に積層されたSiO
2
膜を含む透明膜における熱拡散時間より短い時間間隔で深紫外光のパルスレーザー光線がウエーハに照射される値に設定されることが好ましい。また、該第二の光路には、該加工送り方向をX軸方向とした場合、波長が変換されたパルスレーザー光線のスポットを該X軸方向と直交するY軸方向に2個のスポットに分離する分離部と、該分離部によって分離されたスポットの間隔を調整するビームエキスパンダーと、を備えることが好ましい。さらに、該第一の光路には、該分岐部と該第一の集光器との間にY軸方向にパルスレーザー光線のビームの幅を設定するビーム幅設定部が配設され、該分離部によって分離された2個のスポットの間隔に対応してパルスレーザー光線のビームの幅を設定することが好ましい。
(【0011】以降は省略されています)
この特許をJ-PlatPat(特許庁公式サイト)で参照する
関連特許
株式会社ディスコ
研削装置
4日前
株式会社ディスコ
処理装置
3日前
株式会社ディスコ
加工装置
12日前
株式会社ディスコ
加工装置
11日前
株式会社ディスコ
切削装置
3日前
株式会社ディスコ
掃除器具
11日前
株式会社ディスコ
加工装置
4日前
株式会社ディスコ
掃除器具
11日前
株式会社ディスコ
切削装置
5日前
株式会社ディスコ
処理方法
11日前
株式会社ディスコ
搬送システム
11日前
株式会社ディスコ
搬送システム
4日前
株式会社ディスコ
搬送システム
11日前
株式会社ディスコ
搬送システム
11日前
株式会社ディスコ
搬送システム
3日前
株式会社ディスコ
カセットステージ
4日前
株式会社ディスコ
分割装置及び分割方法
3日前
株式会社ディスコ
洗浄装置及び洗浄方法
19日前
株式会社ディスコ
支持ウェーハの再使用方法
3日前
株式会社ディスコ
試験装置、及び、試験方法
4日前
株式会社ディスコ
基板の製造方法及び処理装置
3日前
株式会社ディスコ
ウェーハ及びウェーハの製造方法
4日前
株式会社ディスコ
加工装置の検査方法及び試験用部材
3日前
株式会社ディスコ
レーザ加工装置およびレーザ加工方法
5日前
株式会社ディスコ
ブレード直径算出方法、及び、加工装置
17日前
株式会社ディスコ
加工装置および加工装置の加工屑除去方法
5日前
株式会社ディスコ
マウントフランジの修正方法及び切削装置
4日前
株式会社ディスコ
加工装置、及び、加工装置の異常判定方法。
4日前
株式会社ディスコ
加工装置、及び、加工装置の異常判定方法。
4日前
株式会社ディスコ
エッジトリミング方法及びエッジトリミング装置
3日前
株式会社ディスコ
リングフレーム、ウェーハの分割方法及び分割装置
3日前
株式会社ディスコ
研削ホイール装着治具及び研削ホイール装着治具の使用方法
17日前
株式会社ディスコ
チャックテーブル、処理装置、及び、対象物ウェーハの加工方法
4日前
APB株式会社
蓄電セル
1か月前
東ソー株式会社
絶縁電線
1か月前
株式会社東芝
端子台
1か月前
続きを見る
他の特許を見る