TOP
|
特許
|
意匠
|
商標
特許ウォッチ
Twitter
他の特許を見る
公開番号
2025169516
公報種別
公開特許公報(A)
公開日
2025-11-14
出願番号
2024074246
出願日
2024-05-01
発明の名称
ブレード直径算出方法、及び、加工装置
出願人
株式会社ディスコ
代理人
個人
主分類
B24B
49/12 20060101AFI20251107BHJP(研削;研磨)
要約
【課題】 板状物に形成される溝を画像認識することでブレード直径を算出するための新規な技術を提案する。
【解決手段】板状物に形成された切削溝を撮像し、該切削溝の撮像画像から切削ブレードの直径を算出するブレード直径算出方法であって、該板状物の表面を撮像する撮像ステップと、該撮像画像中の該切削溝を検出する溝検出ステップと、該撮像画像中に該切削溝が検出されない場合に、該切削ブレードの基準位置を切り込み深さを所定量低くする増加させるように補正する補正ステップと、該補正ステップで補正された後の切り込み深さにて後の基準位置から該切削ブレードを下降させ該板状物に切り込みを行う追加切込ステップと、該追加切込ステップ後に該板状物の表面を撮像する撮像ステップと、を含むループ処理と、該溝検出ステップにおいて該切削溝が検出された場合に、該切削溝を撮像し該撮像画像から該切削ブレードの直径を算出する直径算出ステップと、を含む、ブレード直径算出方法とする。
【選択図】図5
特許請求の範囲
【請求項1】
板状物に形成された切削溝を撮像し、該切削溝の撮像画像から切削ブレードの直径を算出するブレード直径算出方法であって、
該板状物の表面を撮像する撮像ステップと、
該撮像画像中の該切削溝を検出する溝検出ステップと、
該撮像画像中に該切削溝が検出されない場合に、該切削ブレードの下降時の刃先位置の設定を所定量低くするように補正する補正ステップと、
該補正ステップ後に該切削ブレードを下降させ該板状物に切り込みを行う追加切込ステップと、
を含むループ処理と、
該溝検出ステップにおいて該切削溝が検出された場合に、該撮像画像から該切削ブレードの直径を算出する直径算出ステップと、
を含む、ブレード直径算出方法。
続きを表示(約 1,500 文字)
【請求項2】
板状物に形成された切削溝を撮像し、該切削溝の撮像画像から切削ブレードの直径を算出するブレード直径算出方法であって、該板状物に切り込みを行う切込ステップと、
該切削ブレードにかかる負荷の変化に基づいて、該切削ブレードの切り込みの有無を検出する切込検出ステップと、
該切込検出ステップにおいて切り込みが検出されない場合に、該切削ブレードの下降時の刃先位置の設定を所定量低くするように補正する補正ステップと、
を含むループ処理と、
該切込検出ステップにおいて切り込みが検出された場合に、該切削溝を撮像し該撮像画像から該切削ブレードの直径を算出する直径算出ステップと、
を含む、ブレード直径算出方法。
【請求項3】
該追加切込ステップの際に、該切削ブレードにかかる負荷の変化に基づいて、該切削ブレードの切り込みの有無を検出する、
ことを特徴とする請求項1に記載のブレード直径算出方法。
【請求項4】
該下降時の刃先位置の基準となる基準位置は、予め実施されるノンコンタクトセットアップにより設定される、
ことを特徴とする請求項1乃至請求項3のいずれか一項に記載のブレード直径算出方法。
【請求項5】
板状物に形成された切削溝を撮像し、該切削溝の撮像画像から切削ブレードの直径を算出可能な加工装置であって、
制御ユニットと、撮像ユニットと、該切削ブレードを有する切削ユニットと、該板状物を保持する保持テーブルと、を有し、
該制御ユニットは、
該板状物の表面を撮像する撮像ステップと、
該撮像画像中の該切削溝を検出する溝検出ステップと、
該撮像画像中に該切削溝が検出されない場合に、該切削ブレードの下降時の刃先位置の設定を所定量低くするように補正する補正ステップと、
該補正ステップ後に該切削ブレードを下降させ該板状物に切り込みを行う追加切込ステップと、
を含むループ処理と、
該溝検出ステップにおいて該切削溝が検出された場合に、該撮像画像から該切削ブレードの直径を算出する直径算出ステップと、
を行う、加工装置。
【請求項6】
板状物に形成された切削溝を撮像し、該切削溝の撮像画像から切削ブレードの直径を算出可能な加工装置であって、
制御ユニットと、撮像ユニットと、該切削ブレードを有する切削ユニットと、該板状物を保持する保持テーブルと、切削ブレードの電流値を検出する検出手段と、を有し、
該制御ユニットは、
該板状物に切り込みを行う切込ステップと、
該切削ブレードにかかる負荷の変化に基づいて、該切削ブレードの切り込みの有無を検出する切込検出ステップと、
該切込検出ステップにおいて切り込みが検出されない場合に、該切削ブレードの下降時の刃先位置の設定を所定量低くするように補正する補正ステップと、
を含むループ処理と、
該切込検出ステップにおいて切り込みが検出された場合に、該切削溝を撮像し該撮像画像から該切削ブレードの直径を算出する直径算出ステップと、
を行う、加工装置。
【請求項7】
該追加切込ステップの際に、該切削ブレードにかかる負荷の変化に基づいて、該切削ブレードの切り込みの有無を検出する、
ことを特徴とする請求項5に記載の加工装置。
【請求項8】
該下降時の刃先位置の基準となる基準位置は、予め実施されるノンコンタクトセットアップにより設定される、
ことを特徴とする請求項5乃至請求項7のいずれか一項に記載の加工装置。
発明の詳細な説明
【技術分野】
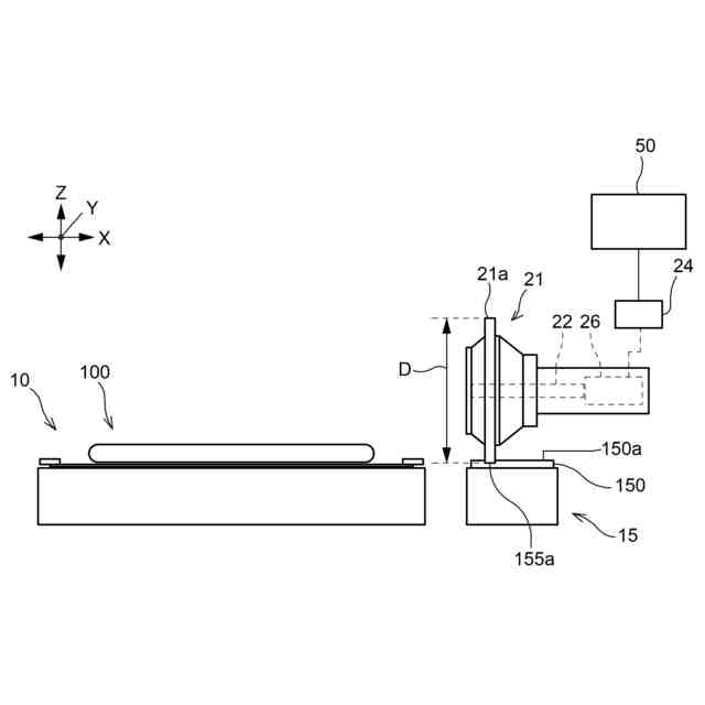
【0001】
本発明は、板状物に形成される溝を画像認識することで、ブレード直径を算出する方法に関する。
続きを表示(約 1,200 文字)
【背景技術】
【0002】
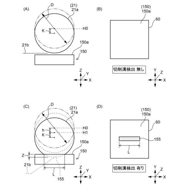
従来、例えば特許文献1に開示されるように、チョッパーカットセットアップ(以下、「CCS」(Chopper Cut Setup))は、切削ブレードをサブチャックテーブルに搭載されたシリコン製の測定用の板状物に最大30μm切り込ませ、切り込んだ幅を画像認識で検出し消耗量を算出するセットアップ方法として知られている。
【0003】
切削ブレードの外径は事前に装置に登録されており、板状物に切り込んだ量である深さ方向の距離30μmから三平方の定理で規定幅値を算出するとともに、実際に画像認識で測定した切り込み幅とのギャップから推定のブレード直径を算出している。
【0004】
また、特許文献1には、光透過型センサーで刃先を検出し、切削ブレードの切り刃の直径を大まかに検出するノンコンタクトセットアップ(「NCS」(Non Contact Setup)についても開示がされている。上記のCCSでは板状物に横からではなく上から切り込むため、一般に、砥石の目立て作業であるドレス(ドレッシング)等の消耗が多い加工の後は、CCSの前にNCSを実施して、大まかな消耗の度合いを算出することが必須とされている。
【先行技術文献】
【特許文献】
【0005】
特開2022-080757号公報
【発明の概要】
【発明が解決しようとする課題】
【0006】
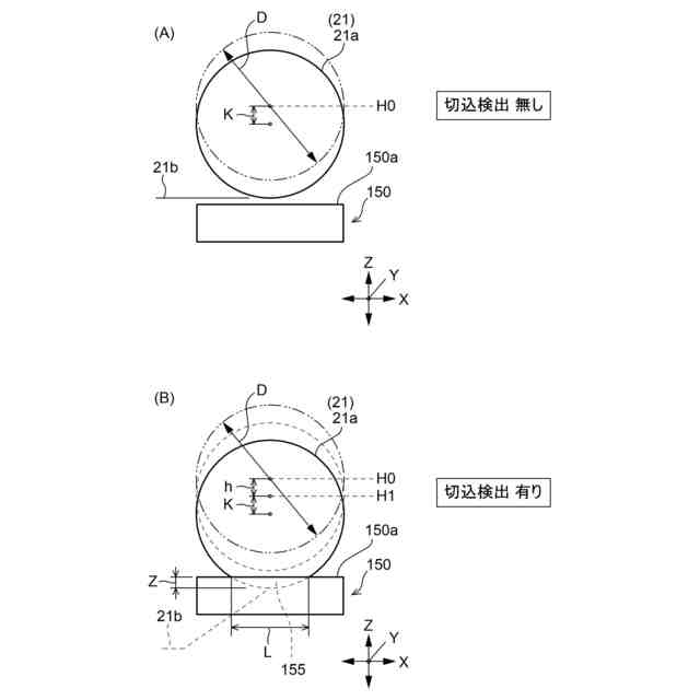
上述のNCSなどの光透過型センサーでの刃先検出での欠点として、3mmなどの厚い切削ブレードでは、厚さ方向の幅が広い底面で光の反射が発生し、この光の反射により先端位置を誤認することがあり、消耗の度合いを正確に測定できないという問題がある。
【0007】
そして、CCSでの刃先の基準位置は、その前に実施するNCSでの刃先位置によって決まる。従って、NCSで誤検出した刃先は実際の刃先の位置よりも先の位置に刃先があると誤認しているため、続くCCSの工程では板状物に切り込めず、いわゆる「空振り」をしてしまう。そして、装置では「画像認識で刃先が検出できない」という旨のエラーを出力することになる。
【0008】
このようなエラーを解消するために、従来は、既に切り込まれた溝を顕微鏡カメラに入るよう位置をずらすことによって、あたかも今回切り込んだ溝のように装置に誤認識させる、という方法が採られていた。
【0009】
しかし、このような方法は非常に煩雑であり、オペレーターに負担をかけてしまうことはもちろんのこと、スループット向上の妨げにもなるため、改善が望まれていた。
【0010】
本発明は以上の問題に鑑み、板状物に形成される溝を画像認識することでブレード直径を算出するための新規な技術を提案するものである。
【課題を解決するための手段】
(【0011】以降は省略されています)
この特許をJ-PlatPat(特許庁公式サイト)で参照する
関連特許
株式会社ディスコ
焼成炉
24日前
株式会社ディスコ
加工方法
1か月前
株式会社ディスコ
加工装置
1か月前
株式会社ディスコ
切削装置
19日前
株式会社ディスコ
処理装置
24日前
株式会社ディスコ
切削装置
1か月前
株式会社ディスコ
加工装置
1か月前
株式会社ディスコ
加工装置
18日前
株式会社ディスコ
加工装置
13日前
株式会社ディスコ
研削装置
24日前
株式会社ディスコ
加工装置
1か月前
株式会社ディスコ
加工装置
1か月前
株式会社ディスコ
加工装置
26日前
株式会社ディスコ
加工装置
1か月前
株式会社ディスコ
加工方法
1か月前
株式会社ディスコ
加工装置
10日前
株式会社ディスコ
研削装置
1か月前
株式会社ディスコ
搬送システム
1か月前
株式会社ディスコ
搬送システム
24日前
株式会社ディスコ
搬送システム
1か月前
株式会社ディスコ
搬送システム
1か月前
株式会社ディスコ
シート固着装置
12日前
株式会社ディスコ
ブレーキング装置
1か月前
株式会社ディスコ
抗折強度測定装置
24日前
株式会社ディスコ
配線引き抜き治具
24日前
株式会社ディスコ
加工室の洗浄方法
21日前
株式会社ディスコ
液状樹脂供給装置
1か月前
株式会社ディスコ
レーザー加工装置
12日前
株式会社ディスコ
保護部材形成装置
1か月前
株式会社ディスコ
保護部材形成装置
1か月前
株式会社ディスコ
被加工物の加工方法
18日前
株式会社ディスコ
カーフチェック方法
25日前
株式会社ディスコ
ウエーハの加工装置
1か月前
株式会社ディスコ
スピンドルユニット
10日前
株式会社ディスコ
ウエーハの加工方法
25日前
株式会社ディスコ
被加工物の処理装置
1か月前
続きを見る
他の特許を見る