TOP
|
特許
|
意匠
|
商標
特許ウォッチ
Twitter
他の特許を見る
公開番号
2025160609
公報種別
公開特許公報(A)
公開日
2025-10-23
出願番号
2024063241
出願日
2024-04-10
発明の名称
ウエーハの加工方法
出願人
株式会社ディスコ
代理人
弁理士法人愛宕綜合特許事務所
主分類
H01L
21/304 20060101AFI20251016BHJP(基本的電気素子)
要約
【課題】ウエーハの外周の面取り加工において汚染源となるウェーハ残存部が発生しないウエーハの加工方法を提供する。
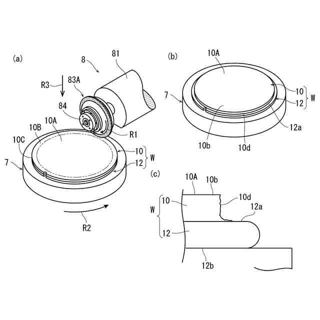
【解決手段】方法は、ウエーハWをチャックテーブル7に保持するウエーハ保持工程と、チャックテーブル7に保持されたウエーハWの外周余剰領域10Bに切削ブレード83Aを位置付けて切削ブレード83Aを回転しながらチャックテーブル7を回転して面取り部を除去する面取り部除去工程と、チャックテーブル7に保持され面取り部10Cが除去されたウエーハWの外周に、切削ブレード83Aに替えて研磨ブレードを位置付けて研磨ブレードを回転しながらチャックテーブル7を回転して面取り部10Cが除去された切削面10dを研磨して鏡面に加工する鏡面加工工程と、を含む。
【選択図】図7
特許請求の範囲
【請求項1】
複数のデバイスが分割予定ラインによって区画されたデバイス領域を含む有効領域と、該有効領域を囲繞する面取り部が形成された外周余剰領域が形成されたウエーハの加工方法であって、
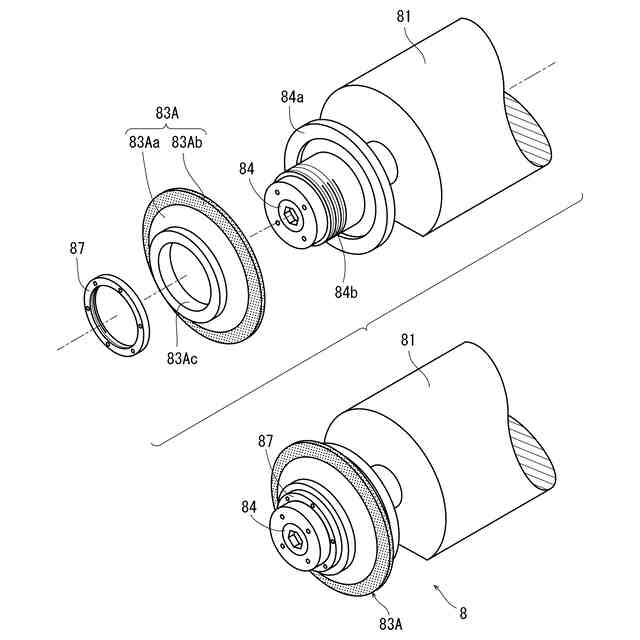
ウエーハを保持するチャックテーブルと、該チャックテーブルに保持されたウエーハの面取り部を切削する切削ブレードを回転可能に備えた切削手段と、面取り部が除去された面を研磨する研磨ブレードを回転可能に備えた研磨手段と、を含む加工装置を準備する準備工程と、
ウエーハを該チャックテーブルに保持するウエーハ保持工程と、
該チャックテーブルに保持されたウエーハの外周余剰領域に該切削ブレードを位置付けて該切削ブレードを回転しながら該チャックテーブルを回転して面取り部を除去する面取り部除去工程と、
該チャックテーブルに保持され面取り部が除去されたウエーハの外周に該研磨ブレードを位置付けて該研磨ブレードを回転しながら該チャックテーブルを回転して面取り部が除去された切削面を研磨して鏡面に加工する鏡面加工工程と、
を含み構成されるウエーハの加工方法。
続きを表示(約 250 文字)
【請求項2】
該鏡面加工工程において、水又はスラリーを供給して切削面を研磨する請求項1に記載のウエーハの加工方法。
【請求項3】
ウエーハは、第一のウエーハの有効領域が形成された表面が第二のウエーハに接合された接合ウエーハであり、
該ウエーハ保持工程において、第二のウエーハ側を該チャックテーブルに保持し、
該チャックテーブルに保持されたウエーハの第一のウエーハに対して、該面取り部除去工程と、該鏡面加工工程を実施する請求項1又は2に記載のウエーハの加工方法。
発明の詳細な説明
【技術分野】
【0001】
本発明は、ウエーハの加工方法に関する。
続きを表示(約 1,700 文字)
【背景技術】
【0002】
IC、LSI等の複数のデバイスが分割予定ラインによって区画され表面に形成されたウエーハは、研削装置によって裏面が研削され、所望の厚みに形成された後、ダイシング装置によって個々のデバイスチップに分割され、携帯電話、パソコン等の電気機器に利用される。
【0003】
また、ウエーハの外周には、面取り部が形成されていて、ウエーハの裏面を研削して薄化すると、面取り部がナイフエッジのように鋭利となり、オペレータが怪我をしたり、ウエーハの外周から内側にクラックが入り、デバイスを損傷させたりするという問題がある。
【0004】
上記した問題は、単一のウエーハに限らず、2枚のウエーハを接合した接合ウエーハにおいても起こり得る問題であり、該接合ウエーハは、例えば、表面活性化法等によりパターンが形成されたウエーハを貼り合わせて形成される。
【0005】
上記した問題に対処すべく、ウエーハの裏面を研削する前に、ウエーハに対して透過性を有する波長のレーザー光線の集光点を面取り部の内側に位置付けて照射し、リング状にウエーハの内部に改質層を形成して面取り部を除去する技術が本出願人によって提案されている(特許文献1を参照)。
【先行技術文献】
【特許文献】
【0006】
特開2020-88187号公報
【発明の概要】
【発明が解決しようとする課題】
【0007】
しかし、上記したように、改質層を起点として面取り部を除去した場合、ウエーハの外周から面取り部が完全に除去されずに僅かに残存することがあり、後工程において残存部が脱落して汚染源になったり、ウエーハを個々のデバイスチップに分割する際に、デバイスチップの欠けの原因になったり等の問題が生じる。
【0008】
本発明は、上記事実に鑑みなされたものであり、その主たる技術課題は、ウエーハの外周から面取り部が完全に除去されずに僅かに残存して、後工程において、この残存部が脱落して汚染源になったり、ウエーハを個々のデバイスチップに分割する際に、デバイスチップの欠けの原因になったりする等の問題が解消されるウエーハの加工方法を提供することにある。
【課題を解決するための手段】
【0009】
上記主たる技術課題を解決するため、本発明によれば、複数のデバイスが分割予定ラインによって区画されたデバイス領域を含む有効領域と、該有効領域を囲繞する面取り部が形成された外周余剰領域が形成されたウエーハの加工方法であって、ウエーハを保持するチャックテーブルと、該チャックテーブルに保持されたウエーハの面取り部を切削する切削ブレードを回転可能に備えた切削手段と、面取り部が除去された面を研磨する研磨ブレードを回転可能に備えた研磨手段と、を含む加工装置を準備する準備工程と、ウエーハを該チャックテーブルに保持するウエーハ保持工程と、該チャックテーブルに保持されたウエーハの外周余剰領域に該切削ブレードを位置付けて該切削ブレードを回転しながら該チャックテーブルを回転して面取り部を除去する面取り部除去工程と、該チャックテーブルに保持され面取り部が除去されたウエーハの外周に該研磨ブレードを位置付けて該研磨ブレードを回転しながら該チャックテーブルを回転して面取り部が除去された切削面を研磨して鏡面に加工する鏡面加工工程と、を含み構成されるウエーハの加工方法が提供される。
【0010】
該鏡面加工工程において、水又はスラリーを供給して切削面を研磨することが好ましい。また、ウエーハは、第一のウエーハの有効領域が形成された表面が第二のウエーハに接合された接合ウエーハであり、該ウエーハ保持工程において、第二のウエーハ側が該チャックテーブルに保持され、該チャックテーブルに保持されたウエーハの第一のウエーハの裏面に対して、該面取り部除去工程と、該鏡面加工工程が実施されることが好ましい。
【発明の効果】
(【0011】以降は省略されています)
この特許をJ-PlatPat(特許庁公式サイト)で参照する
関連特許
株式会社ディスコ
焼成炉
23日前
株式会社ディスコ
切削装置
1か月前
株式会社ディスコ
処理装置
23日前
株式会社ディスコ
研削装置
23日前
株式会社ディスコ
加工装置
25日前
株式会社ディスコ
加工方法
1か月前
株式会社ディスコ
切削装置
18日前
株式会社ディスコ
加工装置
1か月前
株式会社ディスコ
加工装置
12日前
株式会社ディスコ
加工装置
1か月前
株式会社ディスコ
加工装置
1か月前
株式会社ディスコ
加工装置
17日前
株式会社ディスコ
加工装置
1か月前
株式会社ディスコ
加工装置
1か月前
株式会社ディスコ
加工装置
9日前
株式会社ディスコ
搬送システム
23日前
株式会社ディスコ
搬送システム
1か月前
株式会社ディスコ
搬送システム
1か月前
株式会社ディスコ
シート固着装置
11日前
株式会社ディスコ
加工室の洗浄方法
20日前
株式会社ディスコ
液状樹脂供給装置
1か月前
株式会社ディスコ
配線引き抜き治具
23日前
株式会社ディスコ
保護部材形成装置
1か月前
株式会社ディスコ
保護部材形成装置
1か月前
株式会社ディスコ
レーザー加工装置
11日前
株式会社ディスコ
抗折強度測定装置
23日前
株式会社ディスコ
ウエーハの加工方法
24日前
株式会社ディスコ
ウェーハの分割方法
24日前
株式会社ディスコ
ウエーハの加工装置
1か月前
株式会社ディスコ
カーフチェック方法
24日前
株式会社ディスコ
被加工物の加工方法
17日前
株式会社ディスコ
スピンドルユニット
9日前
株式会社ディスコ
加工装置及び支持柱
24日前
株式会社ディスコ
被加工物の処理装置
1か月前
株式会社ディスコ
処理装置及び検知方法
18日前
株式会社ディスコ
検出方法及び処理装置
1か月前
続きを見る
他の特許を見る