TOP
|
特許
|
意匠
|
商標
特許ウォッチ
Twitter
他の特許を見る
公開番号
2025158208
公報種別
公開特許公報(A)
公開日
2025-10-17
出願番号
2024060528
出願日
2024-04-04
発明の名称
保護部材形成装置
出願人
株式会社ディスコ
代理人
インフォート弁理士法人
主分類
H01L
21/304 20060101AFI20251009BHJP(基本的電気素子)
要約
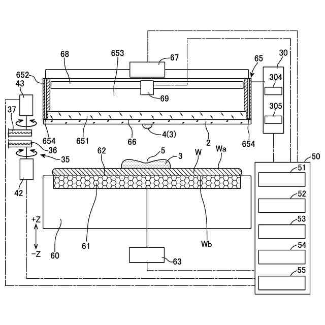
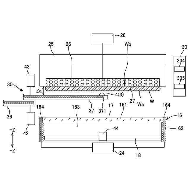
【課題】保護部材形成装置において、供給した少量の液状樹脂の付着を検知する。
【解決手段】ウェーハ(W)の一方の面(Wa)に保護部材(1)を形成する保護部材形成装置であって、液状樹脂を滴下する滴下面(17)を有する滴下テーブル(16)と、滴下テーブルに液状樹脂を滴下する滴下ノズル(36)と、滴下テーブルの滴下面の上側に対面する保持面(27)を有する保持テーブル(25)と、保持面側に少量の少量液状樹脂(4)を付着させる付着ノズル(37)と、保持テーブルを鉛直方向に移動させ液状樹脂に少量液状樹脂を一体にして拡張させる拡張機構(30)と、液状樹脂を硬化させる硬化ユニット(18)と、少量液状樹脂を検知する検知部(53)と、を備える。
【選択図】図3
特許請求の範囲
【請求項1】
ウェーハの一方の面全面に液状樹脂を拡張させたのち硬化させて樹脂による保護部材を形成する保護部材形成装置であって、
液状樹脂を滴下する滴下面を有する滴下テーブルと、
該滴下テーブルに該液状樹脂を滴下する滴下ノズルと、
該滴下テーブルの該滴下面の上側に対面する保持面を有する保持テーブルと、
該保持面側に少量の少量液状樹脂を付着させる付着ノズルと、
該保持テーブルを鉛直方向に移動させ該液状樹脂に該少量液状樹脂を一体にして拡張させる拡張機構と、
該液状樹脂を硬化させる硬化ユニットと、
該少量液状樹脂を検知する検知部と、を備える保護部材形成装置。
続きを表示(約 380 文字)
【請求項2】
該滴下テーブルは、ガラス板で構成され、
該滴下テーブルの該滴下面の下方に配置し、該保持面を撮像する第1カメラを備え、
該検知部は、該第1カメラの撮像画によって検知する、請求項1記載の保護部材形成装置。
【請求項3】
該保持テーブルは、ガラス板で構成され、
該保持テーブルの該保持面の上方に配置し、該保持面を撮像する第2カメラを備え、
該検知部は、該第2カメラの撮像画によって検知する、請求項1記載の保護部材形成装置。
【請求項4】
該付着ノズルと該保持テーブルとの距離を検知する距離検知部と、
該検知部が該保持面に該少量液状樹脂の付着を検知したときに該距離検知部が検知した距離を用いて、該少量液状樹脂の粘度を認識する粘度認識部と、を備える請求項3記載の保護部材形成装置。
発明の詳細な説明
【技術分野】
【0001】
本発明は、ウェーハに保護部材を形成する保護部材形成装置に関する。
続きを表示(約 1,700 文字)
【背景技術】
【0002】
ウェーハの製造では、インゴットをスライスしてスライスウェーハを形成し、スライスウェーハの両面を研削加工してうねりや反りを除去している。スライスウェーハを研削する際に一方の面に保護部材を形成し、保護部材の側を研削装置のチャックテーブルに保持させてスライスウェーハの他方の面を研削する。続いて、スライスウェーハの一方の面を研削する。これにより、両面のうねりや反りが除去されたウェーハを得ることができる。
【0003】
特許文献1や特許文献2に開示のように、ウェーハの一方の面に保護部材を形成する保護部材形成装置は、ウェーハの一方の面の全面に液状樹脂を拡張させてから液状樹脂を硬化させて、硬化した樹脂によって保護部材を形成している。保護部材形成装置は、滴下面を有する滴下テーブルと、滴下面の上側に対面する保持面を有する保持テーブルとを備えており、ウェーハは、保持テーブルの保持面または滴下テーブルの滴下面に保持される。液状樹脂は、滴下テーブルの滴下面に向けて滴下して供給される。そして、保持テーブルと滴下テーブルとを相対的に移動させて接近させると、滴下面と保持面との間隔が狭くなり、液状樹脂が押し広げられてウェーハの一方の面を覆う状態になる。
【0004】
滴下テーブルの滴下面に滴下された液状樹脂には、中央に凹みができる場合がある。液状樹脂の中央に凹みがある状態でウェーハの一方の面に拡張させると、凹みに対応する箇所に気泡が生じてしまう。気泡を含んだ状態で液状樹脂を硬化させて保護部材を形成すると、保護部材の厚みが不均一になってしまう。
【0005】
このような不具合を防ぐために、特許文献1や特許文献2に開示される保護部材形成装置では、保持テーブルの保持面(保持面にウェーハが保持されている場合はウェーハ)に、少量の液状樹脂を付着させている。保持面側に付着した少量の液状樹脂が、滴下面側の液状樹脂の凹みを埋めることにより、気泡の発生を防ぐことができる。
【先行技術文献】
【特許文献】
【0006】
特開2016-167546号公報
特開2017-168616号公報
【発明の概要】
【発明が解決しようとする課題】
【0007】
しかし、保持テーブルの保持面側に少量の液状樹脂が付着されない場合があった。少量の液状樹脂の付着の成否は、液状樹脂の粘度や周囲の環境(温度、湿度など)の影響を受けて変化するため、同じ条件で付着させる動作を行わせても、少量の液状樹脂が付着する場合と付着しない場合がある。また、少量の液状樹脂を供給するための供給機構に何らかの動作エラーが発生することもある。そのため、少量の液状樹脂を確実に付着させた状態で保護部材を形成するための対策が求められていた。
【0008】
したがって、保護部材形成装置は、供給した少量の液状樹脂の付着を検知するという解決すべき課題がある。
【課題を解決するための手段】
【0009】
本発明の一態様は、ウェーハの一方の面全面に液状樹脂を拡張させたのち硬化させて樹脂による保護部材を形成する保護部材形成装置であって、液状樹脂を滴下する滴下面を有する滴下テーブルと、該滴下テーブルに該液状樹脂を滴下する滴下ノズルと、該滴下テーブルの該滴下面の上側に対面する保持面を有する保持テーブルと、該保持面側に少量の少量液状樹脂を付着させる付着ノズルと、該保持テーブルを鉛直方向に移動させ該液状樹脂に該少量液状樹脂を一体にして拡張させる拡張機構と、該液状樹脂を硬化させる硬化ユニットと、該少量液状樹脂を検知する検知部と、を備える。
【0010】
一つの形態として、該滴下テーブルは、ガラス板で構成され、該滴下テーブルの該滴下面の下方に配置し、該保持面を撮像する第1カメラを備え、該検知部は、該第1カメラの撮像画によって検知する。
(【0011】以降は省略されています)
この特許をJ-PlatPat(特許庁公式サイト)で参照する
関連特許
株式会社ディスコ
加工方法
3日前
株式会社ディスコ
加工装置
5日前
株式会社ディスコ
研磨装置
18日前
株式会社ディスコ
研削装置
17日前
株式会社ディスコ
加工方法
13日前
株式会社ディスコ
加工装置
11日前
株式会社ディスコ
加工装置
11日前
株式会社ディスコ
切削装置
6日前
株式会社ディスコ
加工装置
6日前
株式会社ディスコ
診断方法
21日前
株式会社ディスコ
加工装置
5日前
株式会社ディスコ
搬送システム
4日前
株式会社ディスコ
搬送システム
17日前
株式会社ディスコ
搬送システム
3日前
株式会社ディスコ
ノズルユニット
21日前
株式会社ディスコ
保護部材形成装置
3日前
株式会社ディスコ
ブレーキング装置
17日前
株式会社ディスコ
保護部材形成装置
5日前
株式会社ディスコ
液状樹脂供給装置
4日前
株式会社ディスコ
被加工物の処理装置
5日前
株式会社ディスコ
ウエーハの加工装置
3日前
株式会社ディスコ
洗浄装置及び洗浄方法
18日前
株式会社ディスコ
検出方法及び処理装置
10日前
株式会社ディスコ
搬出装置及び切削装置
10日前
株式会社ディスコ
搬送機構および搬送方法
18日前
株式会社ディスコ
伸縮防水カバー、処理装置
6日前
株式会社ディスコ
チャックテーブルの整形方法
12日前
株式会社ディスコ
試験装置、試験片の試験方法
21日前
株式会社ディスコ
窒化ガリウム基板の製造方法
13日前
株式会社ディスコ
保護シート、及びシート配設方法
17日前
株式会社ディスコ
板状ワークの研削方法及び研削装置
13日前
株式会社ディスコ
保護層の形成方法及び被加工物の加工方法
3日前
株式会社ディスコ
保護層の形成方法及び被加工物の加工方法
3日前
株式会社ディスコ
保護部材形成装置、及び保護部材の形成方法
6日前
株式会社ディスコ
ウエーハの処理方法及びウエーハの処理装置
19日前
株式会社ディスコ
搬送方法、搬送装置、加工方法、及び、加工装置
4日前
続きを見る
他の特許を見る