TOP
|
特許
|
意匠
|
商標
特許ウォッチ
Twitter
他の特許を見る
10個以上の画像は省略されています。
公開番号
2025173003
公報種別
公開特許公報(A)
公開日
2025-11-27
出願番号
2024078302
出願日
2024-05-14
発明の名称
チャックテーブル、処理装置、及び、対象物ウェーハの加工方法
出願人
株式会社ディスコ
代理人
個人
主分類
H01L
21/683 20060101AFI20251119BHJP(基本的電気素子)
要約
【課題】 段差を有するウェーハを加工する際に、加工不良を低減することが可能な保持テーブルを提供する。
【解決手段】交差する複数の分割予定ラインで区画された複数の領域に凸部を有するデバイスが形成されたデバイス領域と、該デバイス領域を囲む外周余剰領域と、を表面に備えた対象物の表面を保持するチャックテーブルであって、該凸部と対向して該デバイス領域を保持する保持面と、該保持面を囲繞し、該保持面より突出して該対象物の該外周余剰領域を支持する外周余剰領域支持部と、を備え、該外周余剰領域支持部は、該凸部の高さに対応して弾性変形可能な弾性部材と、該弾性部材と該対象物の外周余剰領域との間に配設される非弾性部材と、を含むことを特徴とする、チャックテーブルとする。
【選択図】図5
特許請求の範囲
【請求項1】
交差する複数の分割予定ラインで区画された複数の領域に凸部を有するデバイスが形成されたデバイス領域と、
該デバイス領域を囲む外周余剰領域と、を表面に備えた対象物の表面を保持するチャックテーブルであって、
該凸部と対向して該デバイス領域を保持する保持面と、
該保持面を囲繞し、該保持面より突出して該対象物の該外周余剰領域を支持する外周余剰領域支持部と、を備え、
該外周余剰領域支持部は、
該凸部の高さに対応して弾性変形可能な弾性部材と、
該弾性部材と該対象物の外周余剰領域との間に配設される非弾性部材と、
を含むことを特徴とする、チャックテーブル。
続きを表示(約 880 文字)
【請求項2】
該非弾性部材は、SUS、アルミ、又は、ガラス、のいずれか一つ、又は、複数の組み合わせであることを特徴とする、請求項1に記載のチャックテーブル
【請求項3】
請求項1又は請求項2に記載のチャックテーブルと、
該チャックテーブルに保持された該対象物を処理する処理ユニットと、
制御ユニットと、を備える処理装置であって、
該制御ユニットは、
吸引源から該チャックテーブルに対して作用する負圧値を変化させることで、該弾性部材の収縮量を制御可能であることを特徴とする、処理装置。
【請求項4】
該処理ユニットは、
該対象物に対してレーザービームを集光して照射することで加工を施すレーザービーム照射ユニットである、ことを特徴とする請求項3に記載の処理装置
【請求項5】
交差する複数の分割予定ラインで区画された複数の領域に凸部を有するデバイスが形成されたデバイス領域と、
該デバイス領域を囲む外周余剰領域と、を表面に備えた対象物を加工する対象物の加工方法であって、
請求項1又は請求項2に記載のチャックテーブルに該対象物の該表面側を対面させて載置し、
該チャックテーブルに対して吸引源から負圧を作用させて該対象物を保持する保持ステップと、
該保持ステップの後、該対象物の裏面側から該対象物に所定の処理を施す処理ステップと、を備える、対象物の加工方法。
【請求項6】
吸引源から該チャックテーブルに作用させる負圧値と、該負圧値における該弾性部材の収縮量と、の相関関係を予め取得しておく相関関係取得ステップを更に備え、
該保持ステップでは、
該取得ステップで取得された相関関係と、対象物に形成された該凸部の高さと、に応じて、
該対象物の裏面側がチャックテーブルの該保持面と略平坦になるように、該吸引源から該チャックテーブルに作用する負圧値を決定する、ことを特徴とする請求項5に記載の対象物の加工方法。
発明の詳細な説明
【技術分野】
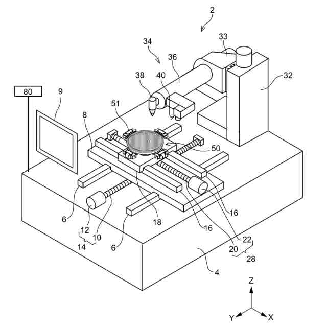
【0001】
本発明は、チャックテーブルおよび被加工物の加工方法に関する。
続きを表示(約 1,000 文字)
【背景技術】
【0002】
半導体デバイスの製造工程において、デバイス表面にバンプと呼ばれる金属突起物を複数形成し、このバンプを配線基板に形成された電極に対して接合するフリップチップボンディングと呼ばれる実装技術が近年実用化されている。
【0003】
通常、デバイスはウェーハの中央領域に形成され、外周領域には形成されないため、こうしたバンプ付きウェーハにおいては、バンプが形成されたデバイス領域と、このデバイス領域を囲むように設けられ、バンプが形成されていない外周余剰領域と、の間に段差が生じることになる。
【0004】
このように段差が存在するウェーハを加工する際、ウェーハの表面をチャックテーブルで吸引保持すると、負圧のリークが発生してしまい、吸引保持できないという課題があった。
【0005】
そこで、チャックテーブルの外周部に保持面より突出した弾性部材を配設することでリークを防止してウェーハを吸引保持する方法が考案されている(例えば、特許文献1参照)。
【先行技術文献】
【特許文献】
【0006】
特開2017-50461号公報
【発明の概要】
【発明が解決しようとする課題】
【0007】
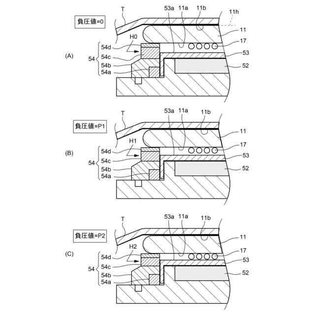
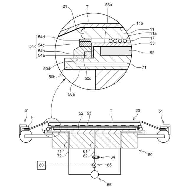
しかしながら、特許文献1に開示されるように、ウェーハの外周余剰領域を弾性部材で保持する構成では、外周余剰領域は弾性部材でしか支持されないため、デバイス領域に対して外周余剰領域が垂れ下がった状態となるという新たな問題が明らかになってきた。
【0008】
そして、例えば、この状態でウェーハ裏面側からレーザービームを照射してウェーハの内部に改質層を形成する場合では、外周余剰領域とデバイス領域とでレーザービームの集光位置が変わってしまい、所望の位置に改質層を形成できず分割不良を招く恐れがある。
【0009】
本願発明は上記事実に鑑みてなされたものであり、段差を有するウェーハを加工する際に、加工不良を低減することが可能な保持テーブルを提供することを目的とする。
【課題を解決するための手段】
【0010】
本発明の解決しようとする課題は以上の如くであり、次にこの課題を解決するための手段を説明する。
(【0011】以降は省略されています)
この特許をJ-PlatPat(特許庁公式サイト)で参照する
関連特許
株式会社ディスコ
焼成炉
1か月前
株式会社ディスコ
加工装置
1か月前
株式会社ディスコ
研削装置
1か月前
株式会社ディスコ
処理装置
1か月前
株式会社ディスコ
処理装置
今日
株式会社ディスコ
加工装置
21日前
株式会社ディスコ
加工装置
24日前
株式会社ディスコ
加工装置
1か月前
株式会社ディスコ
加工装置
29日前
株式会社ディスコ
加工方法
1か月前
株式会社ディスコ
加工装置
8日前
株式会社ディスコ
掃除器具
8日前
株式会社ディスコ
掃除器具
8日前
株式会社ディスコ
切削装置
2日前
株式会社ディスコ
加工装置
9日前
株式会社ディスコ
加工装置
1日前
株式会社ディスコ
研削装置
1日前
株式会社ディスコ
切削装置
1か月前
株式会社ディスコ
切削装置
今日
株式会社ディスコ
切削装置
1か月前
株式会社ディスコ
加工装置
1か月前
株式会社ディスコ
加工装置
1か月前
株式会社ディスコ
処理方法
8日前
株式会社ディスコ
搬送システム
8日前
株式会社ディスコ
搬送システム
1日前
株式会社ディスコ
搬送システム
8日前
株式会社ディスコ
搬送システム
8日前
株式会社ディスコ
搬送システム
1か月前
株式会社ディスコ
搬送システム
1か月前
株式会社ディスコ
搬送システム
1か月前
株式会社ディスコ
搬送システム
今日
株式会社ディスコ
シート固着装置
23日前
株式会社ディスコ
液状樹脂供給装置
1か月前
株式会社ディスコ
抗折強度測定装置
1か月前
株式会社ディスコ
カセットステージ
1日前
株式会社ディスコ
レーザー加工装置
23日前
続きを見る
他の特許を見る