TOP
|
特許
|
意匠
|
商標
特許ウォッチ
Twitter
他の特許を見る
10個以上の画像は省略されています。
公開番号
2025173013
公報種別
公開特許公報(A)
公開日
2025-11-27
出願番号
2024078316
出願日
2024-05-14
発明の名称
加工装置
出願人
株式会社ディスコ
代理人
インフォート弁理士法人
主分類
H01L
21/304 20060101AFI20251119BHJP(基本的電気素子)
要約
【課題】加工装置において、加工時間を長くすることなくウェーハの一方の面を洗浄し、ウェーハの一方の面とチャックテーブルの保持面との間にゴミを介入させないようにする。
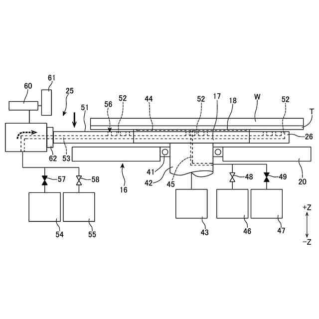
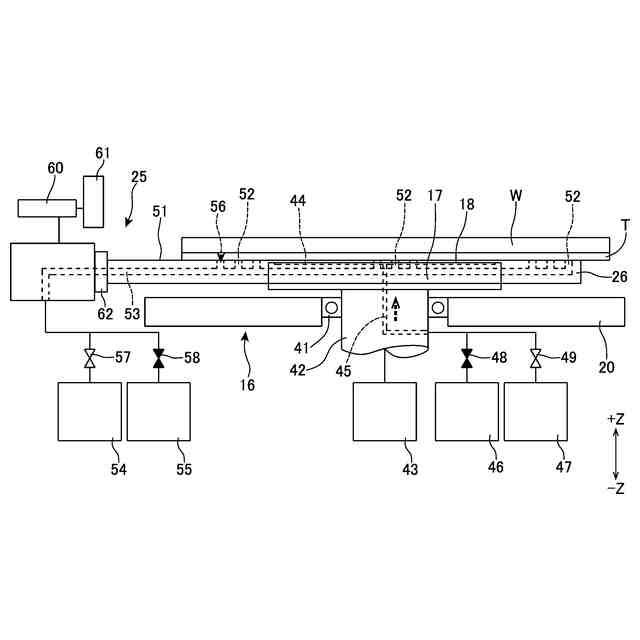
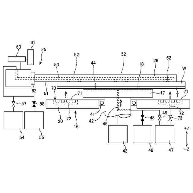
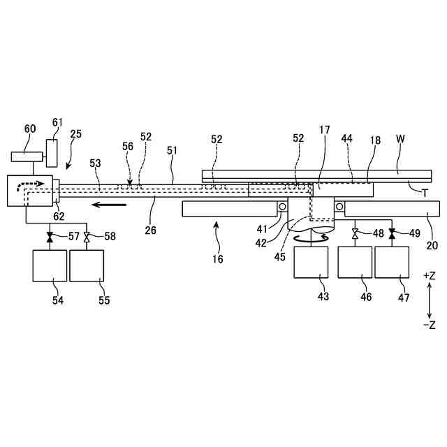
【解決手段】加工装置(10)の位置決めユニット(16)は、吸引口(44)が配置された吸引面(18)によってウェーハ(W)を吸引保持するポジショニングテーブル(17)と、ポジショニングテーブルに保持されたウェーハの中心を囲むように配置した複数の噴射口(52)からエアを噴射するエア噴射部(56)と、ポジショニングテーブルを支持するベース(20)と、を備え、制御部(11)は、ロボット(25)によって保持されポジショニングテーブルの上方に待機した状態のウェーハの下面に向かって吸引口からエアを噴射させ、吸引口を吸引源(46)に連通させ吸引面によってウェーハを吸引保持させ、エア噴射部からエアを噴射して、ウェーハの一方の面を洗浄する。
【選択図】図5
特許請求の範囲
【請求項1】
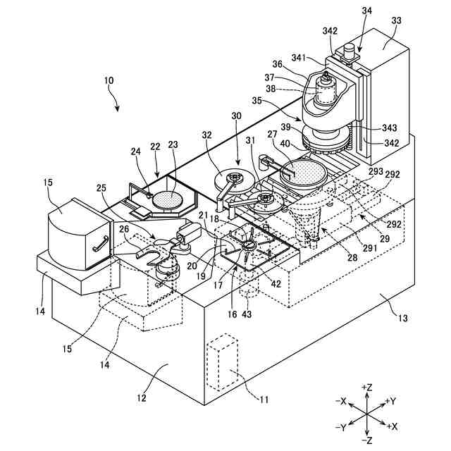
ウェーハを保持するチャックテーブルと、該チャックテーブルに保持されたウェーハを加工する加工ユニットと、ウェーハを該チャックテーブルに搬送する搬送機構と、該搬送機構によって該チャックテーブルの所定の位置にウェーハが搬送されるようにウェーハを位置決めする位置決めユニットと、ウェーハを収容したカセットを載置するカセットステージと、該カセットステージに載置した該カセットに収容されたウェーハを保持して該位置決めユニットに搬送するロボットと、を備える加工装置であって、
該位置決めユニットは、吸引源に連通する吸引口が配置された吸引面によってウェーハを吸引保持するポジショニングテーブルと、該ポジショニングテーブルに保持されたウェーハの中心を囲むように複数の噴射口を配置し該噴射口からエアを噴射するエア噴射部と、該ポジショニングテーブルを支持するベースと、を備え、
制御部は、該ロボットによって保持され該ポジショニングテーブルの上方に待機した状態のウェーハの下面に向かって該吸引口からエアを噴射させ、該吸引口を吸引源に連通させ該吸引面によってウェーハを吸引保持させ、該エア噴射部からエアを噴射して該ウェーハの一方の面を洗浄する、加工装置。
続きを表示(約 430 文字)
【請求項2】
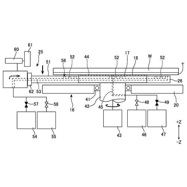
該位置決めユニットは、該ポジショニングテーブルを回転可能に支持する回転支持部と、該回転支持部を配置する該ベースと、該ポジショニングテーブルを回転させる回転駆動部と、を備え、
該制御部は、該吸引面によってウェーハを吸引保持した該ポジショニングテーブルを回転させつつ、該エア噴射部からエアを噴射する、請求項1記載の加工装置。
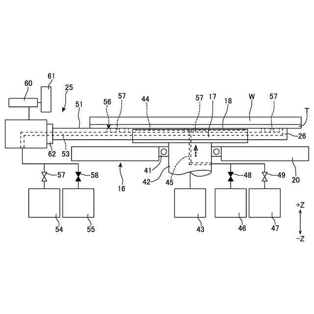
【請求項3】
該ロボットは、該ポジショニングテーブルに吸引保持されたウェーハの下方に進入可能なロボットハンドを有し、該ロボットハンドは、エアを噴射する該エア噴射部を備える、請求項1または2記載の加工装置。
【請求項4】
該制御部は、該エア噴射部からエアを噴射させている該ロボットハンドを、該吸引面に平行に移動させ、該ポジショニングテーブルから離れる、請求項3記載の加工装置。
【請求項5】
該ベースに該エア噴射部を備える、請求項1または2記載の加工装置。
発明の詳細な説明
【技術分野】
【0001】
本発明は、被加工物を加工する加工装置に関する。
続きを表示(約 1,700 文字)
【背景技術】
【0002】
特許文献1に開示のように、研削装置は、チャックテーブルに保持されたウェーハを研削砥石で研削している。ウェーハをチャックテーブルに搬送する搬送機構を備え、複数枚のウェーハを収容したカセットからウェーハを一枚ずつ取り出してチャックテーブルに搬送して研削する自動研削装置においては、カセットから取り出したウェーハの位置決めと仮置きを行う仮置きテーブルを備えている。そして、仮置きテーブルに仮置きされたウェーハを、搬送機構によってチャックテーブルに搬送している。
【0003】
仮置きテーブルからチャックテーブルへウェーハを搬送する際に、特許文献2に開示のように、ウェーハの下面に水を供給してウェーハの下面を洗浄している。ウェーハの下面を洗浄してからチャックテーブルに搬送することによって、ウェーハの下面とチャックテーブルの保持面との間にゴミが入ることを防いでいる。
【先行技術文献】
【特許文献】
【0004】
特開2011-018802号公報
特開2022-035139号公報
【発明の概要】
【発明が解決しようとする課題】
【0005】
仮置きテーブルからチャックテーブルへウェーハを搬送する際にウェーハの下面を洗浄することは、チャックテーブルにウェーハを保持させる時間の足かせになっており、加工時間を長くしているという問題がある。また、研削装置以外にも、研磨装置、切削装置など、仮置きテーブルを備える加工装置において、同様の問題が発生している。
【0006】
したがって、加工装置は、加工時間を長くすることなくウェーハの一方の面を洗浄し、ウェーハの一方の面とチャックテーブルの保持面との間にゴミを介入させない、という解決すべき課題がある。
【課題を解決するための手段】
【0007】
本発明の一態様は、ウェーハを保持するチャックテーブルと、該チャックテーブルに保持されたウェーハを加工する加工ユニットと、ウェーハを該チャックテーブルに搬送する搬送機構と、該搬送機構によって該チャックテーブルの所定の位置にウェーハが搬送されるようにウェーハを位置決めする位置決めユニットと、ウェーハを収容したカセットを載置するカセットステージと、該カセットステージに載置した該カセットに収容されたウェーハを保持して該位置決めユニットに搬送するロボットと、を備える加工装置であって、該位置決めユニットは、吸引源に連通する吸引口が配置された吸引面によってウェーハを吸引保持するポジショニングテーブルと、該ポジショニングテーブルに保持されたウェーハの中心を囲むように複数の噴射口を配置し該噴射口からエアを噴射するエア噴射部と、該ポジショニングテーブルを支持するベースと、を備え、制御部は、該ロボットによって保持され該ポジショニングテーブルの上方に待機した状態のウェーハの下面に向かって該吸引口からエアを噴射させ、該吸引口を吸引源に連通させ該吸引面によってウェーハを吸引保持させ、該エア噴射部からエアを噴射して該ウェーハの一方の面を洗浄する。
【0008】
該位置決めユニットは、該ポジショニングテーブルを回転可能に支持する回転支持部と、該回転支持部を配置する該ベースと、該ポジショニングテーブルを回転させる回転駆動部と、を備え、該制御部は、該吸引面によってウェーハを吸引保持した該ポジショニングテーブルを回転させつつ、該エア噴射部からエアを噴射させてもよい。
【0009】
エア噴射部の構成の一形態として、該ロボットは、該ポジショニングテーブルに吸引保持されたウェーハの下方に進入可能なロボットハンドを有し、該ロボットハンドは、エアを噴射する該エア噴射部を備える。
【0010】
該制御部は、該エア噴射部からエアを噴射させている該ロボットハンドを、該吸引面に平行に移動させ、該ポジショニングテーブルから離れさせてもよい。
(【0011】以降は省略されています)
この特許をJ-PlatPat(特許庁公式サイト)で参照する
関連特許
株式会社ディスコ
加工装置
9日前
株式会社ディスコ
研削装置
1日前
株式会社ディスコ
加工装置
1日前
株式会社ディスコ
加工装置
8日前
株式会社ディスコ
切削装置
2日前
株式会社ディスコ
掃除器具
8日前
株式会社ディスコ
掃除器具
8日前
株式会社ディスコ
処理方法
8日前
株式会社ディスコ
搬送システム
8日前
株式会社ディスコ
搬送システム
1日前
株式会社ディスコ
搬送システム
8日前
株式会社ディスコ
搬送システム
8日前
株式会社ディスコ
カセットステージ
1日前
株式会社ディスコ
洗浄装置及び洗浄方法
16日前
株式会社ディスコ
試験装置、及び、試験方法
1日前
株式会社ディスコ
ウェーハ及びウェーハの製造方法
1日前
株式会社ディスコ
レーザ加工装置およびレーザ加工方法
2日前
株式会社ディスコ
ブレード直径算出方法、及び、加工装置
14日前
株式会社ディスコ
加工装置および加工装置の加工屑除去方法
2日前
株式会社ディスコ
マウントフランジの修正方法及び切削装置
1日前
株式会社ディスコ
加工装置、及び、加工装置の異常判定方法。
1日前
株式会社ディスコ
加工装置、及び、加工装置の異常判定方法。
1日前
株式会社ディスコ
研削ホイール装着治具及び研削ホイール装着治具の使用方法
14日前
株式会社ディスコ
チャックテーブル、処理装置、及び、対象物ウェーハの加工方法
1日前
東ソー株式会社
絶縁電線
1か月前
APB株式会社
蓄電セル
1か月前
マクセル株式会社
電源装置
29日前
ローム株式会社
半導体装置
1か月前
株式会社東芝
端子台
29日前
日新イオン機器株式会社
イオン源
1か月前
太陽誘電株式会社
コイル部品
1か月前
株式会社ホロン
冷陰極電子源
1か月前
三菱電機株式会社
回路遮断器
16日前
株式会社GSユアサ
蓄電装置
1か月前
株式会社GSユアサ
蓄電装置
1か月前
株式会社GSユアサ
蓄電装置
22日前
続きを見る
他の特許を見る