TOP
|
特許
|
意匠
|
商標
特許ウォッチ
Twitter
他の特許を見る
公開番号
2025173005
公報種別
公開特許公報(A)
公開日
2025-11-27
出願番号
2024078304
出願日
2024-05-14
発明の名称
試験装置、及び、試験方法
出願人
株式会社ディスコ
代理人
個人
主分類
G01N
3/20 20060101AFI20251119BHJP(測定;試験)
要約
【課題】 圧子により試験片を押圧して破壊する試験装置や試験方法について、新規な技術を提案する。
【解決手段】 試験片を支持する支持台と、該支持台で支持された試験片の上面を押圧する圧子と、該圧子が試験片を押圧する際に該圧子にかかる荷重を計測する荷重計測ユニットと、該支持台で支持された試験片に対して該圧子を近接移動させる移動ユニットと、少なくとも該移動ユニットを制御するコントローラと、気体を噴射する噴射ユニットと、を備える試験装置であって、該噴射ユニットは、該圧子の先端が該支持台の上面から間隔を有した状態で、該圧子の先端と該支持台の上面に対して水平方向に該気体を噴射する、試験装置とする。
【選択図】図6
特許請求の範囲
【請求項1】
試験片を支持する支持台と、
該支持台で支持された試験片の上面を押圧する圧子と、
該圧子が試験片を押圧する際に該圧子にかかる荷重を計測する荷重計測ユニットと、
該支持台で支持された試験片に対して該圧子を近接移動させる移動ユニットと、
少なくとも該移動ユニットを制御するコントローラと、
気体を噴射する噴射ユニットと、を備える試験装置であって、
該噴射ユニットは、該圧子の先端が該支持台の上面から間隔を有した状態で、該圧子の先端と該支持台の上面に対して水平方向に該気体を噴射する、試験装置。
続きを表示(約 480 文字)
【請求項2】
該支持台を囲繞し上端が該支持台の上面よりも高い壁部を更に備え、
該圧子の先端が該壁部で囲繞される高さに位置付けられた状態で該噴射ユニットが該気体を噴射する、ことを特徴とする請求項1に記載の試験装置。
【請求項3】
該壁部の外に配設され該支持台で支持された試験片を撮像する撮像ユニットを更に備え、
該壁部は該撮像ユニットに対面した少なくとも一部に透明部を有し、
該噴射ユニットは該透明部に沿う向きで該気体を噴射する、ことを特徴とする請求項2に記載の試験装置。
【請求項4】
支持台で試験片を支持する支持ステップと、
該支持台で支持された該試験片の上面を圧子で押圧する押圧ステップと、
該圧子が該試験片を押圧して該試験片が破壊された際に該圧子にかかる荷重を計測する荷重計測ステップと、
該圧子の先端が該支持台の上面から間隔を有した高さに該圧子を位置付けた状態で、該圧子の先端と該支持台の上面に対して水平方向に該気体を噴射する気体噴射ステップと、を備えた試験方法。
発明の詳細な説明
【技術分野】
【0001】
本発明は、半導体チップなどの試験片の強度を測定するための試験装置に関するものである。
続きを表示(約 1,100 文字)
【背景技術】
【0002】
従来、例えば特許文献1に開示されるように、支持台で支持する半導体チップを圧子で押圧し、破壊された際の荷重を計測することで、半導体チップの強度を測定する試験装置が知られている。
【0003】
半導体チップを破壊することで生じた半導体チップの破片や屑が、圧子の先端や支持台に付着した状態で別の半導体チップの破壊試験を行うと、荷重が正確に計測できないおそれがある。そこで、特許文献1では、圧子に気体を噴射して圧子に付着する破片や屑を除去することについて開示をしている。
【先行技術文献】
【特許文献】
【0004】
特開2020-94832号公報
【発明の概要】
【発明が解決しようとする課題】
【0005】
しかし、気体を噴射することで支持台や圧子に付着していた屑が舞い上がり、舞上がった屑が再度圧子や支持台に付着するおそれもあり、改善が切望されていた。
【0006】
以上に鑑み、本願発明は、圧子により試験片を押圧して破壊する試験装置や試験方法について、新規な技術を提案するものである。
【課題を解決するための手段】
【0007】
本発明の解決しようとする課題は以上の如くであり、次にこの課題を解決するための手段を説明する。
【0008】
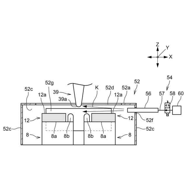
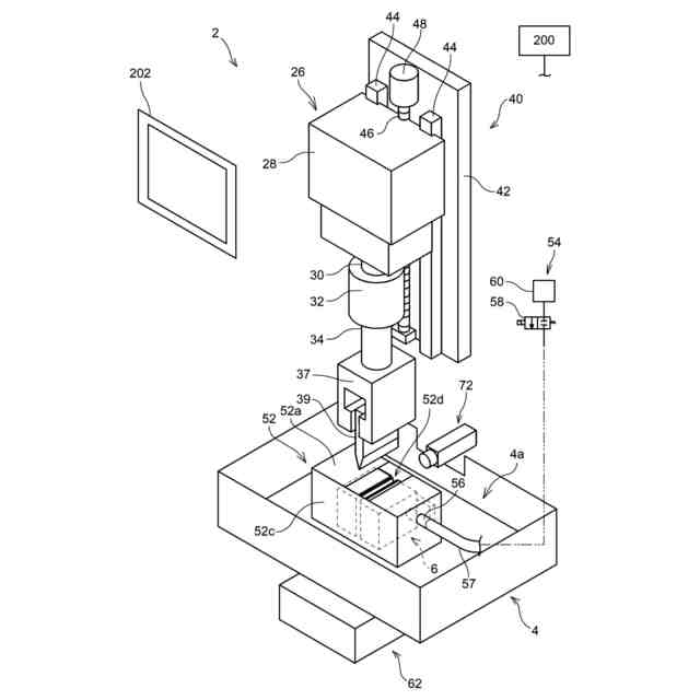
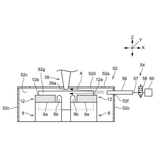
本発明の一態様によれば、試験片を支持する支持台と、該支持台で支持された試験片の上面を押圧する圧子と、該圧子が試験片を押圧する際に該圧子にかかる荷重を計測する荷重計測ユニットと、該支持台で支持された試験片に対して該圧子を近接移動させる移動ユニットと、少なくとも該移動ユニットを制御するコントローラと、気体を噴射する噴射ユニットと、を備える試験装置であって、該噴射ユニットは、該圧子の先端が該支持台の上面から間隔を有した状態で、該圧子の先端と該支持台の上面に対して水平方向に該気体を噴射する、試験装置とする。
【0009】
また、本発明の一態様によれば、該支持台を囲繞し上端が該支持台の上面よりも高い壁部を更に備え、該圧子の先端が該壁部で囲繞される高さに位置付けられた状態で該噴射ユニットが該気体を噴射する、こととする。
【0010】
また、本発明の一態様によれば、該壁部の外に配設され該支持台で支持された試験片を撮像する撮像ユニットを更に備え、該壁部は該撮像ユニットに対面した少なくとも一部に透明部を有し、該噴射ユニットは該透明部に沿う向きで該気体を噴射する、こととする。
(【0011】以降は省略されています)
この特許をJ-PlatPat(特許庁公式サイト)で参照する
関連特許
株式会社ディスコ
処理方法
8日前
株式会社ディスコ
切削装置
1か月前
株式会社ディスコ
加工装置
8日前
株式会社ディスコ
掃除器具
8日前
株式会社ディスコ
掃除器具
8日前
株式会社ディスコ
加工装置
24日前
株式会社ディスコ
加工装置
29日前
株式会社ディスコ
切削装置
2日前
株式会社ディスコ
加工装置
21日前
株式会社ディスコ
加工装置
1日前
株式会社ディスコ
研削装置
1日前
株式会社ディスコ
加工装置
9日前
株式会社ディスコ
搬送システム
8日前
株式会社ディスコ
搬送システム
8日前
株式会社ディスコ
搬送システム
8日前
株式会社ディスコ
搬送システム
1日前
株式会社ディスコ
シート固着装置
23日前
株式会社ディスコ
加工室の洗浄方法
1か月前
株式会社ディスコ
レーザー加工装置
23日前
株式会社ディスコ
カセットステージ
1日前
株式会社ディスコ
配線引き抜き治具
1か月前
株式会社ディスコ
スピンドルユニット
21日前
株式会社ディスコ
被加工物の加工方法
29日前
株式会社ディスコ
洗浄装置及び洗浄方法
16日前
株式会社ディスコ
シリアル接続システム
21日前
株式会社ディスコ
キャリア板の除去方法
23日前
株式会社ディスコ
処理装置及び検知方法
1か月前
株式会社ディスコ
研削装置および研削方法
1か月前
株式会社ディスコ
加工方法、及び研磨装置
23日前
株式会社ディスコ
試験装置、及び、試験方法
1日前
株式会社ディスコ
走査光学系及び光学処理装置
29日前
株式会社ディスコ
貼り合わせウェーハの加工方法
1か月前
株式会社ディスコ
フィルターハウジングホルダー
21日前
株式会社ディスコ
ウェーハの加工方法及び加工装置
29日前
株式会社ディスコ
ウェーハの加工方法及び切削装置
29日前
株式会社ディスコ
ウェーハ及びウェーハの製造方法
1日前
続きを見る
他の特許を見る