TOP
|
特許
|
意匠
|
商標
特許ウォッチ
Twitter
他の特許を見る
公開番号
2025164098
公報種別
公開特許公報(A)
公開日
2025-10-30
出願番号
2024067866
出願日
2024-04-19
発明の名称
ウェーハの加工方法及び加工装置
出願人
株式会社ディスコ
代理人
インフォート弁理士法人
主分類
H01L
21/304 20060101AFI20251023BHJP(基本的電気素子)
要約
【課題】ウェーハに局所的に厚みが大きい部分が生じても、ウェーハを設定した仕上げ厚み分布に容易に形成できるようにすること。
【解決手段】本発明は、ウェーハ(W)の上面に照射部(50)からプラズマ化したエッチングガスを照射してウェーハの上面をエッチングして予め設定した厚み形状にする加工方法である。ウェーハの上面全面の厚み分布を取得する厚み分布取得工程と、厚み分布取得工程で取得した該厚み分布と、予め設定した仕上げ厚み分布との差をもとに、ウェーハに対する照射部の照射位置と、照射位置におけるエッチングガスの照射量を算出する算出工程と、算出工程で算出した照射位置における照射量をウェーハの上面に照射して、ウェーハの上面をエッチングして予め設定した厚み形状にするエッチング工程とを行う。
【選択図】図1
特許請求の範囲
【請求項1】
プラズマ化したエッチングガスを照射部からウェーハの片面に照射して該ウェーハの片面をエッチングして予め設定した厚み形状にするウェーハの加工方法であって、
該ウェーハの面全面の厚み分布を取得する厚み分布取得工程と、
該厚み分布取得工程で取得した該厚み分布と、予め設定した仕上げ厚み分布との差をもとに、該ウェーハに対する該照射部の照射位置と該照射位置における該エッチングガスの照射量とを算出する算出工程と、
該算出工程で算出した該照射位置における該照射量を該ウェーハの片面に照射して、該ウェーハの片面をエッチングして該ウェーハを予め設定した厚み形状にするエッチング工程と、からなる、ウェーハの加工方法。
続きを表示(約 1,000 文字)
【請求項2】
該算出工程は、該照射位置における該照射量に加え、該ウェーハに対する該照射部の高さを算出する、請求項1記載のウェーハの加工方法。
【請求項3】
ウェーハを保持するチャックテーブルと、プラズマ化したエッチングガスを照射して該チャックテーブルに保持された該ウェーハをエッチングする照射部と、を備える加工装置であって、
該チャックテーブルと該照射部とを水平方向に相対移動させる水平移動機構と、
予め取得した該ウェーハの面全面の厚み分布と予め設定した仕上げ厚み分布との差に基づいて、該水平移動機構による該照射部の照射位置における該ウェーハのエッチング量を算出する算出部と、
該算出部が算出した該エッチング量となるよう制御する制御部と、を備える、加工装置。
【請求項4】
該算出部は、水平方向での該ウェーハに対する該照射部の照射位置と、該照射位置における該エッチングガスの照射量とを算出し、
該制御部は、該水平移動機構の移動速度を制御する、請求項3記載の加工装置。
【請求項5】
該チャックテーブルと該照射部とを相対的に鉛直方向に昇降させる昇降機構を備え、
該算出部は、該照射位置における該照射量に加え、該ウェーハに対する該照射部の高さを算出し、
該制御部は、該昇降機構を制御する、請求項3記載の加工装置。
【請求項6】
該照射部から照射する該エッチングガスの照射量を調整する流量調整部を備え、
該算出部は、水平方向での該ウェーハに対する該照射部の照射位置と、該照射位置における該エッチングガスの照射量とを算出し、
該制御部は、該流量調整部を制御する、請求項3記載の加工装置。
【請求項7】
該照射部から照射する該エッチングガスの照射量を調整する高周波電力調整部を備え、
該算出部は、水平方向での該ウェーハに対する該照射部の照射位置と、該照射位置における該エッチングガスの照射量とを算出し、
該制御部は、該高周波電力調整部を制御する、請求項3記載の加工装置。
【請求項8】
該チャックテーブルに保持された該ウェーハの厚みを測定する厚み測定器と、
該厚み測定器で測定した該ウェーハの面全面の厚み分布を取得する記憶部を備える、請求項3記載の加工装置。
【請求項9】
該照射部は、該エッチングガスを照射する照射口と、該照射口の周囲に形成した吸引口とを備える、請求項3記載の加工装置。
発明の詳細な説明
【技術分野】
【0001】
本発明は、ウェーハの厚みを均一に加工するウェーハの加工方法及び加工装置に関する。
続きを表示(約 1,700 文字)
【背景技術】
【0002】
特許文献1の研削装置では、ウェーハを保持したチャックテーブルが回転するとともに、研削ホイールに環状に配設した砥石が回転しながらウェーハに接触して、ウェーハが研削される。かかる研削装置では、研削砥石に対してチャックテーブルの傾きを調整し、研削されたウェーハが設定した均一な厚み分布になるよう研削している。
【0003】
また、特許文献2の研磨装置では、ウェーハと研磨パッドとが回転接触されることで研磨加工が実施される。かかる研磨装置では、ウェーハの径方向の厚み分布を測定し、その厚み分布を基にして、研磨パッドをドレス機構でドレスしてウェーハが設定した均一な厚み分布になるよう研磨している。
【先行技術文献】
【特許文献】
【0004】
特開2013-119123号公報
特開2015-223636号公報
【発明の概要】
【発明が解決しようとする課題】
【0005】
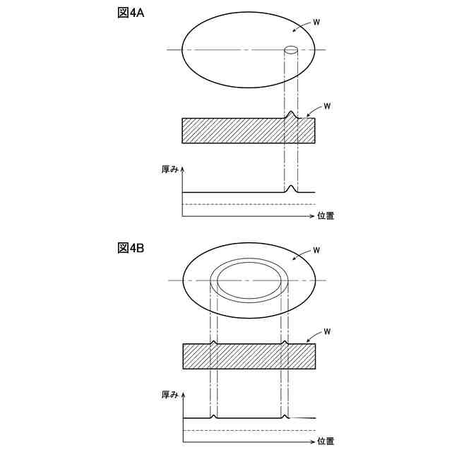
特許文献1及び2は、ウェーハを均一な厚みに加工するため研削や研磨を行っている。このため、ウェーハの周方向や径方向にて局所的に厚い部分が形成されることで不均一な厚み分布になると、厚い部分を他の部分と同じ厚みになるまで加工することが困難になる。
【0006】
更に述べると、厚い部分を設定した厚みに加工すると他の部分が設定した厚みより薄くなるよう加工が進行してしまい、また、他の部分を設定した厚みに加工すると厚い部分が設定した厚みより厚くなってしまう。そのため、ウェーハの局所的に厚い部分が生じた場合には、ウェーハにて厚み差を無くす加工ができない、という問題がある。
【0007】
本発明はかかる点に鑑みてなされたものであり、ウェーハに局所的に厚い部分が生じても、ウェーハを設定した仕上げ厚み分布に容易に形成することができるウェーハの加工方法及び加工装置を提供することを目的の一つとする。
【課題を解決するための手段】
【0008】
本発明の一態様のウェーハの加工方法は、プラズマ化したエッチングガスを照射部からウェーハの片面に照射して該ウェーハの片面をエッチングして予め設定した厚み形状にするウェーハの加工方法であって、該ウェーハの面全面の厚み分布を取得する厚み分布取得工程と、該厚み分布取得工程で取得した該厚み分布と、予め設定した仕上げ厚み分布との差をもとに、該ウェーハに対する該照射部の照射位置と該照射位置における該エッチングガスの照射量とを算出する算出工程と、該算出工程で算出した該照射位置における該照射量を該ウェーハの片面に照射して、該ウェーハの片面をエッチングして該ウェーハを予め設定した厚み形状にするエッチング工程と、からなる。
【0009】
本発明の一態様の加工装置は、ウェーハを保持するチャックテーブルと、プラズマ化したエッチングガスを照射して該チャックテーブルに保持された該ウェーハをエッチングする照射部と、を備える加工装置であって、該チャックテーブルと該照射部とを水平方向に相対移動させる水平移動機構と、予め取得した該ウェーハの面全面の厚み分布と予め設定した仕上げ厚み分布との差に基づいて、該水平移動機構による該照射部の照射位置における該ウェーハのエッチング量を算出する算出部と、該算出部が算出した該エッチング量となるよう制御する制御部と、を備える。
【発明の効果】
【0010】
本発明によれば、ウェーハに局所的に厚い部分が生じても、該厚い部分の形成位置に応じたエッチングガスの照射位置におけるエッチングガスの照射量と、照射量に加え照射部の鉛直方向の距離を算出し、厚い部分のエッチング量を局所的に多くすることができる。これにより、厚い部分を他の部分と同じ厚みになるようエッチングし、ウェーハを予め設定した厚み形状に容易に形成することができる。
【図面の簡単な説明】
(【0011】以降は省略されています)
この特許をJ-PlatPat(特許庁公式サイト)で参照する
関連特許
株式会社ディスコ
焼成炉
1か月前
株式会社ディスコ
加工装置
25日前
株式会社ディスコ
加工装置
1か月前
株式会社ディスコ
切削装置
26日前
株式会社ディスコ
研削装置
1か月前
株式会社ディスコ
処理装置
1か月前
株式会社ディスコ
加工装置
1か月前
株式会社ディスコ
加工方法
1か月前
株式会社ディスコ
加工装置
17日前
株式会社ディスコ
加工装置
1か月前
株式会社ディスコ
加工装置
20日前
株式会社ディスコ
加工装置
1か月前
株式会社ディスコ
切削装置
1か月前
株式会社ディスコ
加工装置
1か月前
株式会社ディスコ
加工装置
1か月前
株式会社ディスコ
加工方法
1か月前
株式会社ディスコ
加工装置
5日前
株式会社ディスコ
加工装置
4日前
株式会社ディスコ
掃除器具
4日前
株式会社ディスコ
掃除器具
4日前
株式会社ディスコ
研削装置
1か月前
株式会社ディスコ
処理方法
4日前
株式会社ディスコ
搬送システム
1か月前
株式会社ディスコ
搬送システム
1か月前
株式会社ディスコ
搬送システム
4日前
株式会社ディスコ
搬送システム
4日前
株式会社ディスコ
搬送システム
1か月前
株式会社ディスコ
搬送システム
1か月前
株式会社ディスコ
搬送システム
4日前
株式会社ディスコ
シート固着装置
19日前
株式会社ディスコ
配線引き抜き治具
1か月前
株式会社ディスコ
保護部材形成装置
1か月前
株式会社ディスコ
抗折強度測定装置
1か月前
株式会社ディスコ
加工室の洗浄方法
28日前
株式会社ディスコ
液状樹脂供給装置
1か月前
株式会社ディスコ
レーザー加工装置
19日前
続きを見る
他の特許を見る