TOP
|
特許
|
意匠
|
商標
特許ウォッチ
Twitter
他の特許を見る
公開番号
2025170842
公報種別
公開特許公報(A)
公開日
2025-11-20
出願番号
2024075628
出願日
2024-05-08
発明の名称
加工装置
出願人
株式会社ディスコ
代理人
弁理士法人愛宕綜合特許事務所
主分類
B24B
7/04 20060101AFI20251113BHJP(研削;研磨)
要約
【課題】ユーザにおいて加工レシピをカスタマイズする際に安全率が過度に低下するのを防止できる加工装置を提供する。
【解決手段】加工装置は、被加工物を保持する保持手段と、保持手段に保持された被加工物に加工を施す加工手段と、制御手段8とを含む。制御手段8は、被加工物に対応した加工レシピを記憶するレシピ記憶部36と、レシピ記憶部36に記憶された加工レシピを表示する表示部38とを含む。レシピ記憶部36は、標準レシピを記憶する標準レシピ記憶部42と、標準レシピの内容をカスタマイズして作成した特別レシピを記憶する特別レシピ記憶部44とを備える。制御手段8は、さらに、標準レシピ記憶部42に記憶された標準レシピを表示部38に表示させ、標準レシピの内容をカスタマイズする際、標準レシピの複数の要素の相互関係からカスタマイズを制限するカスタマイズ制限部40を備える。
【選択図】図2
特許請求の範囲
【請求項1】
被加工物を保持する保持手段と、該保持手段に保持された被加工物に加工を施す加工手段と、制御手段とを含む加工装置であって、
該制御手段は、被加工物に対応した加工レシピを記憶するレシピ記憶部と、該レシピ記憶部に記憶された加工レシピを表示する表示部と、を含み、
該レシピ記憶部は、標準レシピを記憶する標準レシピ記憶部と、該標準レシピの内容をカスタマイズして作成した特別レシピを記憶する特別レシピ記憶部と、を備え、
該制御手段は、さらに、該標準レシピ記憶部に記憶された該標準レシピを該表示部に表示させ、該標準レシピの内容をカスタマイズする際、該標準レシピの複数の要素の相互関係からカスタマイズを制限するカスタマイズ制限部を備える加工装置。
続きを表示(約 260 文字)
【請求項2】
該保持手段は、被加工物を保持するチャックテーブルと、該チャックテーブルを回転させるチャックテーブル回転部と、を含み、
該加工手段は、該チャックテーブルに保持された被加工物を加工する加工具と、該加工具を装着し回転するスピンドルを備えるハウジングと、該加工具を被加工物に接近または離反させる加工送り部と、を含み、
該カスタマイズ制限部は、該スピンドルの回転数と該チャックテーブルの回転数と該加工送り部の加工送り速度との相互関係からカスタマイズを制限する請求項1記載の加工装置。
発明の詳細な説明
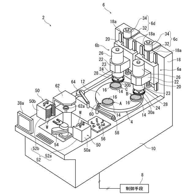
【技術分野】
【0001】
本発明は、被加工物を保持する保持手段と、保持手段に保持された被加工物に加工を施す加工手段と、制御手段とを含む加工装置に関する。
続きを表示(約 1,900 文字)
【背景技術】
【0002】
IC、LSIなどの複数のデバイスが分割予定ラインによって区画され表面に形成されたウエーハは、研削装置によって裏面が研削されて所望の厚みに形成された後、切削装置によって個々のデバイスチップに分割され、分割された各デバイスチップは携帯電話、パソコンなどの電気機器に利用される。
【0003】
研削装置は、ウエーハを保持するチャックテーブルと、チャックテーブルに保持されたウエーハを研削する研削ホイールを回転可能に装着した研削手段と、研削手段をウエーハに接近および離反させる加工送り手段と、ウエーハの厚みを計測する厚み計測手段と、を含んでいて、ウエーハを高精度に所望の厚みに仕上げることができる(たとえば特許文献1参照)。
【0004】
また、研削装置によって研削されるウエーハは、シリコンウエーハ、サファイアウエーハ、窒化ガリウムウエーハ、SiCウエーハ等、多種におよぶことから、ウエーハを研削する加工レシピ(加工条件)もウエーハの種類に応じて設定される。そして、研削装置を提供するメーカにおいては、あらかじめウエーハの種類に応じた標準的な加工レシピをユーザごとに設定している。
【先行技術文献】
【特許文献】
【0005】
特開2022-067769号公報
【発明の概要】
【発明が解決しようとする課題】
【0006】
しかし、標準的な加工レシピは、安全率が比較的高く設定され、生産性が抑えられている場合がある。このような場合には、ユーザにおいて生産性を高めるために安全率を犠牲にして標準的な加工レシピをカスタマイズするときがある。そうすると、安全率が低くなってしまうため、研削装置の損傷頻度が増え、ウエーハの破損頻度も増加するという問題がある。
【0007】
本発明の課題は、ユーザにおいて加工レシピをカスタマイズする際に安全率が過度に低下するのを防止できる加工装置を提供することである。
【課題を解決するための手段】
【0008】
本発明によれば、上記課題を解決する以下の加工装置が提供される。すなわち、
「被加工物を保持する保持手段と、該保持手段に保持された被加工物に加工を施す加工手段と、制御手段とを含む加工装置であって、
該制御手段は、被加工物に対応した加工レシピを記憶するレシピ記憶部と、該レシピ記憶部に記憶された加工レシピを表示する表示部と、を含み、
該レシピ記憶部は、標準レシピを記憶する標準レシピ記憶部と、該標準レシピの内容をカスタマイズして作成した特別レシピを記憶する特別レシピ記憶部と、を備え、
該制御手段は、さらに、該標準レシピ記憶部に記憶された該標準レシピを該表示部に表示させ、該標準レシピの内容をカスタマイズする際、該標準レシピの複数の要素の相互関係からカスタマイズを制限するカスタマイズ制限部を備える加工装置」が提供される。
【0009】
該保持手段は、被加工物を保持するチャックテーブルと、該チャックテーブルを回転させるチャックテーブル回転部と、を含み、
該加工手段は、該チャックテーブルに保持された被加工物を加工する加工具と、該加工具を装着し回転するスピンドルを備えるハウジングと、該加工具を被加工物に接近または離反させる加工送り部と、を含み、
該カスタマイズ制限部は、該スピンドルの回転数と該チャックテーブルの回転数と該加工送り部の加工送り速度との相互関係からカスタマイズを制限するのが好ましい。
【発明の効果】
【0010】
本発明の加工装置は、
被加工物を保持する保持手段と、該保持手段に保持された被加工物に加工を施す加工手段と、制御手段とを含む加工装置であって、
該制御手段は、被加工物に対応した加工レシピを記憶するレシピ記憶部と、該レシピ記憶部に記憶された加工レシピを表示する表示部と、を含み、
該レシピ記憶部は、標準レシピを記憶する標準レシピ記憶部と、該標準レシピの内容をカスタマイズして作成した特別レシピを記憶する特別レシピ記憶部と、を備え、
該制御手段は、さらに、該標準レシピ記憶部に記憶された該標準レシピを該表示部に表示させ、該標準レシピの内容をカスタマイズする際、該標準レシピの複数の要素の相互関係からカスタマイズを制限するカスタマイズ制限部を備えるので、ユーザにおいて加工レシピをカスタマイズする際に安全率が過度に低下するのを防止できる。
【図面の簡単な説明】
(【0011】以降は省略されています)
この特許をJ-PlatPat(特許庁公式サイト)で参照する
関連特許
株式会社ディスコ
処理方法
3日前
株式会社ディスコ
掃除器具
3日前
株式会社ディスコ
掃除器具
3日前
株式会社ディスコ
加工装置
3日前
株式会社ディスコ
加工装置
4日前
株式会社ディスコ
搬送システム
3日前
株式会社ディスコ
搬送システム
3日前
株式会社ディスコ
搬送システム
3日前
株式会社ディスコ
洗浄装置及び洗浄方法
11日前
株式会社ディスコ
シリアル接続システム
16日前
株式会社ディスコ
パッケージデバイスチップの製造方法
16日前
株式会社ディスコ
ブレード直径算出方法、及び、加工装置
9日前
株式会社ディスコ
研削ホイール装着治具及び研削ホイール装着治具の使用方法
9日前
株式会社松風
研磨用ゴム砥石
1か月前
株式会社SUS
ワーク保持治具
11日前
株式会社東京精密
研削装置
1か月前
株式会社タカトリ
ウエハの研削装置
27日前
株式会社ディスコ
被加工物の加工方法
2か月前
ノリタケ株式会社
超砥粒ホイール
1か月前
株式会社東京精密
加工方法
1か月前
株式会社東京精密
加工装置
1か月前
株式会社東京精密
加工装置
1か月前
株式会社荏原製作所
研磨装置
18日前
ノリタケ株式会社
研磨パッド
1か月前
秀和工業株式会社
処理装置および処理方法
2か月前
富士紡ホールディングス株式会社
研磨パッド
1か月前
富士紡ホールディングス株式会社
研磨パッド
1か月前
株式会社スギノマシン
ウォータージェット切断装置
3日前
富士紡ホールディングス株式会社
研磨パッド
1か月前
富士紡ホールディングス株式会社
研磨パッド
1か月前
株式会社東京精密
研削装置
2か月前
Mipox株式会社
研磨部材の製造方法
2か月前
Mipox株式会社
研磨部材の製造方法
2か月前
Mipox株式会社
研磨部材の製造方法
2か月前
株式会社ディスコ
切削装置
25日前
株式会社東京精密
ダイシング装置
1か月前
続きを見る
他の特許を見る