TOP
|
特許
|
意匠
|
商標
特許ウォッチ
Twitter
他の特許を見る
10個以上の画像は省略されています。
公開番号
2025169515
公報種別
公開特許公報(A)
公開日
2025-11-14
出願番号
2024074243
出願日
2024-05-01
発明の名称
研削ホイール装着治具及び研削ホイール装着治具の使用方法
出願人
株式会社ディスコ
代理人
弁理士法人愛宕綜合特許事務所
主分類
B24B
45/00 20060101AFI20251107BHJP(研削;研磨)
要約
【課題】研削手段を構成するフランジの回転軸心と研削ホイールの回転軸心とが正確に一致するように装着することができる研削ホイール装着治具を提供する。
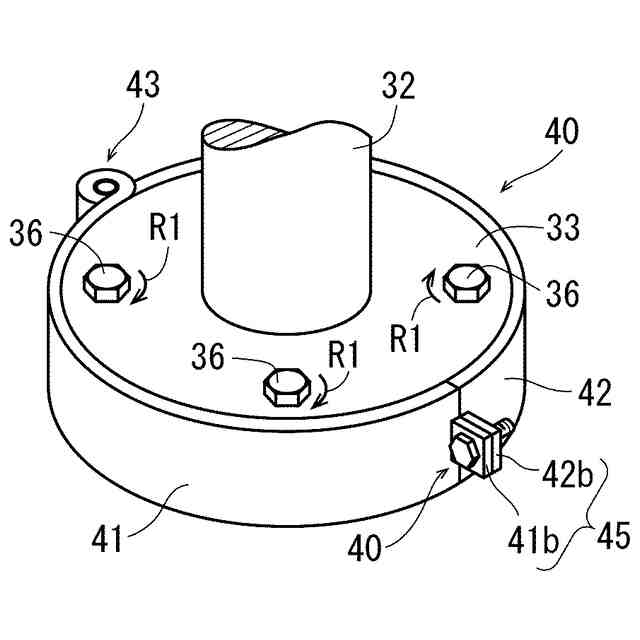
【解決手段】研削ホイールの外周とフランジの外周とに接触する円筒体41、42を備え、該円筒体には、該円筒体の周方向における一方側端部41aと他方側端部42aとを締結する締結部45が形成されており、円筒体41、42の内側に該研削ホイールと該フランジとを収容し、締結部45によって円筒体41、42の一方側端部41aと他方側端部42aとを締結することにより、円筒体41、42の内周を研削ホイールの外周とフランジの外周とに密着させて、該フランジの回転軸心と、該研削ホイールの回転軸心とを一致させる。
【選択図】図4
特許請求の範囲
【請求項1】
ウエーハを保持するチャックテーブルと、該チャックテーブルに保持されたウエーハを研削する研削ホイールをフランジに装着した研削手段と、を含み構成された研削装置で使用する研削ホイール装着治具であって、
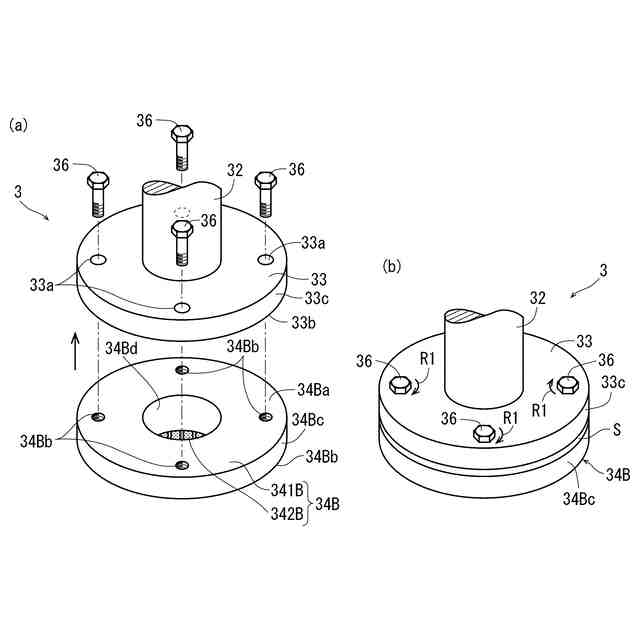
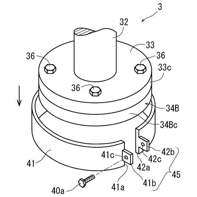
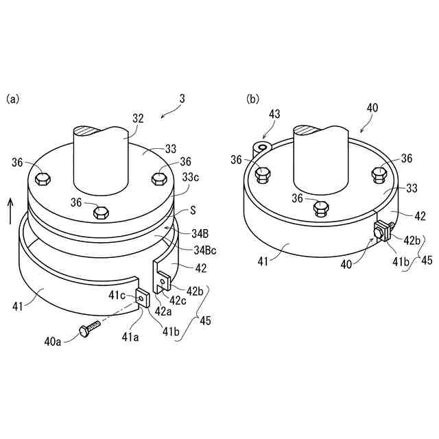
研削ホイールの外周とフランジの外周とに接触する円筒体を備え、該円筒体には、該円筒体の周方向における一方側端部と他方側端部とを締結する締結部が形成されており、
該円筒体の内側に該研削ホイールと該フランジとを収容し、該締結部によって該円筒体の一方側端部と他方側端部とを締結することにより、該円筒体の内周を研削ホイールの外周とフランジの外周とに密着させて、該フランジの回転軸心と、該研削ホイールの回転軸心とを一致させる研削ホイール装着治具。
続きを表示(約 710 文字)
【請求項2】
該円筒体には、該締結部に対応して蝶番が配設されている請求項1に記載の研削ホイール装着治具。
【請求項3】
該円筒体の下部には、研削ホイールを支持する支持部が形成されている請求項1に記載の研削ホイール装着治具。
【請求項4】
該研削ホイールは、ウエーハの半径に対応した直径を有する環状に配設された研削砥石と該研削砥石を支持する環状のホイールとから構成され、ウエーハの裏面を研削すると共に該ウエーハの外周にリング状の補強部を形成できる請求項1に記載の研削ホイール装着治具。
【請求項5】
該研削ホイールの外径と、該フランジの外径とが同じである請求項1に記載の研削ホイール装着治具。
【請求項6】
請求項1~5に記載の研削ホイール装着治具の使用方法であって、
該研削ホイール又は該フランジの一方に形成されたボルト挿入口と、他方に形成された該ボルト挿入口に挿入されたボルトの雄ねじが螺合する雌ねじ穴とを用いて該研削ホイールを該フランジに仮固定する仮固定工程と、
該研削ホイール装着治具の該円筒体の内周を該研削ホイールの外周と該フランジの外周とに位置付けて該締結部を締結し、該円筒体の内周を研削ホイールの外周とフランジの外周とに密着させて該フランジの回転軸心と、該研削ホイールの回転軸心とを一致させる締結工程と、
該ボルトを螺合して該フランジに該研削ホイールを装着する装着工程と、
該締結部を緩めて該フランジ及び該研削ホイールから該研削ホイール装着治具を取り外す取り外し工程と、を含む研削ホイール装着治具の使用方法。
発明の詳細な説明
【技術分野】
【0001】
本発明は、ウエーハを保持するチャックテーブルと、該チャックテーブルに保持されたウエーハを研削する研削ホイールをフランジに装着した研削手段と、を含み構成された研削装置で使用する研削ホイール装着治具、及び該研削ホイール装着治具の使用方法に関する。
続きを表示(約 1,500 文字)
【背景技術】
【0002】
IC、LSI等の複数のデバイスが分割予定ラインによって区画されたデバイス領域と、該デバイス領域を囲繞する外周余剰領域が表面に形成されたウエーハは、研削装置によって裏面が研削されて所望の厚みに形成された後、ダイシング装置、レーザー加工装置によって個々のデバイスチップに分割され、携帯電話、パソコン等の電気機器に利用される。
【0003】
研削装置は、ウエーハを保持するチャックテーブルと、該チャックテーブルに保持されたウエーハの裏面を研削する研削手段と、を含み構成されていて、ウエーハを高精度に所望の厚みに研削することができる。
【0004】
また、ウエーハの表面に形成されたデバイス領域に対応する裏面を研削して外周余剰領域に対応する裏面にリング状の補強部を形成する技術が本出願人によって提案されている(特許文献1を参照)。
【先行技術文献】
【特許文献】
【0005】
特開2019-057526号公報
【発明の概要】
【発明が解決しようとする課題】
【0006】
上記した特許文献1に記載の技術では、ウエーハの半径に対応した直径を有して研削砥石が環状のホイールに固定された研削ホイールが用いられ、研削手段を構成するフランジに装着される。
【0007】
そして、チャックテーブルに保持されたウエーハの裏面の中心と形成すべきリング状の補強部の内側に研削砥石を位置付けてチャックテーブルを回転させると共に、研削ホイールを回転してウエーハのデバイス領域に対応する裏面を研削して、外周余剰領域に対応する裏面にリング状の補強部を形成する。
【0008】
しかし、研削手段を構成するフランジの回転軸中心と研削ホイールの回転軸中心とがずれた状態で装着されると、高精度なリング状の補強部を形成できないという問題がある。また、ウエーハの裏面全体を研削する研削ホイールをフランジに装着する際にもフランジの回転軸中心と研削ホイールの回転軸中心とがずれた状態で装着されると、研削ホイールが回転する際に揺動して研削痕が不均一となり、好ましくないという問題がある。
【0009】
本発明は、上記事実に鑑みなされたものであり、その主たる技術課題は、研削手段を構成するフランジの回転軸心と研削ホイールの回転軸心とが正確に一致するように装着し、例えば、ウエーハの裏面側の外周に、一定の幅のリング状の補強部を高精度に形成することができ、研削加工を実施する際に、研削ホイールが揺動して研削痕が不均一となるという問題も解消される研削ホイール装着治具、及び該研削ホイール装着治具の使用方法を提供することにある。
【課題を解決するための手段】
【0010】
上記主たる技術課題を解決するため、本発明によれば、エーハを保持するチャックテーブルと、該チャックテーブルに保持されたウエーハを研削する研削ホイールをフランジに装着した研削手段と、を含み構成された研削装置で使用する研削ホイール装着治具であって、研削ホイールの外周とフランジの外周とに接触する円筒体を備え、該円筒体には、該円筒体の周方向における一方側端部と他方側端部とを締結する締結部が形成されており、該円筒体の内側に該研削ホイールと該フランジとを収容し、該締結部によって該円筒体の一方側端部と他方側端部とを締結することにより、該円筒体の内周を研削ホイールの外周とフランジの外周とに密着させて、該フランジの回転軸心と、該研削ホイールの回転軸心とを一致させる研削ホイール装着治具が提供される。
(【0011】以降は省略されています)
この特許をJ-PlatPat(特許庁公式サイト)で参照する
関連特許
株式会社ディスコ
焼成炉
24日前
株式会社ディスコ
切削装置
19日前
株式会社ディスコ
加工装置
26日前
株式会社ディスコ
加工装置
18日前
株式会社ディスコ
加工装置
13日前
株式会社ディスコ
加工装置
10日前
株式会社ディスコ
研削装置
24日前
株式会社ディスコ
処理装置
24日前
株式会社ディスコ
搬送システム
24日前
株式会社ディスコ
シート固着装置
12日前
株式会社ディスコ
抗折強度測定装置
24日前
株式会社ディスコ
加工室の洗浄方法
21日前
株式会社ディスコ
配線引き抜き治具
24日前
株式会社ディスコ
レーザー加工装置
12日前
株式会社ディスコ
被加工物の加工方法
18日前
株式会社ディスコ
カーフチェック方法
25日前
株式会社ディスコ
加工装置及び支持柱
25日前
株式会社ディスコ
スピンドルユニット
10日前
株式会社ディスコ
ウェーハの分割方法
25日前
株式会社ディスコ
ウエーハの加工方法
25日前
株式会社ディスコ
キャリア板の除去方法
12日前
株式会社ディスコ
シリアル接続システム
10日前
株式会社ディスコ
洗浄装置及び洗浄方法
5日前
株式会社ディスコ
処理装置及び検知方法
19日前
株式会社ディスコ
研削装置および研削方法
19日前
株式会社ディスコ
加工方法、及び研磨装置
12日前
株式会社ディスコ
走査光学系及び光学処理装置
18日前
株式会社ディスコ
貼り合わせウェーハの加工方法
24日前
株式会社ディスコ
切削方法及びチップの製造方法
27日前
株式会社ディスコ
フィルターハウジングホルダー
10日前
株式会社ディスコ
ウェーハの加工方法及び加工装置
18日前
株式会社ディスコ
カーフチェック方法及び加工装置
12日前
株式会社ディスコ
ウェーハの加工方法及び切削装置
18日前
株式会社ディスコ
ウェーハの研削方法及び研削装置
25日前
株式会社ディスコ
加工装置及び半導体装置の製造方法
25日前
株式会社ディスコ
支持部材及び処理対象物の処理方法
10日前
続きを見る
他の特許を見る