TOP
|
特許
|
意匠
|
商標
特許ウォッチ
Twitter
他の特許を見る
10個以上の画像は省略されています。
公開番号
2025160737
公報種別
公開特許公報(A)
公開日
2025-10-23
出願番号
2024063497
出願日
2024-04-10
発明の名称
加工装置及び半導体装置の製造方法
出願人
株式会社ディスコ
代理人
個人
,
個人
,
個人
,
個人
,
個人
,
個人
主分類
H01L
21/301 20060101AFI20251016BHJP(基本的電気素子)
要約
【課題】被加工物を加工する際の加工効率を向上させる。
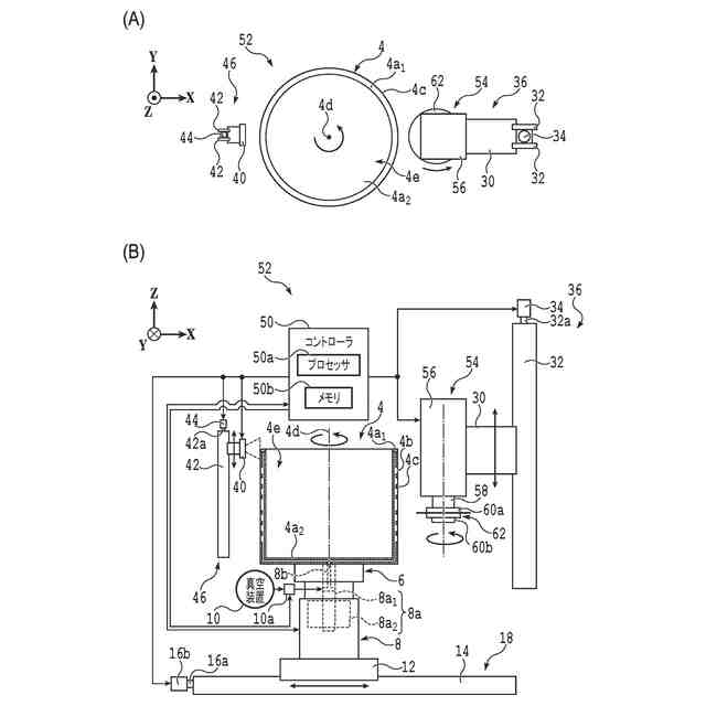
【解決手段】被加工物を保持領域で保持する保持部と、保持部を所定の回転軸の周りに回転させるモータを有する回転部と、保持領域に対面して配置可能であり、被加工物を加工する加工ユニットと、保持部と、加工ユニットとを、回転軸に沿って相対的に移動させる移動部と、を備え、保持部は、回転軸の周りにおいて回転軸から離れて配置されている側面部を有し、保持領域は、側面部に設けられている加工装置を提供する。
【選択図】図1
特許請求の範囲
【請求項1】
被加工物を保持領域で保持する保持部と、
該保持部を所定の回転軸の周りに回転させるモータを有する回転部と、
該保持領域に対面して配置可能であり、該被加工物を加工する加工ユニットと、
該保持部と、該加工ユニットとを、該回転軸に沿って相対的に移動させる移動部と、
を備え、
該保持部は、該回転軸の周りにおいて該回転軸から離れて配置されている側面部を有し、
該保持領域は、該側面部に設けられていることを特徴とする加工装置。
続きを表示(約 1,200 文字)
【請求項2】
該保持部の該保持領域は、
筒体の外側面もしくは内側面に設けられている、
柱体、錐台もしくは錐体の外側面に設けられている、
空洞部を有する錐台の外側面もしくは内側面に設けられている、又は、
空洞部を有する錐体の外側面もしくは内側面に設けられていることを特徴とする請求項1に記載の加工装置。
【請求項3】
該加工ユニットは、レーザー発振器と、集光レンズと、を有するレーザービーム照射ユニットであることを特徴とする請求項1に記載の加工装置。
【請求項4】
該加工ユニットは、スピンドルを有する切削ユニットであり、
該スピンドルの先端部には、切削ブレードが装着されることを特徴とする請求項1に記載の加工装置。
【請求項5】
光源及び受光素子を有し、該保持部で保持された該被加工物の位置を検知するための検知部と、
メモリ及びプロセッサを有し、該回転部、該加工ユニット及び該移動部を制御するコントローラと、
を更に備え、
該コントローラは、該検知部を利用して、該回転軸に沿って該加工ユニットの位置を制御することを特徴とする請求項1に記載の加工装置。
【請求項6】
該保持部の該保持領域には、吸引源で発生させた負圧が伝達されることを特徴とする請求項1に記載の加工装置。
【請求項7】
該被加工物は、
それぞれ複数の電子部品が直線的に配列されている複数の被分割要素と、
各被分割要素の長手方向と交差する方向で、該複数の被分割要素を連結する連結部と、
を有し、
該保持部で該被加工物を保持すると、該複数の電子部品を個片化するための複数の分割予定ラインは、各被分割要素の長手方向に沿って離散的に配置されると共に、該回転軸の周りに配置されることを特徴とする請求項1から6のいずれかに記載の加工装置。
【請求項8】
該保持部の該保持領域は、吸引源で発生させた負圧がそれぞれ伝達される複数の開口を有し、
該複数の開口は、各被分割要素における該複数の電子部品に対応する位置に設けられていることを特徴とする請求項7に記載の加工装置。
【請求項9】
被加工物を加工して該被加工物から半導体装置を製造する半導体装置の製造方法であって、
回転軸の周りにおいて該回転軸から離れて配置されている側面部を有する保持部の該側面部で該被加工物を保持する保持工程と、
該保持部と加工ユニットとを該回転軸の長手方向に沿って相対的に移動させることで、該加工ユニットによる該被加工物の加工位置を調整する位置合わせ工程と、
該被加工物を保持した該保持部を該回転軸の周りに回転させながら、該側面部に対面して配置された該加工ユニットで該被加工物を加工する加工工程と、
を備える半導体装置の製造方法。
発明の詳細な説明
【技術分野】
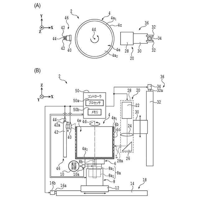
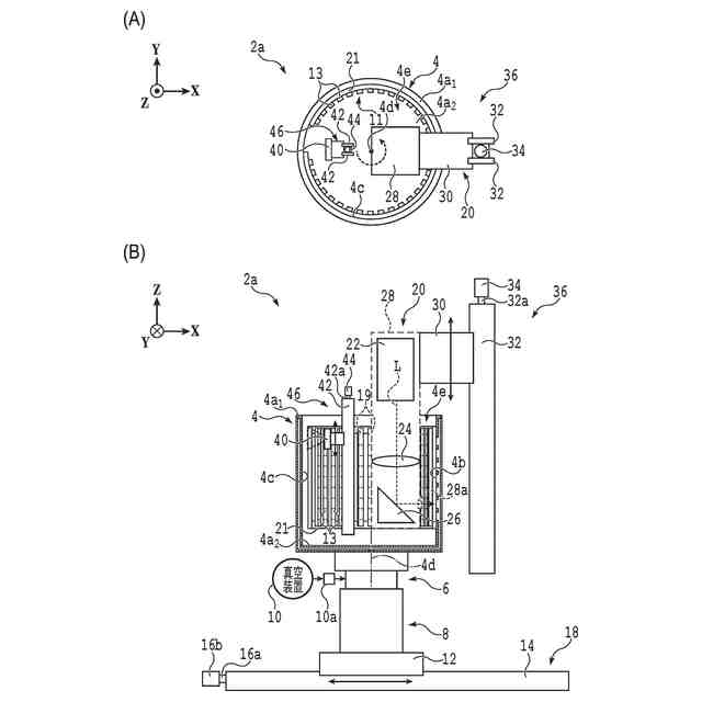
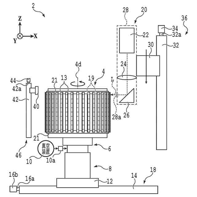
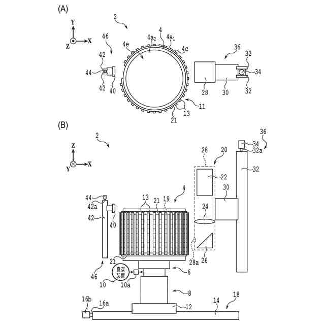
【0001】
本発明は、被加工物を加工する加工ユニットを備える加工装置と、被加工物を加工して当該被加工物から半導体装置を製造する半導体装置の製造方法と、に関する。
続きを表示(約 1,300 文字)
【背景技術】
【0002】
携帯電話、パーソナルコンピュータ等の様々な電子機器には、デバイスチップが搭載されている。デバイスチップは、一般に、半導体ウェーハを加工することで製造される。半導体ウェーハの一面には、複数の分割予定ライン(即ち、ストリート)が格子状に設定されている。
【0003】
複数の分割予定ラインで区画された各矩形領域には、IC(Integrated Circuit)等のデバイスが形成されている。半導体ウェーハを各分割予定ラインに沿って切断することにより、半導体ウェーハは複数のデバイスチップに分割される。
【0004】
半導体ウェーハの分割には、例えば、レーザー加工装置が用いられる(例えば、特許文献1参照)。レーザー加工装置は、レーザー発振器、集光レンズ等を備える。半導体ウェーハに吸収される波長を有するレーザービームを各分割予定ラインに照射することにより、半導体ウェーハはアブレーション加工により複数のデバイスチップに分割される。
【0005】
また、半導体ウェーハの分割には、切削装置が用いられることもある。切削装置は、スピンドルを含む切削ユニットを備え、スピンドルの先端部には、円環状の切り刃を有する切削ブレードが装着される。切削ブレードで各分割予定ラインに沿って半導体ウェーハを切削することにより、半導体ウェーハは複数のデバイスチップに分割される。
【0006】
レーザー加工装置、切削装置等の加工装置によって加工される加工対象は、半導体ウェーハに限定されない。エポキシ樹脂等を含む封止材で複数のデバイスチップが封止された板状又は棒状の成形体が加工されることもある。
【0007】
この様な成形体は、複数のデバイスチップを半導体パッケージ基板に電気的に接続した上で、当該複数のデバイスチップを封止材で封止し、圧縮成形することにより形成される。この成形体を予め定められた分割予定ラインに沿ってレーザー加工装置又は切削装置で切断することにより、成形体はデバイスパッケージへ分割される。
【0008】
通常、半導体ウェーハ、成形体等の被加工物をレーザー加工装置又は切削装置で分割する際には、まず、負圧により被加工物を保持テーブルで吸引保持する。そして、レーザービームの集光点又はスピンドルの周りに高速で回転する切削ブレードの下端に対して、被加工物を吸引保持した保持テーブルをXY平面内で移動させる。
【0009】
具体的には、集光点又は切削ブレードの下端をXY平面内において分割予定ラインの延長線上に位置付けた状態で、保持テーブルをX軸方向に沿って移動させる(即ち、加工送りを行う)。
【0010】
これにより、X軸方向と略平行に配置された分割予定ラインに沿って被加工物を加工する。次いで、集光点又は切削ブレードの下端と、保持テーブルと、Y軸方向に沿って相対的に移動させることで、割り出し送りを行う。
(【0011】以降は省略されています)
この特許をJ-PlatPat(特許庁公式サイト)で参照する
関連特許
株式会社ディスコ
加工装置
17日前
株式会社ディスコ
切削装置
18日前
株式会社ディスコ
加工装置
12日前
株式会社ディスコ
加工装置
9日前
株式会社ディスコ
シート固着装置
11日前
株式会社ディスコ
レーザー加工装置
11日前
株式会社ディスコ
被加工物の加工方法
17日前
株式会社ディスコ
スピンドルユニット
9日前
株式会社ディスコ
処理装置及び検知方法
18日前
株式会社ディスコ
キャリア板の除去方法
11日前
株式会社ディスコ
シリアル接続システム
9日前
株式会社ディスコ
洗浄装置及び洗浄方法
4日前
株式会社ディスコ
加工方法、及び研磨装置
11日前
株式会社ディスコ
研削装置および研削方法
18日前
株式会社ディスコ
走査光学系及び光学処理装置
17日前
株式会社ディスコ
フィルターハウジングホルダー
9日前
株式会社ディスコ
ウェーハの加工方法及び加工装置
17日前
株式会社ディスコ
ウェーハの加工方法及び切削装置
17日前
株式会社ディスコ
カーフチェック方法及び加工装置
11日前
株式会社ディスコ
切削装置、及び被加工物の切削方法
9日前
株式会社ディスコ
支持部材及び処理対象物の処理方法
9日前
株式会社ディスコ
パッケージデバイスチップの製造方法
9日前
株式会社ディスコ
ブレード直径算出方法、及び、加工装置
2日前
株式会社ディスコ
バイト工具、およびバイト工具の製造方法
20日前
株式会社ディスコ
ノズル、切削装置及び被加工物の加工方法
10日前
株式会社ディスコ
ウェーハ洗浄装置と加工装置及び加工方法
11日前
株式会社ディスコ
砥石、研削ホイール、及び、砥石の製造方法
18日前
株式会社ディスコ
研削ホイール装着治具及び研削ホイール装着治具の使用方法
2日前
株式会社ディスコ
保護部材形成装置、保護部材形成方法及びウェーハの製造方法
11日前
株式会社ディスコ
レーザ加工装置、被加工物の面取り方法、及びウエーハの製造方法
12日前
株式会社ディスコ
シート固着装置及びシートが固着されている被固着物を製造する方法
11日前
株式会社ディスコ
シート固着装置及びシートが固着されている被固着物を製造する方法
11日前
東ソー株式会社
絶縁電線
25日前
APB株式会社
蓄電セル
23日前
個人
フレキシブル電気化学素子
1か月前
株式会社ユーシン
操作装置
1か月前
続きを見る
他の特許を見る