TOP
|
特許
|
意匠
|
商標
特許ウォッチ
Twitter
他の特許を見る
10個以上の画像は省略されています。
公開番号
2025164994
公報種別
公開特許公報(A)
公開日
2025-11-04
出願番号
2024068820
出願日
2024-04-22
発明の名称
レーザ加工装置、被加工物の面取り方法、及びウエーハの製造方法
出願人
株式会社ディスコ
代理人
個人
,
個人
,
個人
,
個人
,
個人
,
個人
主分類
B23K
26/361 20140101AFI20251027BHJP(工作機械;他に分類されない金属加工)
要約
【課題】被加工物を面取りする際の手間を低減するとともにスループットを向上させる。
【解決手段】レーザビームを被加工物に照射することによって該被加工物をレーザ加工できるレーザ加工装置であって、平坦な保持面を有する保持ユニットと、該レーザビームを出射する発振器と、該発振器から出射される該レーザビームを集光する集光器と、該保持ユニットと、該レーザビームが集光される集光点と、を相対的に移動させる移動機構と、該保持ユニットの該保持面と交差する直線を回転中心として該保持ユニットを回転させる回転機構と、を備え、該保持ユニットで保持されている該被加工物の第1面及び第2面を結ぶ側面に該集光器が対面するように該集光器及び該保持ユニットの相対位置及び向きを調整可能であり、該発振器から出射され該集光器で集光される該レーザビームを該保持ユニットで保持された該被加工物に該側面側から照射できる。
【選択図】図2
特許請求の範囲
【請求項1】
被加工物の素材に吸収される波長のレーザビームを該被加工物に照射することによって該被加工物をレーザ加工できるレーザ加工装置であって、
平坦な保持面を有する保持ユニットと、
該レーザビームを出射する発振器と、
該発振器から出射される該レーザビームを集光する集光器と、
該保持ユニットと、該レーザビームが集光される集光点と、を相対的に移動させる移動機構と、
該保持ユニットの該保持面と交差する直線を回転中心として該保持ユニットを回転させる回転機構と、
を備え、
該保持ユニットで保持されている該被加工物の第1面及び第2面を結ぶ側面に該集光器が対面するように該集光器及び該保持ユニットの相対位置及び向きを調整可能であり、
該発振器から出射され該集光器で集光される該レーザビームを該保持ユニットで保持された該被加工物に該側面側から照射できることを特徴とするレーザ加工装置。
続きを表示(約 1,400 文字)
【請求項2】
該レーザビームが該被加工物の該側面から入射し該第1面又は該第2面に進行するように該レーザビームの進行方向を調整できることを特徴とする請求項1記載のレーザ加工装置。
【請求項3】
該集光器と、該保持ユニットで保持された該被加工物の該側面と、の位置関係を検出する位置検出ユニットをさらに備えることを特徴とする請求項1または請求項2に記載のレーザ加工装置。
【請求項4】
被加工物を面取りする被加工物の面取り方法であって、
該被加工物の外周部が露出されるように該被加工物の第1面側中央部を保持ユニットの平坦な保持面において保持する保持ステップと、
該保持ステップの後に、該被加工物の素材に吸収される波長のレーザビームを該被加工物の側面から入射させ第1面側に抜けさせるように該被加工物に照射しつつ該保持面と交差する直線を回転軸として該保持ユニットを回転させることによって、該被加工物の第1面側外周部を除去する第1面取りステップと、
該保持ステップの後に、該レーザビームを該被加工物の側面から入射させ第2面側に抜けさせるように該被加工物に照射しつつ該回転軸のまわりに該保持ユニットを回転させることによって、該被加工物の第2面側外周部を除去する第2面取りステップと、
を備える被加工物の面取り方法。
【請求項5】
該第1面取りステップと、該第2面取りステップと、の間に該被加工物を表裏反転させないことを特徴とする請求項4に記載の被加工物の面取り方法。
【請求項6】
インゴットから面取りされたウエーハを製造するウエーハの製造方法であって、
該インゴットの素材を透過する波長の第1レーザビームが集光される第1集光点を該インゴットの内部に位置づけた状態で該インゴットと該第1集光点とを相対的に移動させるように該第1レーザビームを該インゴットに照射することによって、該インゴットの内部に分離層を形成する分離層形成ステップと、
該分離層形成ステップの後に、該分離層において該インゴットを劈開させるように該インゴットに外力を付与することによって、ウエーハを該インゴットから剥離する剥離ステップと、
該剥離ステップの後に、該ウエーハの第1面側外周部及び第2面側外周部の双方が露出されるように該ウエーハの第1面側中央部を保持ユニットの平坦な保持面において保持する保持ステップと、
該保持ステップの後に、該ウエーハの素材に吸収される波長の第2レーザビームを該ウエーハの側面から入射させ第1面側に抜けさせるように該ウエーハに照射しつつ該保持面に交差する直線を回転軸として該保持ユニットを回転させることによって、該ウエーハの該第1面側外周部を除去する第1面取りステップと、
該保持ステップの後に、該第2レーザビームを該ウエーハの側面から入射させ第2面側に抜けさせるように該ウエーハに照射しつつ該回転軸のまわりに該保持ユニットを回転させることによって、該ウエーハの該第2面側外周部を除去する第2面取りステップと、
を備えるウエーハの製造方法。
【請求項7】
該第1面取りステップと、該第2面取りステップと、の間に該ウエーハを表裏反転させないことを特徴とする請求項6に記載のウエーハの製造方法。
発明の詳細な説明
【技術分野】
【0001】
本発明は、被加工物の第1面側外周部及び第2面側外周部の双方を除去するように被加工物に吸収される波長のレーザビームを被加工物に照射することによって被加工物を面取りすることが可能なレーザ加工装置と、被加工物を面取りする被加工物の加工方法と、インゴットから面取りされたウエーハを製造するウエーハの製造方法と、に関する。
続きを表示(約 1,900 文字)
【背景技術】
【0002】
IC(Integrated Circuit)等のデバイスのチップは、携帯電話及びパーソナルコンピュータ等の各種電子機器において不可欠の構成要素である。このようなチップは、一般的に、シリコン(Si)、炭化シリコン(SiC)、窒化ガリウム(GaN)、タンタル酸リチウム(LiTaO
3
:LT)、又はニオブ酸リチウム(LiNbO
3
:LN)等の単結晶からなり、かつ、面取りされたウエーハを利用して製造される。
【0003】
このウエーハは、例えば、円柱状のインゴットに含まれる表面側の所定の厚さを有する部分を切り出してから、切り出された部分(すなわち、アズスライスウエーハ)の外周部を加工して面取り部を形成することによって製造される(例えば、特許文献1参照)。具体的には、この面取り加工は、アズスライスウエーハの第1面側外周部及び第2面側外周部の双方を除去するように、例えば、アズスライスウエーハの素材に吸収される波長のレーザビームをアズスライスウエーハに照射することによって行われる。
【先行技術文献】
【特許文献】
【0004】
特開2019-212761号公報
【発明の概要】
【発明が解決しようとする課題】
【0005】
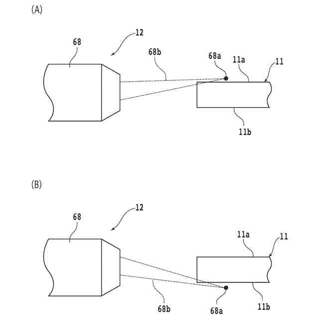
アズスライスウエーハ等の被加工物に面取り加工をすることが可能なレーザ加工装置は、一般的に、平坦な保持面を有する保持テーブルと、発振器と、発振器から出射されるレーザビームを集光する集光器と、レーザビームが集光される集光点と保持テーブルとを相対的に移動させる移動機構と、を備える。そして、レーザ加工装置における被加工物の加工は、保持テーブルの保持面において保持された被加工物の内部に集光点を位置づけた状態で保持テーブルと集光点とを相対的に移動させるように被加工物にレーザビームを照射することによって行われる。
【0006】
より詳細には、被加工物を面取りする場合には、まず、被加工物の第2面側が露出されるように保持テーブルの保持面において被加工物の第1面側を保持する。次いで、レーザビームが集光される集光点を被加工物の第2面側外周部に位置づけた状態で保持テーブルと集光点とを相対的に移動させるように被加工物にレーザビームを照射する。これにより、被加工物の第2面側外周部が除去される。
【0007】
次いで、保持テーブルの保持面から被加工物を分離して反転させてから、保持テーブルの保持面において被加工物を再び保持する。すなわち、被加工物の第1面側が露出されるように保持テーブルの保持面において被加工物の第2面側を保持する。その後、レーザビームが集光される集光点を被加工物の第1面側外周部に位置づけた状態で保持テーブルと集光点とを相対的に移動させるように被加工物にレーザビームを照射する。これにより、被加工物の第1面側外周部が除去される。
【0008】
しかしながら、このようにそれぞれの面からレーザ加工をするために被加工物を反転させる工程には、反転作業自体に要する時間だけでなく、被加工物を反転させた後に保持面における被加工物の位置を精密に検出し直して加工位置を決定する工程にも時間がかかる。そのため、この方法による面取り加工は、スループットが低く問題となっていた。
【0009】
この点に鑑み、本発明の目的は、被加工物の面取り加工を高いスループットで実施できる加工装置を提供することである。
【課題を解決するための手段】
【0010】
本発明の一態様によれば、被加工物の素材に吸収される波長のレーザビームを該被加工物に照射することによって該被加工物をレーザ加工できるレーザ加工装置であって、平坦な保持面を有する保持ユニットと、該レーザビームを出射する発振器と、該発振器から出射される該レーザビームを集光する集光器と、該保持ユニットと、該レーザビームが集光される集光点と、を相対的に移動させる移動機構と、該保持ユニットの該保持面と交差する直線を回転中心として該保持ユニットを回転させる回転機構と、を備え、該保持ユニットで保持されている該被加工物の第1面及び第2面を結ぶ側面に該集光器が対面するように該集光器及び該保持ユニットの相対位置及び向きを調整可能であり、該発振器から出射され該集光器で集光される該レーザビームを該保持ユニットで保持された該被加工物に該側面側から照射できることを特徴とするレーザ加工装置が提供される。
(【0011】以降は省略されています)
この特許をJ-PlatPat(特許庁公式サイト)で参照する
関連特許
株式会社ディスコ
焼成炉
18日前
株式会社ディスコ
加工装置
27日前
株式会社ディスコ
研削装置
18日前
株式会社ディスコ
加工方法
1か月前
株式会社ディスコ
切削装置
13日前
株式会社ディスコ
処理装置
18日前
株式会社ディスコ
加工装置
20日前
株式会社ディスコ
研磨装置
1か月前
株式会社ディスコ
加工装置
12日前
株式会社ディスコ
加工装置
7日前
株式会社ディスコ
診断方法
1か月前
株式会社ディスコ
加工方法
25日前
株式会社ディスコ
加工装置
27日前
株式会社ディスコ
切削装置
28日前
株式会社ディスコ
加工装置
1か月前
株式会社ディスコ
切削装置
1か月前
株式会社ディスコ
研削装置
1か月前
株式会社ディスコ
加工装置
1か月前
株式会社ディスコ
加工装置
4日前
株式会社ディスコ
加工装置
28日前
株式会社ディスコ
搬送システム
18日前
株式会社ディスコ
搬送システム
26日前
株式会社ディスコ
搬送システム
1か月前
株式会社ディスコ
搬送システム
25日前
株式会社ディスコ
加工水供給装置
1か月前
株式会社ディスコ
ノズルユニット
1か月前
株式会社ディスコ
シート固着装置
6日前
株式会社ディスコ
保護部材形成装置
27日前
株式会社ディスコ
ブレーキング装置
1か月前
株式会社ディスコ
液状樹脂供給装置
26日前
株式会社ディスコ
保護部材形成装置
25日前
株式会社ディスコ
抗折強度測定装置
18日前
株式会社ディスコ
配線引き抜き治具
18日前
株式会社ディスコ
加工室の洗浄方法
15日前
株式会社ディスコ
レーザー加工装置
6日前
株式会社ディスコ
切削ブレード治具
1か月前
続きを見る
他の特許を見る