TOP
|
特許
|
意匠
|
商標
特許ウォッチ
Twitter
他の特許を見る
公開番号
2025140440
公報種別
公開特許公報(A)
公開日
2025-09-29
出願番号
2024039850
出願日
2024-03-14
発明の名称
切削ブレード治具
出願人
株式会社ディスコ
代理人
弁理士法人愛宕綜合特許事務所
主分類
B24B
41/06 20120101AFI20250919BHJP(研削;研磨)
要約
【課題】切削ブレードを落下させ破損させるという問題を解消することができる切削ブレード治具を提供する。
【解決手段】切削装置において、該切削手段を構成する回転軸の先端に装着する切削ブレードを取り扱う切削ブレード治具であって、切削ブレード83Aは、外側に環状の切り刃83Abを備えると共に内側に該回転軸の先端に装着する装着口83Acを備え、装着口83Acに挿入して内側を支持する内側支持部20Ad、20Aeと、内側支持部20Ad、20Aeから延在する把持部20Aa、20Abと、を含み構成される。
【選択図】図6
特許請求の範囲
【請求項1】
被加工物を保持する保持手段と、該保持手段に保持された被加工物を切削する切削手段と、を含み構成された切削装置において、該切削手段を構成する回転軸の先端に装着する切削ブレードを取り扱う切削ブレード治具であって、
切削ブレードは、外側に環状の切り刃を備えると共に内側に該回転軸の先端に装着する装着口を備え、
該装着口に挿入して該内側を支持する内側支持部と、該内側支持部から延在する把持部と、を含み構成される切削ブレード治具。
続きを表示(約 220 文字)
【請求項2】
切削ブレードは円形基台を備え、該円形基台の外側に環状の切り刃を備えると共に、該円形基台の内側に該回転軸の先端に装着する装着口を備える請求項1に記載の切削ブレード治具。
【請求項3】
該把持部は、該内側支持部が外側に広がろうとする弾性力、又は該内側支持部が内側に狭まろうとする弾性力を生じさせるように構成され、該内側支持部は、切削ブレードの該内側に係合する係合溝を備える請求項1に記載の切削ブレード治具。
発明の詳細な説明
【技術分野】
【0001】
本発明は、被加工物を保持する保持手段と、該保持手段に保持された被加工物を切削する切削手段と、を含み構成された切削装置において、該切削手段を構成する回転軸の先端に装着する切削ブレードを取り扱う切削ブレード治具に関する。
続きを表示(約 1,700 文字)
【背景技術】
【0002】
IC、LSI等の複数のデバイスが分割予定ラインによって区画され表面に形成されたウエーハは、切削装置によって個々のデバイスチップに分割され、携帯電話、パソコン等の電気機器に利用される。
【0003】
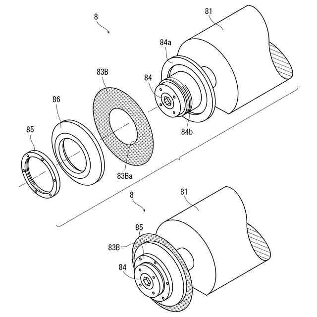
切削装置は、ウエーハを保持する保持手段と、該保持手段に保持されたウエーハを切削する切削ブレードを回転可能に備えた切削手段と、該保持手段と該切削手段とをX軸方向に相対的に加工送りするX軸送り手段と、該保持手段と該切削手段とを該X軸方向に直交するY軸方向に相対的に加工送りするY軸送り手段と、該保持手段と該切削手段とをX軸方向及びY軸方向に直交するZ軸方向に相対的に加工送りするZ軸送り手段とを含み構成されていて、ウエーハを高精度に個々のデバイスチップに分割することができる。
【0004】
また、切削装置の切削手段に装着される切削ブレードを、自動的に交換できる切削ブレード交換装置が本出願人によって提案されている(特許文献1を参照)。
【先行技術文献】
【特許文献】
【0005】
特開2022-187143号公報
【発明の概要】
【発明が解決しようとする課題】
【0006】
しかし、上記の切削ブレード交換装置によって切削ブレードを交換している最中に、該切削ブレード交換装置にエラーが生じると、切削ブレードを保持した保持手段から、手作業で切削ブレードを取り外すことが必要になる場合があり、該切削ブレードを取り外す際に、該切削ブレードを落下させ破損させるという問題が生じる。特に、取り外す切削ブレードが新品であった場合は、大きな損害となる。
【0007】
本発明は、上記事実に鑑みなされたものであり、その主たる技術課題は、切削ブレードを保持した保持手段から切削ブレードを取り外す際に、該切削ブレードを落下させ破損させるという問題を解消することができる切削ブレード治具を提供することにある。
【課題を解決するための手段】
【0008】
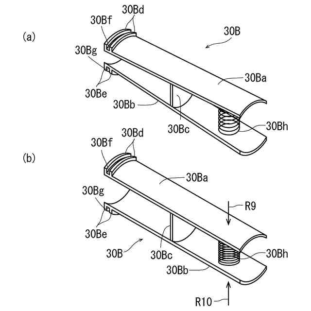
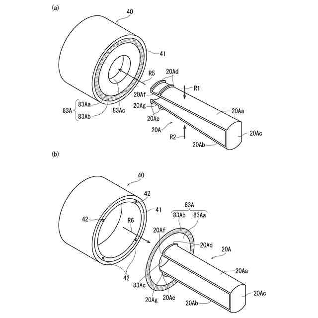
上記主たる技術課題を解決するため、本発明によれば、被加工物を保持する保持手段と、該保持手段に保持された被加工物を切削する切削手段と、を含み構成された切削装置において、該切削手段を構成する回転軸の先端に装着する切削ブレードを取り扱う切削ブレード治具であって、切削ブレードは、外側に環状の切り刃を備えると共に内側に該回転軸の先端に装着する装着口を備え、該装着口に挿入して該内側を支持する内側支持部と、該内側支持部から延在する把持部と、を含み構成される切削ブレード治具が提供される。
【0009】
該切削ブレードは円形基台を備え、該円形基台の外側に環状の切り刃を備えると共に、該円形基台の内側に該回転軸の先端に装着する装着口を備えることが好ましい。また、該把持部は、該内側支持部が外側に広がろうとする弾性力、又は該内側支持部が内側に狭まろうとする弾性力を生じさせるように構成され、該内側支持部は、切削ブレードの該内側に係合する係合溝を備えることが好ましい。
【発明の効果】
【0010】
本発明の切削ブレード治具は、被加工物を保持する保持手段と、該保持手段に保持された被加工物を切削する切削手段と、を含み構成された切削装置において、該切削手段を構成する回転軸の先端に装着する切削ブレードを取り扱う切削ブレード治具であって、切削ブレードは、外側に環状の切り刃を備えると共に内側に該回転軸の先端に装着する装着口を備え、該装着口に挿入して該内側を支持する内側支持部と、該内側支持部から延在する把持部と、を含み構成されることから、切削ブレードの装着口を切削ブレード治具によって支持することで、切削ブレードを落下させることなく取り扱うことができる。また、切削ブレードが新品である場合は、高価な新品の切削ブレードを落下させて破損させることが無くなり、不経済であるという問題も解消される。
【図面の簡単な説明】
(【0011】以降は省略されています)
この特許をJ-PlatPat(特許庁公式サイト)で参照する
関連特許
株式会社ディスコ
焼成炉
1日前
株式会社ディスコ
加工装置
3日前
株式会社ディスコ
加工方法
8日前
株式会社ディスコ
加工装置
10日前
株式会社ディスコ
研削装置
1日前
株式会社ディスコ
加工装置
10日前
株式会社ディスコ
処理装置
1日前
株式会社ディスコ
加工装置
11日前
株式会社ディスコ
切削装置
11日前
株式会社ディスコ
搬送システム
1日前
株式会社ディスコ
搬送システム
9日前
株式会社ディスコ
搬送システム
8日前
株式会社ディスコ
液状樹脂供給装置
9日前
株式会社ディスコ
保護部材形成装置
8日前
株式会社ディスコ
配線引き抜き治具
1日前
株式会社ディスコ
保護部材形成装置
10日前
株式会社ディスコ
抗折強度測定装置
1日前
株式会社ディスコ
被加工物の処理装置
10日前
株式会社ディスコ
ウエーハの加工方法
2日前
株式会社ディスコ
ウェーハの分割方法
2日前
株式会社ディスコ
ウエーハの加工装置
8日前
株式会社ディスコ
加工装置及び支持柱
2日前
株式会社ディスコ
カーフチェック方法
2日前
株式会社ディスコ
伸縮防水カバー、処理装置
11日前
株式会社ディスコ
切削方法及びチップの製造方法
4日前
株式会社ディスコ
貼り合わせウェーハの加工方法
1日前
株式会社ディスコ
ウェーハの研削方法及び研削装置
2日前
株式会社ディスコ
加工装置及び半導体装置の製造方法
2日前
株式会社ディスコ
保護層の形成方法及び被加工物の加工方法
8日前
株式会社ディスコ
保護層の形成方法及び被加工物の加工方法
8日前
株式会社ディスコ
保護部材形成装置、及び保護部材の形成方法
11日前
株式会社ディスコ
搬送方法、搬送装置、加工方法、及び、加工装置
9日前
株式会社ディスコ
隔壁の内壁面の構造、及び、それを備える加工装置
10日前
株式会社ディスコ
複合ウェーハの研削方法、および、チップオンウェーハの研削方法
1日前
株式会社ディスコ
ドレッシングツール、保持テーブル、加工装置、及び、ドレッシング方法
15日前
個人
包丁研ぎ器具
2か月前
続きを見る
他の特許を見る