TOP
|
特許
|
意匠
|
商標
特許ウォッチ
Twitter
他の特許を見る
10個以上の画像は省略されています。
公開番号
2025157905
公報種別
公開特許公報(A)
公開日
2025-10-16
出願番号
2024060258
出願日
2024-04-03
発明の名称
搬送方法、搬送装置、加工方法、及び、加工装置
出願人
株式会社ディスコ
代理人
個人
主分類
H01L
21/677 20060101AFI20251008BHJP(基本的電気素子)
要約
【課題】ガイドレールに搬送される前に被搬送物の角度を理想的な角度に修正することができ、環状フレームやガイドレールの損傷、更には、引掻きによる環状フレームやガイドレールからの異物(金属粉)の発生を防ぐ搬送方法及び搬送装置を提供する。
【解決手段】Y軸方向に伸びる一対のガイドレール51に対し、被搬送物(フレームユニットU)を搬送装置(第一搬送機構61)で搬送する搬送方法であって、該搬送装置はY軸方向と直交するX軸方向に伸びる接触部61mを有し、接触部で被搬送物の第一の端面Faを押圧し、第一の端面をX軸方向と平行にするように角度決めする角度規定ステップと、角度規定ステップの後に搬送装置にて被搬送物をY軸方向に引き出して一対のガイドレールに載置する搬出ステップと、を有する、搬送方法とする。
【選択図】図7
特許請求の範囲
【請求項1】
第一方向に伸びる一対のガイドレールに対し、被搬送物を搬送装置にて搬送する搬送方法であって、
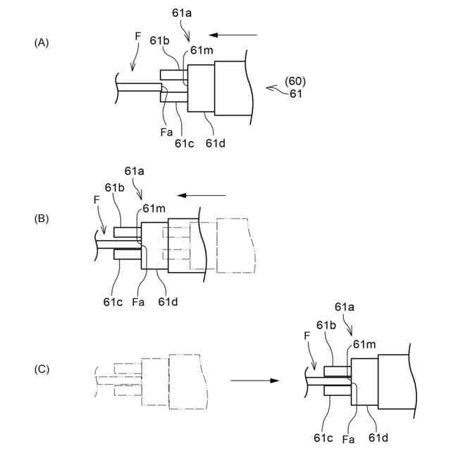
該搬送装置は該第一方向と直交する該第二方向に伸びる接触部を有し、該接触部で該被搬送物の第一の端面を押圧し、該第一の端面を該第二方向と平行にするように角度決めする角度規定ステップと、
該角度規定ステップの後に該搬送装置にて該被搬送物を該第一方向に引き出して該一対のガイドレールに載置する搬出ステップと、を有する、搬送方法。
続きを表示(約 1,500 文字)
【請求項2】
該角度規定ステップの前に、該搬送装置にて該被搬送物を該第一方向に引き出す事前引き出しステップ、を更に有する、
ことを特徴とする請求項1に記載の搬送方法。
【請求項3】
第一方向に伸びる一対のガイドレールに対し、被搬送物を第一方向に搬送するための搬送装置であって、
該搬送装置は、該第一方向と直交する該第二方向に伸びる接触部と、
該被搬送物を挟持するクランプ機構と、
該クランプ機構を該第一方向に移動させる移動機構と、を有し、
該接触部で該被搬送物の第一の端面を押圧し、該第一の端面を該第二方向と平行にするように角度決めする角度規定ステップを実施し、
該角度規定ステップの後に該クランプ機構にて該被搬送物を挟持するとともに、該移動機構にて該第一方向に引き出して該一対のガイドレールに載置する搬出ステップを実施する、搬送装置。
【請求項4】
該角度規定ステップの前に、該搬送装置にて該被搬送物を該第一方向に引き出す事前引き出しステップを実施する、
ことを特徴とする請求項3に記載の搬送装置。
【請求項5】
第一方向と直交する第二方向に伸長する接触部を有した搬送装置と、第一の端面を有した被搬送物と、を準備する準備ステップと、
該接触部で該被搬送物の該第一の端面を押圧して該第一の端面を該第二方向と平行にするように角度決めする角度規定ステップと、
該角度規定ステップの後に該搬送装置で該第一方向に該被搬送物を引き出して一対のガイドレールに載置する搬出ステップと、
該一対のガイドレールから該被搬送物を保持テーブルへと搬送する搬送ステップと、
該保持テーブルで保持された該被搬送物に加工を施す加工ステップと、を備えた加工方法。
【請求項6】
該角度規定ステップの前に、該搬送装置にて該被搬送物を該第一方向に引き出す事前引き出しステップを実施する、
ことを特徴とする請求項5に記載の加工方法。
【請求項7】
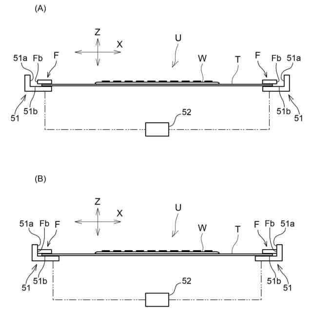
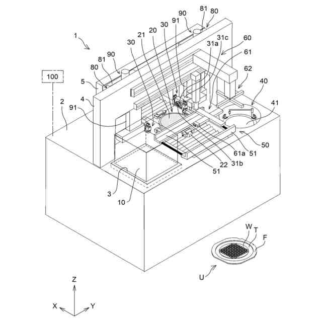
被搬送物を複数収容するカセットが載置され、該被搬送物を一対のガイドレールの高さと同一高さに位置づけるように構成されるカセット載置台と、
該一対のガイドレールを有し、該一対のガイドレールを該被搬送物の第二の端面に当接させることで、該被搬送物を規定の角度に調整する仮置き機構と、
該被搬送物を該一対のガイドレールの上に載置するように該仮置き機構に搬出し、該仮置き機構で角度を調整された該被搬送物を保持テーブル上に搬送する搬送装置と、
該保持テーブルにて保持された該被搬送物を加工する加工ユニットと、
コントローラと、
を有する加工装置であって、
該搬送装置は、該第一方向と直交する該第二方向に伸びる接触部と、
該被搬送物を挟持するクランプ機構と、
該クランプ機構を該第一方向に移動させる移動機構と、を有し、
該コントローラは、
該接触部で該被搬送物の第一の端面を押圧し、該第一の端面を該第二方向と平行にするように角度決めする角度規定ステップを実施し、
該角度規定ステップの後に該クランプ機構にて該被搬送物を挟持するとともに、該移動機構にて該第一方向に引き出して一対のガイドレールに載置する搬出ステップを実施する、
加工装置。
【請求項8】
該コントローラは、
該角度規定ステップの前に、該搬送装置にて該被搬送物を該第一方向に引き出す事前引き出しステップを実施する、
ことを特徴とする請求項7に記載の加工装置。
発明の詳細な説明
【技術分野】
【0001】
本発明は、被加工物を備える被搬送物を搬送する搬送方法に関する。
続きを表示(約 1,200 文字)
【背景技術】
【0002】
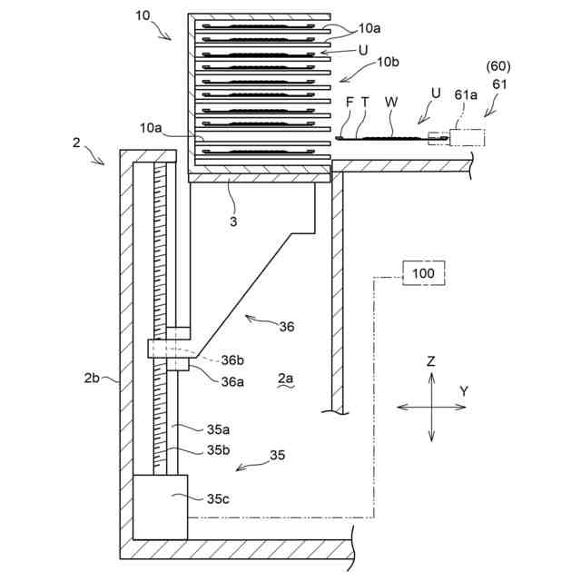
従来、例えば特許文献1に開示されるように、被加工物である半導体ウェーハと、環状フレームとをテープに貼着して一体化してフレームユニットを構成し、フレームユニットを被搬送物としてハンドリングし、分割予定ラインに沿って半導体ウェーハを切削加工をすることでチップに分割する加工装置が知られている。
【0003】
この種類の加工装置では、複数のフレームユニットを収容するカセットから一つのフレームユニットを水平に引き出して搬出し、一対のガイドレールを備える仮置き機構に載置してセンタリングし(中心合わせ)、その後、保持テーブルにフレームユニットを搬送する構成としている。
【先行技術文献】
【特許文献】
【0004】
特開2021-178389号公報
【発明の概要】
【発明が解決しようとする課題】
【0005】
カセット内には複数段の棚が形成され、各棚にそれぞれフレームユニットが載置されるものであるが、フレームユニットの角度によっては、フレームユニットを引き出してガイドレールに移送する際に、環状フレームの側面がガイドレールに干渉したり、ガイドレールのガイド面を引っ掻くようにして削ってしまう不具合が生じる恐れがある。
【0006】
そして、この不具合により、環状フレームやガイドレールの損傷、更には、引掻きによる環状フレームやガイドレールからの異物(金属粉)の発生が懸念される。特に異物については、半導体ウェーハの表面に付着してデバイスを損傷させることや、環状フレームに付着したままカセットに収容されて後の工程に引き継いでしまうなど、汚染源として大きな影響を及ぼすものとなる。
【0007】
さらに、別の課題として、カセット内の棚に載置された環状フレームユニットの角度が傾いている場合には、フレームの側面がカセットの内壁面に干渉し、引っ掻くことで、カセット側を損傷させてしまう恐れもある。
【0008】
本発明は以上の課題に鑑み、一対のガイドレールへの被搬送物の搬送に関する新規な技術を提供するものである。
【課題を解決するための手段】
【0009】
本発明の解決しようとする課題は以上の如くであり、次にこの課題を解決するための機構を説明する。
【0010】
本発明の一態様によれば、第一方向に伸びる一対のガイドレールに対し、被搬送物を搬送装置にて搬送する搬送方法であって、該搬送装置は該第一方向と直交する該第二方向に伸びる接触部を有し、該接触部で該被搬送物の第一の端面を押圧し、該第一の端面を該第二方向と平行にするように角度決めする角度規定ステップと、該角度規定ステップの後に該搬送装置にて該被搬送物を該第一方向に引き出して該一対のガイドレールに載置する搬出ステップと、を有する、搬送方法とする。
(【0011】以降は省略されています)
この特許をJ-PlatPat(特許庁公式サイト)で参照する
関連特許
株式会社ディスコ
加工方法
1日前
株式会社ディスコ
加工装置
4日前
株式会社ディスコ
研磨装置
16日前
株式会社ディスコ
研削装置
15日前
株式会社ディスコ
加工方法
11日前
株式会社ディスコ
加工装置
9日前
株式会社ディスコ
加工装置
3日前
株式会社ディスコ
加工装置
3日前
株式会社ディスコ
加工装置
9日前
株式会社ディスコ
切削装置
4日前
株式会社ディスコ
搬送システム
1日前
株式会社ディスコ
搬送システム
15日前
株式会社ディスコ
搬送システム
2日前
株式会社ディスコ
ノズルユニット
19日前
株式会社ディスコ
液状樹脂供給装置
2日前
株式会社ディスコ
保護部材形成装置
3日前
株式会社ディスコ
保護部材形成装置
1日前
株式会社ディスコ
ブレーキング装置
15日前
株式会社ディスコ
被加工物の処理装置
3日前
株式会社ディスコ
ウエーハの加工装置
1日前
株式会社ディスコ
洗浄装置及び洗浄方法
16日前
株式会社ディスコ
搬出装置及び切削装置
8日前
株式会社ディスコ
検出方法及び処理装置
8日前
株式会社ディスコ
搬送機構および搬送方法
16日前
株式会社ディスコ
伸縮防水カバー、処理装置
4日前
株式会社ディスコ
窒化ガリウム基板の製造方法
11日前
株式会社ディスコ
試験装置、試験片の試験方法
19日前
株式会社ディスコ
チャックテーブルの整形方法
10日前
株式会社ディスコ
保護シート、及びシート配設方法
15日前
株式会社ディスコ
板状ワークの研削方法及び研削装置
11日前
株式会社ディスコ
保護層の形成方法及び被加工物の加工方法
1日前
株式会社ディスコ
保護層の形成方法及び被加工物の加工方法
1日前
株式会社ディスコ
保護部材形成装置、及び保護部材の形成方法
4日前
株式会社ディスコ
ウエーハの処理方法及びウエーハの処理装置
17日前
株式会社ディスコ
搬送方法、搬送装置、加工方法、及び、加工装置
2日前
株式会社ディスコ
隔壁の内壁面の構造、及び、それを備える加工装置
3日前
続きを見る
他の特許を見る