TOP
|
特許
|
意匠
|
商標
特許ウォッチ
Twitter
他の特許を見る
公開番号
2025141269
公報種別
公開特許公報(A)
公開日
2025-09-29
出願番号
2024041136
出願日
2024-03-15
発明の名称
試験装置、試験片の試験方法
出願人
株式会社ディスコ
代理人
個人
,
個人
,
個人
,
個人
,
個人
,
個人
主分類
G01N
3/00 20060101AFI20250919BHJP(測定;試験)
要約
【課題】試験片の抗折強度を高精度に導出する。
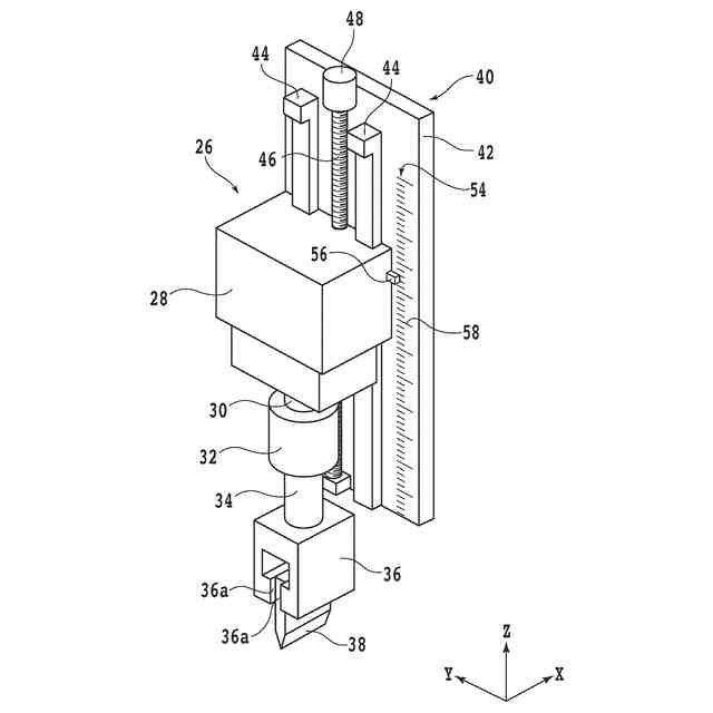
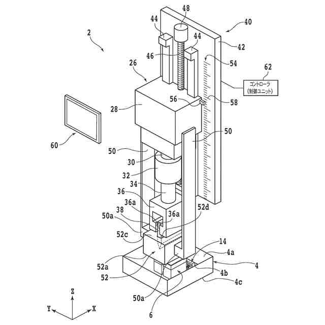
【解決手段】試験片の破壊試験を実施する試験装置であって、該試験片の下面を支持する一対の支持部を有する支持台と、該支持台で支持された該試験片を上方から押圧する圧子と、該支持台または該圧子にかかる荷重を測定する荷重測定器と、該圧子を該支持台で支持された該試験片に対して近接および離間させる移動ユニットと、コントローラと、を備え、該コントローラは、該支持台で支持された該試験片を該圧子が上方から押圧することによって該試験片を破壊する試験をした際に該荷重測定器で測定された該支持台または該圧子にかかる荷重を記憶する荷重記憶部と、該試験の実施時に該支持台で支持された該試験片に該圧子が接触することによって該荷重測定器にしきい値以上の荷重が検出された際の該圧子の高さに基づいて該支持台の上端と該圧子の下端との上下方向における距離を算出し、該距離を記憶する距離記憶部と、を含む。
【選択図】図7
特許請求の範囲
【請求項1】
板状の試験片の破壊試験を実施する試験装置であって、
該試験片の下面を支持する一対の支持部を有する支持台と、
該支持台で支持された該試験片を上方から押圧する圧子と、
該支持台または該圧子にかかる荷重を測定する荷重測定器と、
該圧子を該支持台で支持された該試験片に対して近接および離間させる移動ユニットと、
コントローラと、を備え、
該コントローラは、
該支持台で支持された該試験片を該移動ユニットにより移動する該圧子が上方から押圧することによって該試験片を破壊する試験をした際に該荷重測定器で測定された該支持台または該圧子にかかる荷重を記憶する荷重記憶部と、
該試験の実施時に該支持台で支持された該試験片に該圧子が接触することによって該荷重測定器にしきい値以上の荷重が検出された際の該圧子の高さに基づいて該支持台の上端と該圧子の下端との上下方向における距離を算出し、該距離を記憶する距離記憶部と、を含むことを特徴とする試験装置。
続きを表示(約 1,500 文字)
【請求項2】
該コントローラは、
該試験片を破壊する該試験における異常の有無を該距離記憶部に記憶される該距離に基づいて判定する判定部と、
該判定部が該試験における異常の有無を判定する際に参照される判定条件を記憶する判定条件記憶部と、をさらに含むことを特徴とする請求項1に記載の試験装置。
【請求項3】
該判定部は、複数の該試験片に対する該試験の実施時にそれぞれ該距離記憶部に記憶された該距離の平均値を算出し、
該判定条件記憶部は、該平均値に基づいて該距離の許容範囲を定めるための設定手法を該判定条件として記憶し、
該判定部は、該判定条件記憶部に記憶された該平均値及び該設定手法により該許容範囲を定め、判定対象となる該試験において該距離記憶部に記憶された該距離が該許容範囲にあるか否かに基づいて該試験における異常の有無を判定することを特徴とする請求項2記載の試験装置。
【請求項4】
該判定条件記憶部は、該距離の許容範囲を該判定条件として記憶し、
該判定部は、判定対象となる該試験において該距離記憶部に記憶された該距離が該許容範囲にあるか否かに基づいて該試験における異常の有無を判定することを特徴とする請求項2記載の試験装置。
【請求項5】
該コントローラは、該荷重記憶部に記憶された該荷重と、該距離記憶部に記憶された該距離と、を参照して該試験片の抗折強度を算出することを特徴とする請求項1から請求項4のいずれかに記載の試験装置。
【請求項6】
板状の試験片の下面を支持する一対の支持部を有する支持台と、該支持台で支持された該試験片を上方から押圧する圧子と、該支持台または該圧子にかかる荷重を測定する荷重測定器と、該圧子を該支持台で支持された該試験片に対して近接および離間させる移動ユニットと、を備えた試験装置を用いて該試験片の破壊試験を実施する試験方法であって、
該支持台に該試験片を載置する載置ステップと、
該載置ステップの後に、該移動ユニットによって該圧子を該支持台に接近させ該圧子で該試験片を押圧して破壊しつつ該荷重測定器で該支持台または該圧子にかかる荷重を測定する試験を実施する試験片破壊ステップと、
該試験片破壊ステップにおいて測定した該荷重と、該試験片に該圧子が接触することによって該荷重測定器にしきい値以上の荷重が検出された際の該圧子の高さに基づいて算出される該支持台の上端と該圧子の下端との上下方向における距離と、を記録する記録ステップと、を備える試験片の試験方法。
【請求項7】
該記録ステップの後、該試験における異常の有無を該距離に基づいて判定する判定ステップをさらに備えることを特徴とする請求項6に記載の試験片の試験方法。
【請求項8】
該判定ステップでは、複数の該試験片に対する該試験の実施時にそれぞれ記録された該距離から算出された平均値に基づいて定められた許容範囲に判定対象となる該試験において記録された該距離があるか否かに基づいて該試験における異常の有無を判定することを特徴とする請求項7記載の試験片の試験方法。
【請求項9】
該判定ステップでは、判定対象となる該試験において記録された該距離が許容範囲にあるか否かに基づいて該試験における異常の有無を判定することを特徴とする請求項7記載の試験片の試験方法。
【請求項10】
該記録ステップの後、該記録ステップで記録された該荷重と、該距離と、を参照して該試験片の抗折強度を算出する強度算出ステップをさらに備えることを特徴とする請求項6から請求項9のいずれかに記載の試験片の試験方法。
発明の詳細な説明
【技術分野】
【0001】
本発明は、デバイスチップ等の試験片の強度を測定する試験装置、及び試験片の試験方法に関する。
続きを表示(約 1,400 文字)
【背景技術】
【0002】
デバイスチップの製造工程では、互いに交差する複数の分割予定ライン(ストリート)によって区画されたウェーハの表面側の複数の領域に、それぞれ、IC(Integrated Circuit)、LSI(Large Scale Integration)等のデバイスが形成される。その後、ウェーハを薄化し分割予定ラインに沿って分割することにより、それぞれがデバイスを備える複数のデバイスチップが得られる。デバイスチップは、携帯端末、パーソナルコンピュータ等の電子機器に搭載される。
【0003】
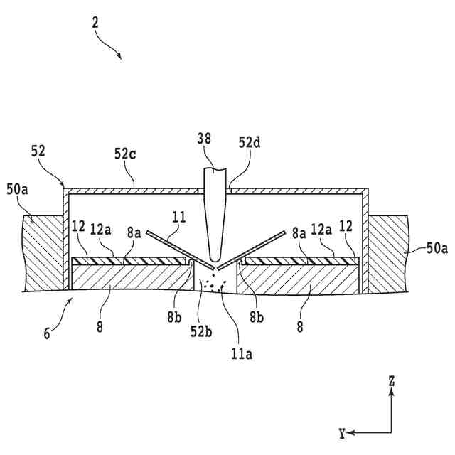
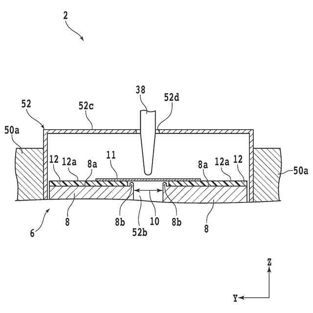
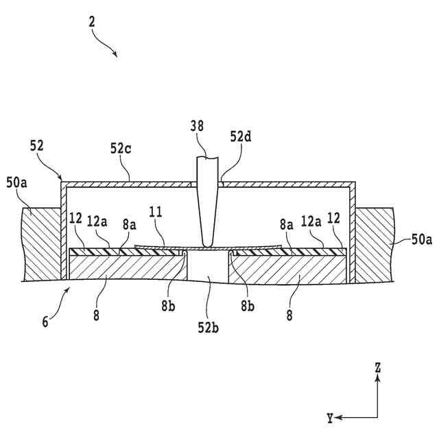
製造されるデバイスチップには、十分な機械的強度を有することが求められる。そこで、デバイスチップを試験片とした破壊試験が実施される。一般的には、SEMI規格G86-0303で規定された3点曲げ試験が広く実施されている。そして、この手法でチップを破壊してチップの抗折強度を算出する試験装置が提案されている(特許文献1参照)。
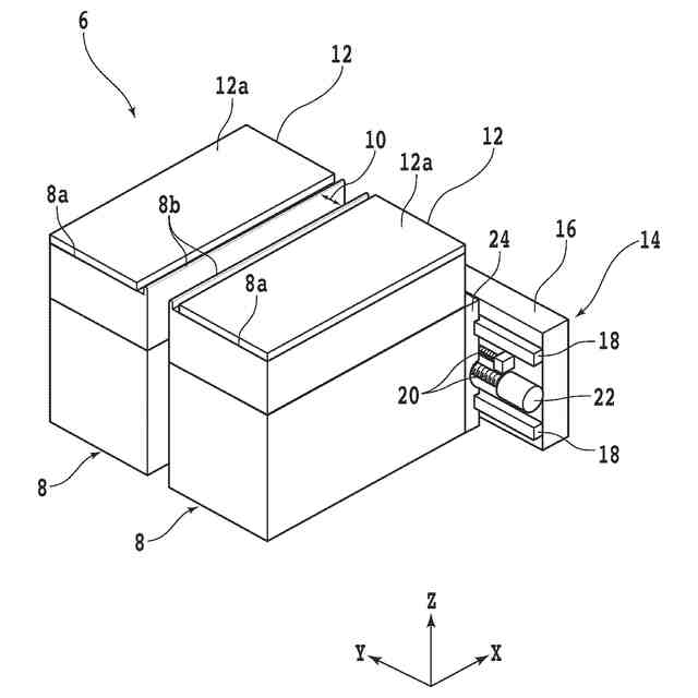
【0004】
試験装置は、試験片を2つの支点で支持する支持台と、支持台で支持された試験片を2つの支点の間で上方から押圧して破壊する圧子と、を有する。圧子で押圧された試験片が破壊される際に圧子にかかる荷重の値等から、試験片の抗折強度が算出される。抗折強度の算出に利用されるパラメータには、この荷重値の他に2つの支点間の距離、試験片の厚み等が挙げられる。
【先行技術文献】
【特許文献】
【0005】
特開2020-190449号公報
【発明の概要】
【発明が解決しようとする課題】
【0006】
試験片の抗折強度を精密に算出するには、各試験片の厚みを試験片が破壊される前に計測する必要がある。しかしながら、試験片の厚みの測定時に作業者が試験片に触れると、試験片に汚れが付着する場合や、試験片の性質が僅かに変化する場合がある。また、すべての試験片の厚みを測定する作業自体に膨大な時間と手間が掛かる。
【0007】
試験装置にカメラ等の機器を組み込み、各試験片の厚みをこの機器で検出する方法も考えられる。しかしながら、機器を組み込むと試験装置のコストが上がるだけでなく、機器の動作で生じた熱や振動が試験に悪影響を与える場合がある。そこで、各試験片の厚みの実測値ではなく仕様上の試験片の厚みを利用して試験片の抗折強度が算出することが考えられる。
【0008】
しかしながら、各試験片の実際の厚みには仕様からの誤差が生じるため、仕様上の厚みを基に算出された抗折強度の値は、この誤差が反映されないものとなる。すなわち、この方法では各試験片の抗折強度を精密には算出できない。例えば、ウェーハの加工条件を選定する際に精密ではない抗折強度を参照してしまうと、最適な加工条件が選定されなくなるとの問題が生じる。
【0009】
また、試験装置で複数の試験片に対して次々に破壊試験を実施していると、破壊により生じた微細な破片等の異物が飛散して支持台や圧子に付着することがある。支持台や圧子に異物が付着した状態で試験片の破壊試験を実施した場合、算出された抗折強度の値は、より一層正確性に欠けたものとなる。
【0010】
よって、本発明の目的は、試験片の抗折強度を高精度に導出できる試験装置、及び、試験方法を提供することである。
【課題を解決するための手段】
(【0011】以降は省略されています)
この特許をJ-PlatPat(特許庁公式サイト)で参照する
関連特許
株式会社ディスコ
ノズル
13日前
株式会社ディスコ
加工装置
15日前
株式会社ディスコ
加工装置
13日前
株式会社ディスコ
切削装置
13日前
株式会社ディスコ
研削装置
29日前
株式会社ディスコ
切削装置
6日前
株式会社ディスコ
フレーム
13日前
株式会社ディスコ
加工装置
1か月前
株式会社ディスコ
加工装置
22日前
株式会社ディスコ
診断方法
3日前
株式会社ディスコ
加工装置
1か月前
株式会社ディスコ
加工方法
14日前
株式会社ディスコ
研磨装置
今日
株式会社ディスコ
加工水供給装置
6日前
株式会社ディスコ
ノズルユニット
3日前
株式会社ディスコ
シート貼着装置
14日前
株式会社ディスコ
液体供給システム
13日前
株式会社ディスコ
接合強度検査方法
23日前
株式会社ディスコ
チャックテーブル
23日前
株式会社ディスコ
ドレッシング方法
27日前
株式会社ディスコ
切削ブレード治具
3日前
株式会社ディスコ
ドレッシング方法
1か月前
株式会社ディスコ
ウエーハの加工方法
24日前
株式会社ディスコ
洗浄液供給システム
23日前
株式会社ディスコ
被加工物の加工方法
13日前
株式会社ディスコ
ウェーハの製造方法
21日前
株式会社ディスコ
被加工物の加工方法
21日前
株式会社ディスコ
ウエーハの加工装置
1か月前
株式会社ディスコ
洗浄装置及び洗浄方法
27日前
株式会社ディスコ
測定方法及び測定治具
29日前
株式会社ディスコ
洗浄装置及び洗浄方法
今日
株式会社ディスコ
切削方法及び切削装置
21日前
株式会社ディスコ
搬送機構および搬送方法
今日
株式会社ディスコ
押圧試験装置の評価方法
13日前
株式会社ディスコ
積層ウェーハの加工方法
3日前
株式会社ディスコ
切削ブレードのドレス方法
21日前
続きを見る
他の特許を見る