TOP
|
特許
|
意匠
|
商標
特許ウォッチ
Twitter
他の特許を見る
10個以上の画像は省略されています。
公開番号
2025136666
公報種別
公開特許公報(A)
公開日
2025-09-19
出願番号
2024035405
出願日
2024-03-07
発明の名称
ノズル
出願人
株式会社ディスコ
代理人
弁理士法人酒井国際特許事務所
主分類
H01L
21/304 20060101AFI20250911BHJP(基本的電気素子)
要約
【課題】液体と気体とからなる混合流体を噴出して二流体洗浄を行う際に、静電気の発生を低減ないし抑制可能なノズルを提供すること。
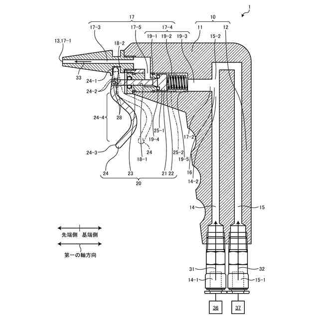
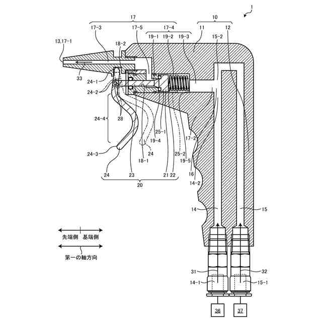
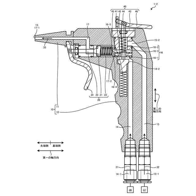
【解決手段】液体31と気体32との混合流体33を噴出可能なノズル1であって、液体31の供給源と接続される液体流路14と、気体32の供給源と接続される気体流路15と、混合流体33を噴出可能な噴出口13と、液体流路14と気体流路15とが合流する合流部16と、噴出口13と、を接続する噴出流路17と、噴出流路17内に、噴出口13へ至る混合流体33の量を調整可能な弁体21と、噴出流路17内に、気体32と液体31の混合を促進する混合促進部として機能する弁体付勢部22と、を備える。
【選択図】図1
特許請求の範囲
【請求項1】
液体と気体との混合流体を噴出可能なノズルであって、
該液体の供給源と接続される液体流路と、
該気体の供給源と接続される気体流路と、
該混合流体を噴出可能な噴出口と、
該液体流路と該気体流路とが合流する合流部と、該噴出口と、を接続する噴出流路と、
該噴出流路内に、該噴出口へ至る該混合流体の量を調整可能な弁体と、
該噴出流路内に、該気体と該液体の混合を促進する混合促進部と、を備えるノズル。
続きを表示(約 350 文字)
【請求項2】
該弁体は、該噴出流路の軸方向において、該噴出口から該混合流体を噴出しない状態とする噴出停止位置と、該噴出口から噴出される該混合流体の量を最大とする最大噴出位置と、の間を移動可能なように該噴出流路内に配設され、
弾性体であり、伸縮方向が該噴出流路の軸方向に沿うように該噴出流路内に配設され、該弁体を該噴出停止位置へと付勢する弁体付勢部をさらに備え、
該弁体付勢部はコイルバネを含み、該伸縮方向においてコイルの内周径が異なる複数の領域を有することで、該気体と該液体の混合を促進し、該混合促進部としても機能する、請求項1に記載のノズル。
【請求項3】
該液体は純水であり、該気体は二酸化炭素を含む気体である、請求項1または請求項2に記載のノズル。
発明の詳細な説明
【技術分野】
【0001】
本発明は、液体と気体との混合流体を噴出可能なノズルに関する。
続きを表示(約 1,600 文字)
【背景技術】
【0002】
半導体ウエーハを切削したり研削したりする際には、加工屑が発生し半導体ウエーハの表面に付着することがある。半導体ウエーハを加工する加工装置には、加工時に発生した加工屑を洗浄するために特許文献1に開示されているような洗浄ノズルが備え付けられている。この洗浄ノズルは、液体と気体とからなる混合流体を噴出し、所謂二流体洗浄を行うため、洗浄力が高い。
【先行技術文献】
【特許文献】
【0003】
特開2012-040453号公報
【発明の概要】
【発明が解決しようとする課題】
【0004】
しかしながら、特許文献1のような二流体洗浄ノズルにおいては、液体と気体との摩擦によって静電気が発生し、被洗浄物である半導体ウエーハが帯電することで品質の低下をもたらしたり、洗浄ノズル本体が帯電することで作業の妨げとなったりする恐れがあった。
【0005】
本発明は、かかる問題点に鑑みてなされたものであり、その目的は、液体と気体とからなる混合流体を噴出して二流体洗浄を行う際に、静電気の発生を低減ないし抑制可能なノズルを提供することである。
【課題を解決するための手段】
【0006】
上述した課題を解決し、目的を達成するために、本発明のノズルは、液体と気体との混合流体を噴出可能なノズルであって、該液体の供給源と接続される液体流路と、該気体の供給源と接続される気体流路と、該混合流体を噴出可能な噴出口と、該液体流路と該気体流路とが合流する合流部と、該噴出口と、を接続する噴出流路と、該噴出流路内に、該噴出口へ至る該混合流体の量を調整可能な弁体と、該噴出流路内に、該気体と該液体の混合を促進する混合促進部と、を備える。
【0007】
該弁体は、該噴出流路の軸方向において、該噴出口から該混合流体を噴出しない状態とする噴出停止位置と、該噴出口から噴出される該混合流体の量を最大とする最大噴出位置と、の間を移動可能なように該噴出流路内に配設され、弾性体であり、伸縮方向が該噴出流路の軸方向に沿うように該噴出流路内に配設され、該弁体を該噴出停止位置へと付勢する弁体付勢部をさらに備え、該弁体付勢部はコイルバネを含み、該伸縮方向においてコイルの内周径が異なる複数の領域を有することで、該気体と該液体の混合を促進し、該混合促進部としても機能してもよい。
【0008】
該液体は純水であり、該気体は二酸化炭素を含む気体であってもよい。
【発明の効果】
【0009】
本発明は、液体と気体とが合流部で合流した後に通過する噴出流路内に、混合促進部を備えるので、混合促進部により液体と気体との混合を促進することにより液体(混合流体)の電気抵抗率を低下させ、混合流体を形成する際に液体と気体との摩擦による静電気の発生を低減ないし抑制できる。
【図面の簡単な説明】
【0010】
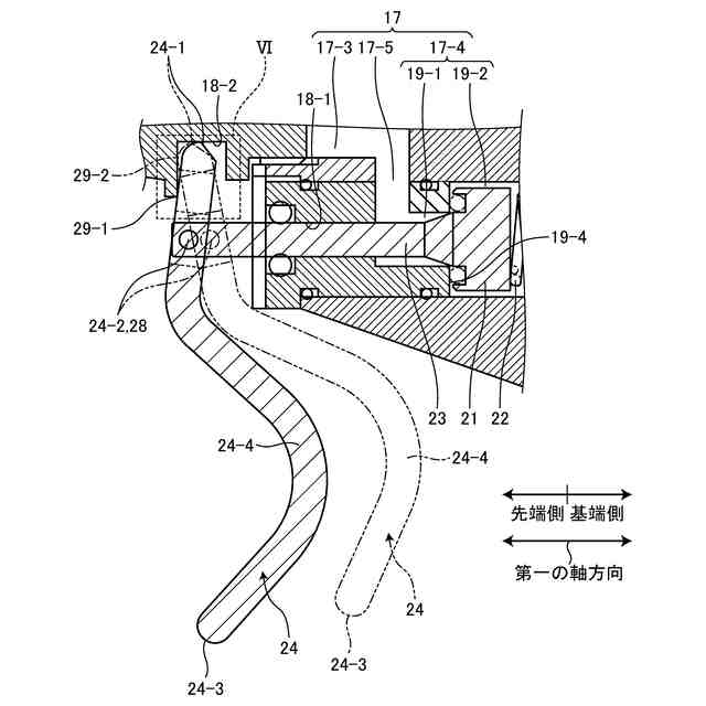
図1は、実施形態に係るノズルの構成例を示す断面図である。
図2は、図1のノズルの弁体付勢部の第1例を示す図である。
図3は、図1のノズルの弁体付勢部の第2例を示す図である。
図4は、図2及び図3の弁体付勢部を説明する説明図である。
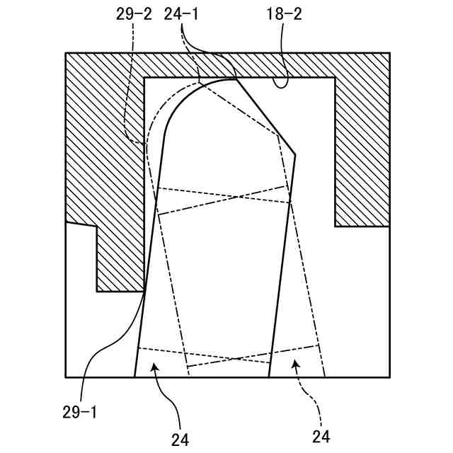
図5は、図1のノズルの引き金を説明する断面図である。
図6は、図1のノズルの引き金を説明する断面図である。
図7は、変形例に係るノズルの構成例の第1状態を示す断面図である。
図8は、変形例に係るノズルの構成例の第2状態を示す断面図である。
図9は、変形例に係るノズルの構成例の第3状態を示す断面図である。
【発明を実施するための形態】
(【0011】以降は省略されています)
特許ウォッチbot のツイートを見る
この特許をJ-PlatPat(特許庁公式サイト)で参照する
関連特許
株式会社ディスコ
加工装置
4日前
株式会社ディスコ
スピンドルユニット
4日前
株式会社ディスコ
シリアル接続システム
4日前
株式会社ディスコ
支持部材及び処理対象物の処理方法
4日前
株式会社ディスコ
切削装置、及び被加工物の切削方法
4日前
株式会社ディスコ
パッケージデバイスチップの製造方法
4日前
APB株式会社
蓄電セル
18日前
東ソー株式会社
絶縁電線
20日前
個人
フレキシブル電気化学素子
1か月前
日新イオン機器株式会社
イオン源
28日前
株式会社東芝
端子台
12日前
株式会社ユーシン
操作装置
1か月前
マクセル株式会社
電源装置
12日前
ローム株式会社
半導体装置
19日前
株式会社GSユアサ
蓄電設備
1か月前
株式会社GSユアサ
蓄電装置
5日前
株式会社GSユアサ
蓄電設備
1か月前
株式会社ホロン
冷陰極電子源
26日前
太陽誘電株式会社
コイル部品
1か月前
株式会社GSユアサ
蓄電装置
13日前
株式会社GSユアサ
蓄電装置
13日前
オムロン株式会社
電磁継電器
1か月前
日本特殊陶業株式会社
保持装置
4日前
トヨタ自動車株式会社
蓄電装置
1か月前
ノリタケ株式会社
熱伝導シート
1か月前
トヨタ自動車株式会社
バッテリ
1か月前
日東電工株式会社
積層体
1か月前
トヨタ自動車株式会社
バッテリ
18日前
日本特殊陶業株式会社
保持装置
21日前
トヨタ自動車株式会社
冷却構造
20日前
トヨタ自動車株式会社
蓄電装置
13日前
サクサ株式会社
電池の固定構造
1か月前
北道電設株式会社
配電具カバー
18日前
日新イオン機器株式会社
基板処理装置
15日前
ローム株式会社
半導体装置
1か月前
日本無線株式会社
レーダアンテナ
6日前
続きを見る
他の特許を見る