TOP
|
特許
|
意匠
|
商標
特許ウォッチ
Twitter
他の特許を見る
10個以上の画像は省略されています。
公開番号
2025168257
公報種別
公開特許公報(A)
公開日
2025-11-07
出願番号
2025061834
出願日
2025-04-03
発明の名称
パッケージデバイスチップの製造方法
出願人
株式会社ディスコ
代理人
インフォート弁理士法人
主分類
H01L
21/301 20060101AFI20251030BHJP(基本的電気素子)
要約
【課題】凹部を備えたパッケージ基板において、バリの発生を抑制することができるパッケージデバイスチップの製造方法を提供する。
【解決手段】パッケージデバイスチップ30を製造する製造方法であって、リードフレーム3は、支持部7と、電極部34と、を有し、電極部34は、リードフレーム3の第二面15側に開口し分割予定ライン6と重なる領域RAに形成された凹部60を含み、支持部7に配置されたデバイスチップ8と、電極部34と、をモールド樹脂12で封止しパッケージ基板1を形成するパッケージ基板形成ステップと、凹部60をモールド樹脂12で被覆する凹部被覆ステップと、分割予定ライン6に沿ってモールド樹脂12で被覆された凹部60を分割しパッケージデバイスチップ30を製造する分割ステップと、凹部60に被覆されたモールド樹脂12に高圧水70を噴射してモールド樹脂12を凹部60から除去する除去ステップと、を備える。
【選択図】図5
特許請求の範囲
【請求項1】
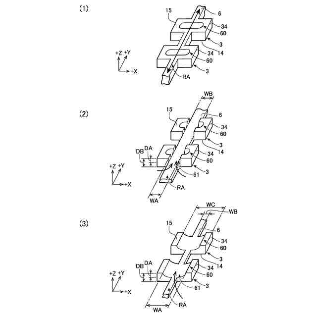
リードフレームに設置されたデバイスチップがモールド樹脂で封止されたパッケージ基板を分割予定ラインに沿って分割し、パッケージデバイスチップを製造する製造方法であって、
該リードフレームは、
第一面側に該デバイスチップを支持する複数の支持部と、
該支持部の外方に形成された複数の電極部と、を有し、
該電極部は、
該リードフレームの該第一面側と反対の第二面側に開口し、
該分割予定ラインと重なる領域に形成された凹部を含み、
該支持部に配置された該デバイスチップと、該電極部と、を該モールド樹脂で封止し、
該パッケージ基板を形成するパッケージ基板形成ステップと、
該凹部の少なくとも一部を被覆材で被覆する凹部被覆ステップと、
該分割予定ラインに沿って該被覆材で被覆された該凹部を含む領域を分割し、
該パッケージデバイスチップを製造する分割ステップと、
該凹部に被覆された該被覆材に高圧流体を噴射して該被覆材を該凹部から除去する除去ステップと、
を備えることを特徴とするパッケージデバイスチップの製造方法。
続きを表示(約 400 文字)
【請求項2】
該電極部は、
該第二面側に該凹部と連通し、該電極部のいずれかの側面に開口し、
該電極部を分割しない開口部を有し、
該凹部被覆ステップは、
該パッケージ基板形成ステップにおいて、
該開口部を介して該凹部に該モールド樹脂を流入させることで実施する
ことを特徴とする請求項1に記載のパッケージデバイスチップの製造方法。
【請求項3】
該分割ステップは、
該第二面側から該パッケージ基板を分割しない深さの第一加工溝を形成する第一分割ステップと、
該第一加工溝と連通し、該パッケージ基板を分割する第二加工溝を形成する第二分割ステップと、を有し、
該除去ステップは、該第一分割ステップと、該第二分割ステップと、の間に実施する
ことを特徴とする請求項1に記載のパッケージデバイスチップの製造方法。
発明の詳細な説明
【技術分野】
【0001】
本発明は、パッケージデバイスチップの製造方法に関する。
続きを表示(約 1,600 文字)
【背景技術】
【0002】
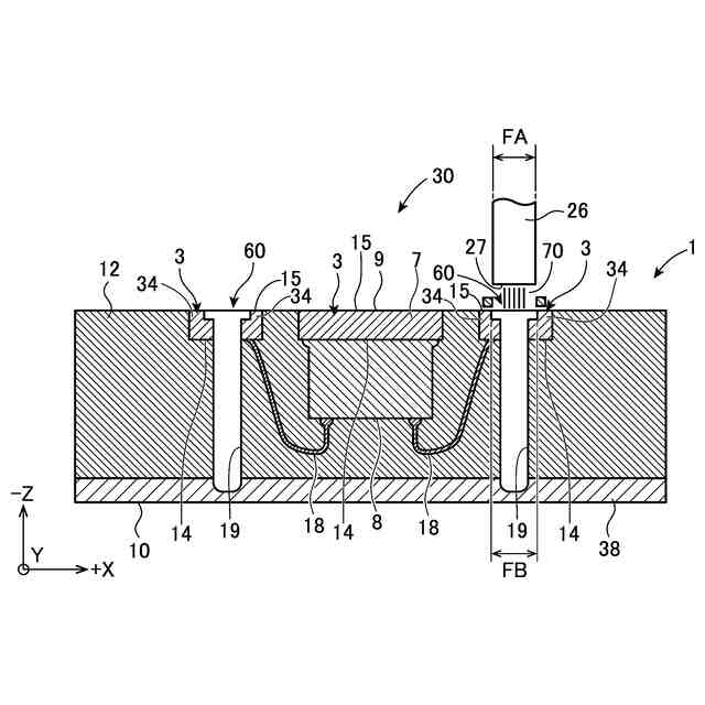
パッケージデバイスチップを製造するためのQFN(Quad Flat Non-leaded package)基板等のパッケージ基板の上面には、分割予定ラインに交差するように凹部(キャビティ)が形成されている。このようなパッケージ基板が切削ブレード等によって切削加工されると、凹部が分割予定ラインに沿って分断され、個々に分割されたチップの切断面(側面)に凹部が露出される。この結果、凹部のエッジ部分には、凹部の内側面に沿ってヒゲ状のバリが形成される。
【0003】
そこで、上記したパッケージ基板において、凹部に形成されたバリを高圧水によって除去する方法が提案されている(例えば、特許文献1参照)。
【先行技術文献】
【特許文献】
【0004】
特開2016-181569号公報
【発明の概要】
【発明が解決しようとする課題】
【0005】
しかしながら、特許文献1においては、バリを高圧水で除去することができるものの、バリの形成そのものを抑制することはできない。また、パッケージ基板が切削加工されることにより形成されるバリは金属製であり、さらに凹部の隙間は狭いため、形成されるバリを高圧水で除去することが難しい。このため、パッケージ基板を分割してパッケージデバイスチップを製造することが困難であるという問題があった。
【0006】
本発明はかかる点に鑑みてなされたものであり、凹部を備えたパッケージ基板において、バリの発生を抑制することができるパッケージデバイスチップの製造方法を提供することを目的とする。
【課題を解決するための手段】
【0007】
本発明の一態様は、リードフレームに設置されたデバイスチップがモールド樹脂で封止されたパッケージ基板を分割予定ラインに沿って分割し、パッケージデバイスチップを製造する製造方法であって、該リードフレームは、第一面側に該デバイスチップを支持する複数の支持部と、該支持部の外方に形成された複数の電極部と、を有し、該電極部は、該リードフレームの該第一面側と反対の第二面側に開口し、該分割予定ラインと重なる領域に形成された凹部を含み、該支持部に配置された該デバイスチップと、該電極部と、を該モールド樹脂で封止し、該パッケージ基板を形成するパッケージ基板形成ステップと、該凹部の少なくとも一部を被覆材で被覆する凹部被覆ステップと、該分割予定ラインに沿って該被覆材で被覆された該凹部を含む領域を分割し、該パッケージデバイスチップを製造する分割ステップと、該凹部に被覆された該被覆材に高圧流体を噴射して該被覆材を該凹部から除去する除去ステップと、を備えることを特徴とする。
【0008】
該電極部は、該第二面側に該凹部と連通し、該電極部のいずれかの側面に開口し、該電極部を分割しない開口部を有し、該凹部被覆ステップは、該パッケージ基板形成ステップにおいて、該開口部を介して該凹部に該モールド樹脂を流入させることで実施してもよい。
【0009】
該分割ステップは、該第二面側から該パッケージ基板を分割しない深さの第一加工溝を形成する第一分割ステップと、該第一加工溝と連通し、該パッケージ基板を分割する第二加工溝を形成する第二分割ステップと、を有し、該除去ステップは、該第一分割ステップと、該第二分割ステップと、の間に実施してもよい。
【発明の効果】
【0010】
本発明のパッケージデバイスチップの製造方法によれば、凹部を備えたパッケージ基板において、バリの発生を抑制することができる。
【図面の簡単な説明】
(【0011】以降は省略されています)
この特許をJ-PlatPat(特許庁公式サイト)で参照する
関連特許
株式会社ディスコ
焼成炉
18日前
株式会社ディスコ
切削装置
1か月前
株式会社ディスコ
加工方法
1か月前
株式会社ディスコ
加工装置
7日前
株式会社ディスコ
加工装置
20日前
株式会社ディスコ
加工方法
25日前
株式会社ディスコ
加工装置
1か月前
株式会社ディスコ
研磨装置
1か月前
株式会社ディスコ
加工装置
1か月前
株式会社ディスコ
処理装置
18日前
株式会社ディスコ
研削装置
18日前
株式会社ディスコ
研削装置
1か月前
株式会社ディスコ
切削装置
28日前
株式会社ディスコ
切削装置
13日前
株式会社ディスコ
診断方法
1か月前
株式会社ディスコ
加工装置
27日前
株式会社ディスコ
加工装置
4日前
株式会社ディスコ
加工装置
27日前
株式会社ディスコ
加工装置
28日前
株式会社ディスコ
加工装置
12日前
株式会社ディスコ
搬送システム
25日前
株式会社ディスコ
搬送システム
26日前
株式会社ディスコ
搬送システム
1か月前
株式会社ディスコ
搬送システム
18日前
株式会社ディスコ
シート固着装置
6日前
株式会社ディスコ
ノズルユニット
1か月前
株式会社ディスコ
加工水供給装置
1か月前
株式会社ディスコ
保護部材形成装置
25日前
株式会社ディスコ
液状樹脂供給装置
26日前
株式会社ディスコ
抗折強度測定装置
18日前
株式会社ディスコ
保護部材形成装置
27日前
株式会社ディスコ
加工室の洗浄方法
15日前
株式会社ディスコ
レーザー加工装置
6日前
株式会社ディスコ
切削ブレード治具
1か月前
株式会社ディスコ
ブレーキング装置
1か月前
株式会社ディスコ
配線引き抜き治具
18日前
続きを見る
他の特許を見る