TOP
|
特許
|
意匠
|
商標
特許ウォッチ
Twitter
他の特許を見る
10個以上の画像は省略されています。
公開番号
2025144355
公報種別
公開特許公報(A)
公開日
2025-10-02
出願番号
2024044096
出願日
2024-03-19
発明の名称
搬送機構および搬送方法
出願人
株式会社ディスコ
代理人
弁理士法人酒井国際特許事務所
主分類
H01L
21/677 20060101AFI20250925BHJP(基本的電気素子)
要約
【課題】エアの消費量を低減することができる搬送機構および搬送方法を提供すること。
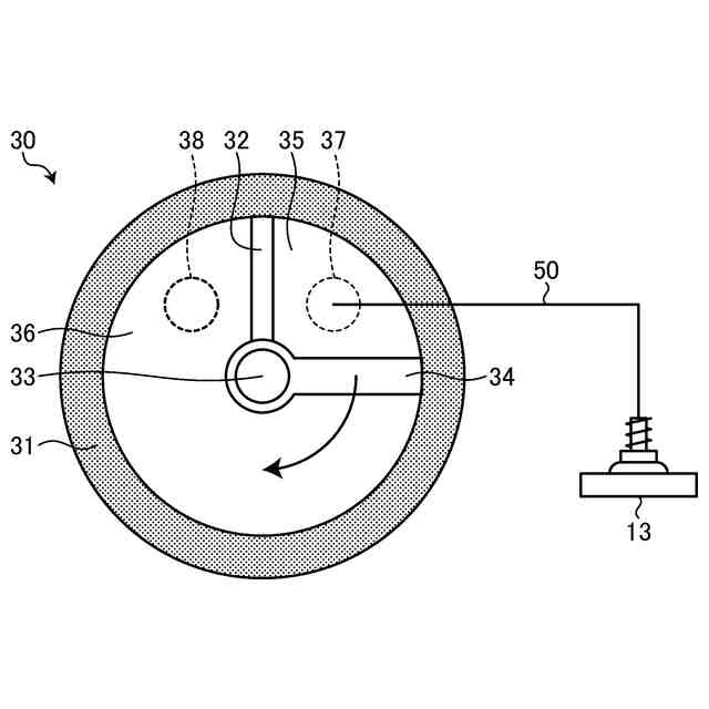
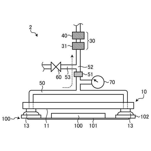
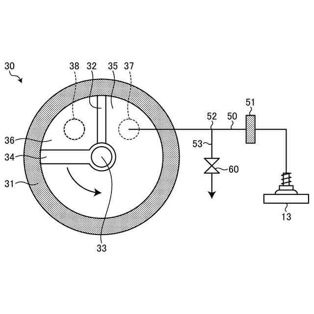
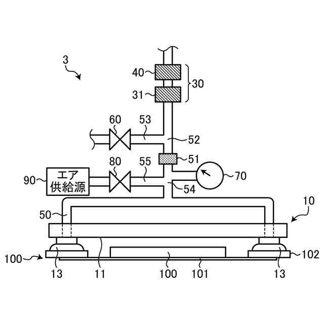
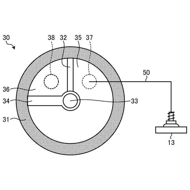
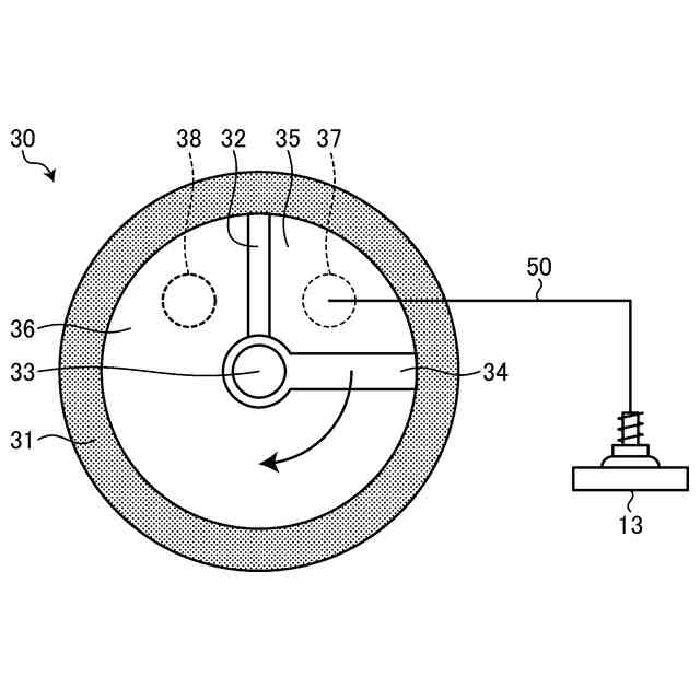
【解決手段】搬送機構は、被吸着部材を吸着パッド13で吸引保持して搬送する搬送機構であって、被吸着部材を吸引保持する吸着パッド13と、吸着パッド13を介して被吸着部材に負圧を発生させる真空発生ユニット30と、吸着パッド13により吸引保持された被吸着部材を所定の方向に移動させる移動ユニットと、を備え、真空発生ユニット30は、筐体31と、筐体31の内部を、吸着パッド13と連通する第一空間35と、第二空間36と、に区画する区画部材34と、区画部材34を移動させる駆動ユニットと、を有し、吸着パッド13を被吸着部材に当接させた状態で、第一空間35の体積が大きくなるように駆動ユニットが区画部材34を移動させることにより、吸着パッド13と被吸着部材との間の空間を減圧して被吸着部材を吸引保持する。
【選択図】図3
特許請求の範囲
【請求項1】
被吸着部材を吸着パッドで吸引保持して搬送する搬送機構であって、
該被吸着部材を吸引保持する吸着パッドと、
該吸着パッドを介して該被吸着部材に負圧を発生させる真空発生ユニットと、
該吸着パッドにより吸引保持された該被吸着部材を所定の方向に移動させる移動ユニットと、
を備え、
該真空発生ユニットは、
筐体と、
該筐体の内部を、該吸着パッドと連通する第一空間と、第二空間と、に区画する区画部材と、
該区画部材を移動させる駆動ユニットと、
を有し、
該吸着パッドを該被吸着部材に当接させた状態で、該第一空間の体積が大きくなるように該駆動ユニットが該区画部材を移動させることにより、該吸着パッドと該被吸着部材との間の空間を減圧して該被吸着部材を吸引保持する
ことを特徴とする、搬送機構。
続きを表示(約 990 文字)
【請求項2】
該吸着パッドと該真空発生ユニットとを接続する連通路上に配設された逆止弁と、
該連通路上における該真空発生ユニットと該逆止弁との間に形成された分岐部と、
該分岐部から分岐した分岐連通路上に配設され、開閉可能に構成された排気ユニットと、
を更に備え、
該吸着パッドで該被吸着部材を吸引保持した状態で、該排気ユニットを開状態にするとともに該区画部材を移動させて該真空発生ユニットの該第一空間を圧縮する圧縮動作と、
該圧縮動作を実施した後に、該排気ユニットを閉状態にするとともに該区画部材を移動させて該真空発生ユニットの該第一空間を膨張させる膨張動作と、
を実施する
ことを特徴とする、請求項1に記載の搬送機構。
【請求項3】
該吸着パッドと該逆止弁との間に、該吸着パッドによる該被吸着部材の吸引保持力を測定する測定器
を更に備え、
該測定器による測定値が所定の範囲外の値となった場合、該区画部材を移動させて該圧縮動作および該膨張動作を実施する
ことを特徴とする、請求項2に記載の搬送機構。
【請求項4】
該真空発生ユニットは、ロータリーシリンダを含む
ことを特徴とする、請求項1乃至3のいずれか1項に記載の搬送機構。
【請求項5】
被吸着部材を吸引保持する吸着パッドと、
該吸着パッドを介して該被吸着部材に負圧を発生させる真空発生ユニットと、
該吸着パッドにより吸引保持された該被吸着部材を所定の方向に移動させる移動ユニットと、
を備え、
該真空発生ユニットは、
筐体と、
該筐体の内部を、該吸着パッドと連通する第一空間と、第二空間と、に区画する区画部材と、
該区画部材を移動させる駆動ユニットと、
を有する、
搬送機構において、該被吸着部材を吸着パッドで吸引保持して搬送する搬送方法であって、
該吸着パッドを該被吸着部材に当接させた状態で、該第一空間の体積が大きくなるように該駆動ユニットが該区画部材を移動させることにより、該吸着パッドと該被吸着部材との間の空間を減圧して該被吸着部材を吸引保持する
ことを特徴とする、搬送方法。
発明の詳細な説明
【技術分野】
【0001】
本発明は、搬送機構および搬送方法に関する。
続きを表示(約 1,700 文字)
【背景技術】
【0002】
半導体ウェーハ等の被加工物を加工する加工装置では、装置内における被加工物の搬送を容易にするために、外周部がリングフレームに貼り付けられたテープに被加工物を貼りつけることでフレームユニットを形成し、このフレームユニットの形態でリングフレーム搬送機構がリングフレームを吸引保持して搬送を行っている(特許文献1参照)。
【先行技術文献】
【特許文献】
【0003】
特開2019-057618号公報
【発明の概要】
【発明が解決しようとする課題】
【0004】
こうした搬送機構では、通常、バキュームポンプやエジェクタを吸引源としてリングフレームを保持しているが、エアの消費量が多いという課題があった。
【0005】
本発明は、かかる問題点に鑑みてなされたものであり、その目的は、エアの消費量を低減することができる搬送機構および搬送方法を提供することである。
【課題を解決するための手段】
【0006】
上述した課題を解決し、目的を達成するために、本発明の搬送機構は、被吸着部材を吸着パッドで吸引保持して搬送する搬送機構であって、該被吸着部材を吸引保持する吸着パッドと、該吸着パッドを介して該被吸着部材に負圧を発生させる真空発生ユニットと、該吸着パッドにより吸引保持された該被吸着部材を所定の方向に移動させる移動ユニットと、を備え、該真空発生ユニットは、筐体と、該筐体の内部を、該吸着パッドと連通する第一空間と、第二空間と、に区画する区画部材と、該区画部材を移動させる駆動ユニットと、を有し、該吸着パッドを該被吸着部材に当接させた状態で、該第一空間の体積が大きくなるように該駆動ユニットが該区画部材を移動させることにより、該吸着パッドと該被吸着部材との間の空間を減圧して該被吸着部材を吸引保持することを特徴とする。
【0007】
本発明の搬送機構は、該吸着パッドと該真空発生ユニットとを接続する連通路上に配設された逆止弁と、該連通路上における該真空発生ユニットと該逆止弁との間に形成された分岐部と、該分岐部から分岐した分岐連通路上に配設され、開閉可能に構成された排気ユニットと、を更に備え、該吸着パッドで該被吸着部材を吸引保持した状態で、該排気ユニットを開状態にするとともに該区画部材を移動させて該真空発生ユニットの該第一空間を圧縮する圧縮動作と、該圧縮動作を実施した後に、該排気ユニットを閉状態にするとともに該区画部材を移動させて該真空発生ユニットの該第一空間を膨張させる膨張動作と、を実施することが好ましい。
【0008】
本発明の搬送機構には、該吸着パッドと該逆止弁との間に、該吸着パッドによる該被吸着部材の吸引保持力を測定する測定器を更に備え、該測定器による測定値が所定の範囲外の値となった場合、該区画部材を移動させて該圧縮動作および該膨張動作を実施してもよい。
【0009】
本発明の搬送機構において、該真空発生ユニットは、ロータリーシリンダを含んでもよい。
【0010】
また、本発明の搬送方法は、被吸着部材を吸引保持する吸着パッドと、該吸着パッドを介して該被吸着部材に負圧を発生させる真空発生ユニットと、該吸着パッドにより吸引保持された該被吸着部材を所定の方向に移動させる移動ユニットと、を備え、該真空発生ユニットは、筐体と、該筐体の内部を、該吸着パッドと連通する第一空間と、第二空間と、に区画する区画部材と、該区画部材を移動させる駆動ユニットと、を有する、搬送機構において、該被吸着部材を吸着パッドで吸引保持して搬送する搬送方法であって、該吸着パッドを該被吸着部材に当接させた状態で、該第一空間の体積が大きくなるように該駆動ユニットが該区画部材を移動させることにより、該吸着パッドと該被吸着部材との間の空間を減圧して該被吸着部材を吸引保持することを特徴とする。
【発明の効果】
(【0011】以降は省略されています)
この特許をJ-PlatPat(特許庁公式サイト)で参照する
関連特許
株式会社ディスコ
ノズル
18日前
株式会社ディスコ
切削装置
18日前
株式会社ディスコ
加工方法
今日
株式会社ディスコ
フレーム
18日前
株式会社ディスコ
研削装置
4日前
株式会社ディスコ
切削装置
11日前
株式会社ディスコ
加工装置
27日前
株式会社ディスコ
研磨装置
5日前
株式会社ディスコ
加工方法
19日前
株式会社ディスコ
加工装置
18日前
株式会社ディスコ
加工装置
20日前
株式会社ディスコ
診断方法
8日前
株式会社ディスコ
搬送システム
4日前
株式会社ディスコ
シート貼着装置
19日前
株式会社ディスコ
加工水供給装置
11日前
株式会社ディスコ
ノズルユニット
8日前
株式会社ディスコ
液体供給システム
18日前
株式会社ディスコ
切削ブレード治具
8日前
株式会社ディスコ
チャックテーブル
28日前
株式会社ディスコ
ブレーキング装置
4日前
株式会社ディスコ
接合強度検査方法
28日前
株式会社ディスコ
ウェーハの製造方法
26日前
株式会社ディスコ
洗浄液供給システム
28日前
株式会社ディスコ
被加工物の加工方法
18日前
株式会社ディスコ
被加工物の加工方法
26日前
株式会社ディスコ
ウエーハの加工方法
29日前
株式会社ディスコ
洗浄装置及び洗浄方法
5日前
株式会社ディスコ
切削方法及び切削装置
26日前
株式会社ディスコ
押圧試験装置の評価方法
18日前
株式会社ディスコ
積層ウェーハの加工方法
8日前
株式会社ディスコ
搬送機構および搬送方法
5日前
株式会社ディスコ
廃液処理装置及び洗浄方法
20日前
株式会社ディスコ
保持プレート及び洗浄装置
20日前
株式会社ディスコ
貼り合わせ基板の加工方法
18日前
株式会社ディスコ
異常予知方法及び加工装置
29日前
株式会社ディスコ
切削ブレードのドレス方法
26日前
続きを見る
他の特許を見る