TOP
|
特許
|
意匠
|
商標
特許ウォッチ
Twitter
他の特許を見る
公開番号
2025134401
公報種別
公開特許公報(A)
公開日
2025-09-17
出願番号
2024032284
出願日
2024-03-04
発明の名称
加工装置
出願人
株式会社ディスコ
代理人
弁理士法人酒井国際特許事務所
主分類
B24B
55/06 20060101AFI20250909BHJP(研削;研磨)
要約
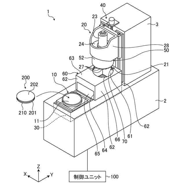
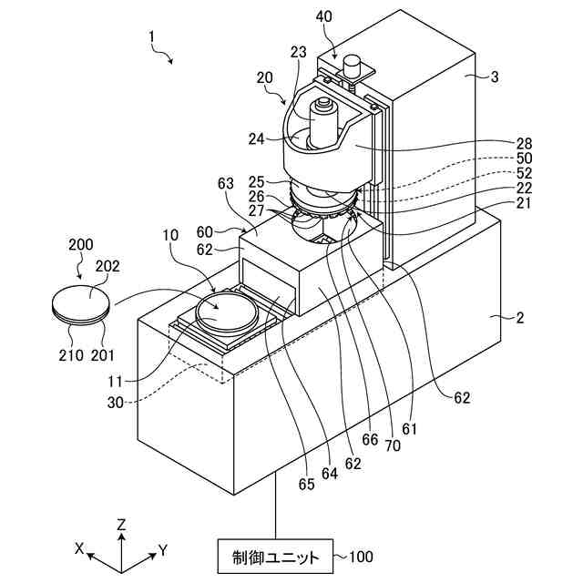
【課題】スピンドルハウジングを覆う保護カバーに付着する研削屑を低減することができる加工装置を提供すること。
【解決手段】加工装置1は、保持テーブル10と、スピンドル22とスピンドルハウジング24と保護カバー50とスピンドル22の下端部に固定されたマウント部25とを有し、保持テーブル10で保持された被加工物200を研削ホイール21で研削加工する研削ユニット20と、研削ユニット20を上下方向に移動させる研削送りユニットと、ホイール出入り口66を有する天板63を含み、保持テーブル10及びマウント部25及び研削ホイール21が配置される加工室61を覆う加工室カバー60と、加工室カバー60の天板63の下面に配設され、保護カバー50の外周面52に向かって流体を供給する複数の供給口73を有する流体供給ユニット70とを備える。
【選択図】図4
特許請求の範囲
【請求項1】
被加工物を加工する加工装置であって、
該被加工物を保持する保持テーブルと、
上下方向に沿って配置されたスピンドルと、該スピンドルを回転可能に保持するスピンドルハウジングと、該スピンドルハウジングの側面を一方の面側で囲う保護カバーと、該スピンドルハウジングの下方に突出する該スピンドルの下端部に固定された円板状のマウント部と、を有し、該保持テーブルで保持された該被加工物を該マウント部の下面側に装着される加工工具で加工する加工ユニットと、
該加工ユニットを上下方向に移動させる移動ユニットと、
該スピンドルハウジングおよび該保護カバーが挿入される開口部を有する天板を含み、該保持テーブル及び該マウント部及び該加工工具が配置される加工室を覆う加工室カバーと、
該加工室カバーの該天板または該加工室内に配設され、該保護カバーの他方の面に向かって流体を供給する1又は複数の供給口を有する流体供給ユニットと、
を備えることを特徴とする加工装置。
続きを表示(約 160 文字)
【請求項2】
該流体供給ユニットから供給される流体は、エア又は水であることを特徴とする請求項1に記載の加工装置。
【請求項3】
該流体供給ユニットから供給される流体は、該保持テーブルで保持された該被加工物を該加工工具で加工する際は供給しないことを特徴とする請求項1または請求項2に記載の加工装置。
発明の詳細な説明
【技術分野】
【0001】
本発明は、被加工物を加工する加工装置に関する。
続きを表示(約 1,100 文字)
【背景技術】
【0002】
半導体ウェーハ等の被加工物を研削する際には、研削装置が使用される。例えば、被加工物に対してインフィード研削を行う研削装置は、被加工物を吸引保持した状態で回転可能なチャックテーブルを有する。
【0003】
チャックテーブルの上方には、長手方向がZ軸方向に沿って配置されスピンドルハウジングで覆われたスピンドルを有する研削ユニットが配置されている。スピンドルの下端部には、円盤状のマウントが固定されており、マウントの下面側には環状の研削ホイールが装着されている。また、スピンドルハウジングを屑や水などから保護するためにスピンドルハウジングの側面を保護カバーが囲んでいる。
【0004】
被加工物の研削時には、チャックテーブル及び研削ホイールを加工室カバーの内部に配置した状態で研削を行う。そして研削時には、純水等の研削水を加工点に供給しながら研削を行うので、加工室カバーの内壁や保護カバーには、研削屑を含んだ研削水が飛散して付着する。
【0005】
また、一部の研削水は、霧状になり研削屑を含んだ状態で加工室カバー内を漂う。加工室カバーや保護カバーに研削屑を含んだ研削水が付着して比較的大きな水滴が形成されると、重力により落下することがある。
【0006】
チャックテーブルは、加工室カバーの内部空間(即ち、加工室)に配置されるが、加工前や加工後のチャックテーブルで吸引保持された被加工物に上述の水滴が落下して付着するのは好ましくない。
【0007】
そのため、マウント部の上面又は側面に液体を供給して回転するマウント部の遠心力を利用して加工室カバーの内壁に液体を飛散させて洗浄する加工装置が提案されている(例えば、特許文献1参照)。
【先行技術文献】
【特許文献】
【0008】
特開2023-154464号公報
【発明の概要】
【発明が解決しようとする課題】
【0009】
しかしながら、特許文献1等に示された洗浄方法は、加工室カバー内の内壁に対しては液体を飛散させて洗浄することができるが、スピンドルハウジングの側面を覆う保護カバーの外側の側面には液体を供給することができない。
【0010】
保護カバーに研削屑を含んだ研削水が付着したままにすると、研削水が乾燥したときに研削屑がコンタミネーションとなって、例えば加工室カバーの天板の上に落下する。加工装置内のコンタミネーションは、加工装置の設置場所(クリーンルーム)に対する汚染原因となることや、研削ホイールの交換作業で加工室カバーの天板付近で作業をする作業者に対する汚染原因となる。
(【0011】以降は省略されています)
この特許をJ-PlatPat(特許庁公式サイト)で参照する
関連特許
株式会社ディスコ
焼成炉
1か月前
株式会社ディスコ
切削装置
1日前
株式会社ディスコ
加工装置
7日前
株式会社ディスコ
加工装置
23日前
株式会社ディスコ
切削装置
29日前
株式会社ディスコ
加工装置
20日前
株式会社ディスコ
研削装置
1か月前
株式会社ディスコ
加工装置
8日前
株式会社ディスコ
加工装置
28日前
株式会社ディスコ
掃除器具
7日前
株式会社ディスコ
掃除器具
7日前
株式会社ディスコ
処理装置
1か月前
株式会社ディスコ
処理方法
7日前
株式会社ディスコ
搬送システム
7日前
株式会社ディスコ
搬送システム
7日前
株式会社ディスコ
搬送システム
1か月前
株式会社ディスコ
搬送システム
7日前
株式会社ディスコ
シート固着装置
22日前
株式会社ディスコ
レーザー加工装置
22日前
株式会社ディスコ
加工室の洗浄方法
1か月前
株式会社ディスコ
配線引き抜き治具
1か月前
株式会社ディスコ
抗折強度測定装置
1か月前
株式会社ディスコ
スピンドルユニット
20日前
株式会社ディスコ
被加工物の加工方法
28日前
株式会社ディスコ
キャリア板の除去方法
22日前
株式会社ディスコ
シリアル接続システム
20日前
株式会社ディスコ
処理装置及び検知方法
29日前
株式会社ディスコ
洗浄装置及び洗浄方法
15日前
株式会社ディスコ
加工方法、及び研磨装置
22日前
株式会社ディスコ
研削装置および研削方法
29日前
株式会社ディスコ
走査光学系及び光学処理装置
28日前
株式会社ディスコ
フィルターハウジングホルダー
20日前
株式会社ディスコ
貼り合わせウェーハの加工方法
1か月前
株式会社ディスコ
ウェーハの加工方法及び切削装置
28日前
株式会社ディスコ
ウェーハの研削方法及び研削装置
1か月前
株式会社ディスコ
ウェーハの加工方法及び加工装置
28日前
続きを見る
他の特許を見る