TOP
|
特許
|
意匠
|
商標
特許ウォッチ
Twitter
他の特許を見る
公開番号
2025171553
公報種別
公開特許公報(A)
公開日
2025-11-20
出願番号
2024077028
出願日
2024-05-10
発明の名称
搬送システム
出願人
株式会社ディスコ
代理人
弁理士法人愛宕綜合特許事務所
主分類
B65G
1/00 20060101AFI20251113BHJP(運搬;包装;貯蔵;薄板状または線条材料の取扱い)
要約
【課題】自動搬送装置の電装部品の過熱を防止できる搬送システムを提供する。
【解決手段】搬送システム2においては、複数の加工装置4b、4c、4dを含む処理装置4の天板6に自動搬送装置8が走行する走行パネル10が配設されている。自動搬送装置8は、電装部品を搭載するフレーム16と、フレーム16に搭載された電装部品を覆うカバー18とを備える。フレーム16は、1枚の金属板によって形成され、搭載される電装部品が発する熱を奪うヒートシンクとして機能する。
【選択図】図4
特許請求の範囲
【請求項1】
複数の加工装置を含む処理装置の天板に自動搬送装置が走行する走行パネルが配設された搬送システムにおいて、
該自動搬送装置は、電装部品を搭載するフレームと、該フレームに搭載された該電装部品を覆うカバーとを備え、
該フレームは1枚の金属板によって形成され、搭載される該電装部品が発する熱を奪うヒートシンクとして機能する搬送システム。
続きを表示(約 210 文字)
【請求項2】
該走行パネルには該自動搬送装置の走行を誘導する走行誘導ラインが形成されており、
該電装部品は、該走行誘導ラインを挟むように配設されタイヤを駆動するタイヤ駆動源と、バッテリと、搬送すべき物品を昇降する昇降モータと、該昇降モータを制御するドライバと、を含む請求項1記載の搬送システム。
【請求項3】
該カバーは開口部を備え該電装部品の冷却を促進させる請求項1記載の搬送システム。
発明の詳細な説明
【技術分野】
【0001】
本発明は、複数の加工装置を含む処理装置の天板に自動搬送装置が走行する走行パネルが配設された搬送システムに関する。
続きを表示(約 1,400 文字)
【背景技術】
【0002】
IC、LSIなどの複数のデバイスが分割予定ラインによって区画され表面に形成されたウエーハは、研削装置によって裏面が研削され所望の厚みに形成された後、切削装置、レーザー加工装置によって個々のデバイスチップに分割され、分割された各デバイスチップは携帯電話、パソコンなどの電気機器に利用される。
【0003】
また、本出願人は研削装置、切削装置、レーザー加工装置等の加工装置と複数のウエーハを収容したウエーハ保管装置等を含む処理装置の天板を利用して走行路を配設し、処理装置間を自動搬送装置が走行してウエーハ保管装置から各加工装置にウエーハを搬送したり消耗品を搬送したりする搬送システムを開発した(たとえば特許文献1参照)。
【先行技術文献】
【特許文献】
【0004】
特開2020-013892号公報
【発明の概要】
【発明が解決しようとする課題】
【0005】
しかし、自動搬送装置が走行する際には、走行用モータ、ドライバ、バッテリ等の電装部品が発熱する。そして、時間経過に伴い電装部品が過熱してしまい、自動搬送装置の走行制御が困難になるという問題がある。
【0006】
本発明の課題は、自動搬送装置の電装部品の過熱を防止できる搬送システムを提供することである。
【課題を解決するための手段】
【0007】
本発明によれば、上記課題を解決する以下の搬送システムが提供される。すなわち、
「複数の加工装置を含む処理装置の天板に自動搬送装置が走行する走行パネルが配設された搬送システムにおいて、
該自動搬送装置は、電装部品を搭載するフレームと、該フレームに搭載された該電装部品を覆うカバーとを備え、
該フレームは1枚の金属板によって形成され、搭載される該電装部品が発する熱を奪うヒートシンクとして機能する搬送システム」が提供される。
【0008】
好ましくは、該走行パネルには該自動搬送装置の走行を誘導する走行誘導ラインが形成されており、該電装部品は、該走行誘導ラインを挟むように配設されタイヤを駆動するタイヤ駆動源と、バッテリと、搬送すべき物品を昇降する昇降モータと、該昇降モータを制御するドライバと、を含む。該カバーは開口部を備え該電装部品の冷却を促進させるのが望ましい。
【発明の効果】
【0009】
本発明の搬送システムは、
複数の加工装置を含む処理装置の天板に自動搬送装置が走行する走行パネルが配設された搬送システムにおいて、
該自動搬送装置は、電装部品を搭載するフレームと、該フレームに搭載された該電装部品を覆うカバーとを備え、
該フレームは1枚の金属板によって形成され、搭載される該電装部品が発する熱を奪うヒートシンクとして機能するので、自動搬送装置の電装部品の過熱を防止できる。したがって、自動搬送装置の走行制御が困難になるという問題が解消する。
【図面の簡単な説明】
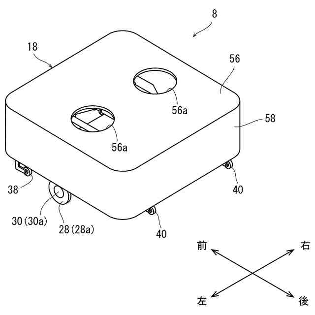
【0010】
本発明に係る搬送システムの模式図。
図1に示す自動搬送装置の斜視図。
図2に示す自動搬送装置のフレームからカバーを外した状態を示す斜視図。
図3に示すフレームから搭載部品を外した状態を示す斜視図。
【発明を実施するための形態】
(【0011】以降は省略されています)
この特許をJ-PlatPat(特許庁公式サイト)で参照する
関連特許
株式会社ディスコ
焼成炉
1か月前
株式会社ディスコ
研磨装置
1か月前
株式会社ディスコ
加工装置
19日前
株式会社ディスコ
研削装置
1か月前
株式会社ディスコ
加工方法
1か月前
株式会社ディスコ
加工装置
1か月前
株式会社ディスコ
加工装置
1か月前
株式会社ディスコ
切削装置
1か月前
株式会社ディスコ
加工装置
1か月前
株式会社ディスコ
加工装置
1か月前
株式会社ディスコ
加工装置
1か月前
株式会社ディスコ
加工方法
1か月前
株式会社ディスコ
加工装置
1か月前
株式会社ディスコ
処理装置
1か月前
株式会社ディスコ
切削装置
25日前
株式会社ディスコ
加工装置
24日前
株式会社ディスコ
研削装置
1か月前
株式会社ディスコ
加工装置
3日前
株式会社ディスコ
処理方法
3日前
株式会社ディスコ
加工装置
16日前
株式会社ディスコ
掃除器具
3日前
株式会社ディスコ
掃除器具
3日前
株式会社ディスコ
加工装置
4日前
株式会社ディスコ
搬送システム
3日前
株式会社ディスコ
搬送システム
1か月前
株式会社ディスコ
搬送システム
1か月前
株式会社ディスコ
搬送システム
1か月前
株式会社ディスコ
搬送システム
3日前
株式会社ディスコ
搬送システム
1か月前
株式会社ディスコ
搬送システム
3日前
株式会社ディスコ
シート固着装置
18日前
株式会社ディスコ
レーザー加工装置
18日前
株式会社ディスコ
保護部材形成装置
1か月前
株式会社ディスコ
ブレーキング装置
1か月前
株式会社ディスコ
液状樹脂供給装置
1か月前
株式会社ディスコ
保護部材形成装置
1か月前
続きを見る
他の特許を見る