TOP
|
特許
|
意匠
|
商標
特許ウォッチ
Twitter
他の特許を見る
公開番号
2025171631
公報種別
公開特許公報(A)
公開日
2025-11-20
出願番号
2024077154
出願日
2024-05-10
発明の名称
搬送システム
出願人
株式会社ディスコ
代理人
個人
,
個人
,
個人
,
個人
,
個人
,
個人
主分類
B65G
1/00 20060101AFI20251113BHJP(運搬;包装;貯蔵;薄板状または線条材料の取扱い)
要約
【課題】加工搬送システムにおいて複数の加工装置のうち1つの加工装置を移動させる場合や、当該1つの加工装置の天板を開いてメンテナンスを施す場合に、搬送路の分解及びつなげ直しの作業を省略すると共に、被加工物を加工する効率が低下することを防止する。
【解決手段】複数の加工装置のそれぞれに対して被加工物を搬送する搬送システムであって、各加工装置の筐体における天板に対して固定された柱状の支持体と、支持体によって支持され、複数の加工装置に亘って複数の加工装置の上方に設けられ、搬送車が走行するための搬送路と、を備え、支持体は、搬送路に対して固定される上部体と、天板に対して固定される下部体と、に分離可能である搬送システムを提供する。
【選択図】図1
特許請求の範囲
【請求項1】
複数の加工装置のそれぞれに対して被加工物を搬送する搬送システムであって、
各加工装置の筐体における天板に対して固定された柱状の支持体と、
該支持体によって支持され、該複数の加工装置に亘って該複数の加工装置の上方に設けられ、搬送車が走行するための搬送路と、
を備え、
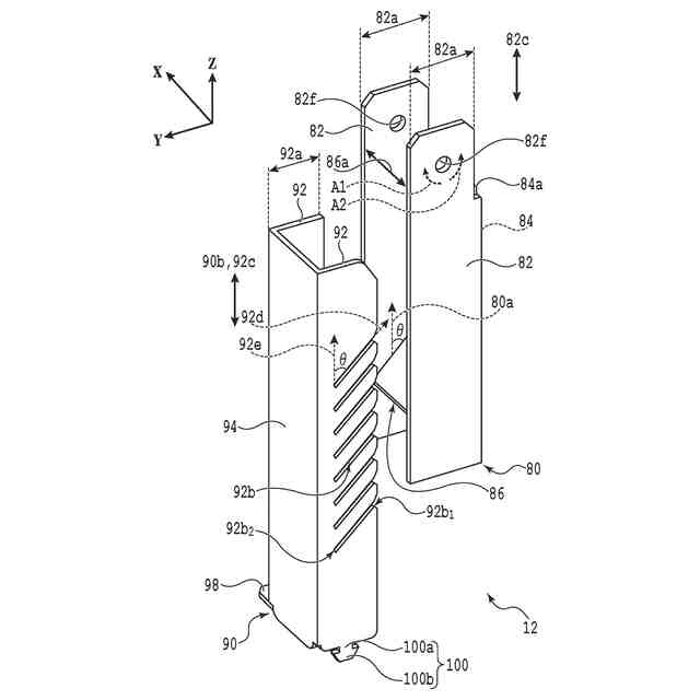
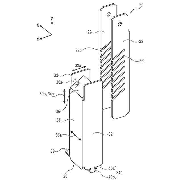
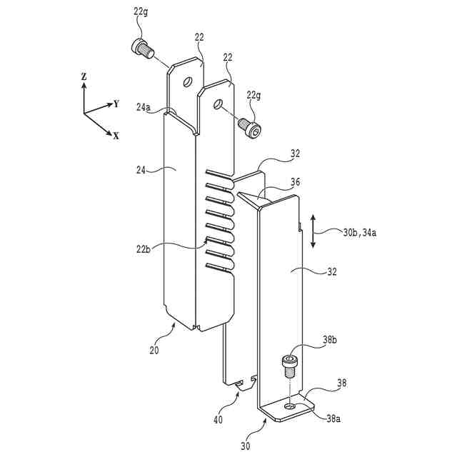
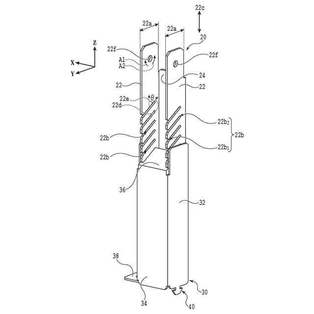
該支持体は、該搬送路に対して固定される上部体と、該天板に対して固定される下部体と、に分離可能であることを特徴とする搬送システム。
続きを表示(約 1,300 文字)
【請求項2】
該支持体は、該天板と該搬送路との間の距離を調整する調整機構を含むことを特徴とする請求項1に記載の搬送システム。
【請求項3】
該上部体及び該下部体の一方は、複数の凹部を有する第1柱体であり、
該上部体及び該下部体の他方は、該複数の凹部のいずれかに挿入される凸部を有する第2柱体であり、
該第1柱体の該複数の凹部は、該第1柱体の長手方向に沿って離散的に設けられていることを特徴とする請求項2に記載の搬送システム。
【請求項4】
該第1柱体における各凹部はスリットであり、該第2柱体における該凸部は該スリットに挿入される板部であることを特徴とする請求項3に記載の搬送システム。
【請求項5】
該第1柱体における該複数の凹部は、該第1柱体を構成する一対の側板にそれぞれ設けられており、
該第2柱体は、該凸部が一つの凹部に挿入された場合に該凸部の幅方向における該凸部のスライド移動を制限するために、該凸部を該幅方向で挟む様に設けられた一対の側板を有することを特徴とする請求項4に記載の搬送システム。
【請求項6】
該搬送路の下面に固定された第1レールと、
該天板の上面に固定された第2レールと
を更に備え、
該第1レールと、該第2レールとは、該搬送路の平面視において交差する様に配置されていることを特徴とする請求項1から5のいずれかに記載の搬送システム。
【請求項7】
該上部体が該第1柱体であり、該下部体が該第2柱体であり、
該第1柱体の該複数の凹部の各々は、該凸にとっての入口となる始端部から該凸の進入を停止可能な終端部へ進む第1方向が該第1柱体の下端部から上端部に向かう上方向に対して鋭角を成す様に、斜めに傾いていることを特徴とする請求項3に記載の搬送システム。
【請求項8】
該第1柱体の上端部は、該搬送路の下面に固定された第1レールにスライド可能に固定され、且つ、該搬送路の平面視において該第1レールの長手方向と直交する幅方向に沿って配置された回転軸の周りに回転可能に固定されており、
該第2柱体の下端部は、該天板の上面に固定された第2レールにスライド可能に固定されていることを特徴とする請求項7に記載の搬送システム。
【請求項9】
該第2柱体の該下端部は、該第2柱体の長手方向に沿って該第2柱体が該第2レールの溝から抜けることを防止する抜け防止機構を有し、
該抜け防止機構は、該第2レールの該溝の開口幅よりも小さい幅を有する小幅部と、該溝の開口よりも下方に配置され該開口幅よりも大きい幅を有する大幅部と、を有することを特徴とする請求項8に記載の搬送システム。
【請求項10】
該上部体が該第2柱体であり、該下部体が該第1柱体であり、
該第1柱体の該複数の凹部の各々は、該凸の進入を停止可能な終端部から該凸にとっての入口となる始端部へ進む第2方向が該第1柱体の下端部から上端部に向かう上方向に対して鋭角を成す様に、斜めに傾いていることを特徴とする請求項3に記載の搬送システム。
(【請求項11】以降は省略されています)
発明の詳細な説明
【技術分野】
【0001】
本発明は、複数の加工装置のそれぞれに対して半導体ウェーハ等の被加工物を搬送する搬送システムに関する。
続きを表示(約 1,200 文字)
【背景技術】
【0002】
携帯電話、PC(Personal Computer)等の電子機器には、デバイスチップが搭載されている。デバイスチップは、半導体ウェーハ等の板状の被加工物を加工装置で加工することで製造される。
【0003】
製造工程で使用される加工装置に対して被加工物を搬送するためには、通常、複数の被加工物が収容されたカセットが使用される。加工装置は、カセットを受け取ると、カセット内の複数の被加工物に対して加工を施す。
【0004】
ところで、効率良く被加工物を加工するために、複数の加工装置を同時並行で稼働させることがある。この場合、各加工装置に対して適時に被加工物を搬送する必要がある。各加工装置へ被加工物を適時に搬送するために、無人搬送車を利用する搬送システムが提案されている(例えば、特許文献1及び2参照)。
【0005】
この搬送システムは、近接して配置された複数の加工装置の上方を通過する搬送路を有する。そして、被加工物を収容した無人搬送車を搬送路上において走行させることにより、無人搬送車を介して各加工装置へ被加工物が適時に搬送される。
【0006】
搬送路は、例えば、無人搬送車が走行できる程度の幅を有する複数のパネルを平面的につなげることで構成される。そして、つなげられた複数のパネルは、通常、近接して配置された各加工装置の頂面により支持される。
【0007】
それゆえ、これら複数の加工装置のうち1つの加工装置を移動させる場合や、当該1つの加工装置の天板を開いてメンテナンスを施す場合には、その都度、複数のパネルを個々に分解し、移動、メンテナンス等の終了後に、分解されたパネルを再度つなげ直す作業が発生していた。
【0008】
複数のパネルの分解及びつなげ直しの作業は、非常に手間であると共に、この作業を行う間は、無人搬送車が搬送路上を走行できないので、他の加工装置の稼働も停止する必要がある。それゆえ、複数の加工装置及び搬送システムを備える加工搬送システムにおいて、被加工物を加工する効率が低下するという問題も生じる。
【先行技術文献】
【特許文献】
【0009】
特開2020-83636号公報
特開2021-82744号公報
【発明の概要】
【発明が解決しようとする課題】
【0010】
本発明は係る問題点に鑑みてなされたものであり、加工搬送システムにおいて複数の加工装置のうち少なくとも1つの加工装置を移動させる場合や、少なくとも1つの加工装置の天板を開いてメンテナンスを施す場合に、搬送路の分解及びつなげ直しの作業を省略すると共に、被加工物を加工する効率が低下することを防止することを目的とする。
【課題を解決するための手段】
(【0011】以降は省略されています)
この特許をJ-PlatPat(特許庁公式サイト)で参照する
関連特許
株式会社ディスコ
焼成炉
1か月前
株式会社ディスコ
加工装置
1か月前
株式会社ディスコ
加工装置
1か月前
株式会社ディスコ
切削装置
25日前
株式会社ディスコ
研削装置
1か月前
株式会社ディスコ
処理装置
1か月前
株式会社ディスコ
加工装置
16日前
株式会社ディスコ
加工装置
1か月前
株式会社ディスコ
加工方法
1か月前
株式会社ディスコ
加工装置
19日前
株式会社ディスコ
加工装置
24日前
株式会社ディスコ
加工装置
1か月前
株式会社ディスコ
加工装置
1か月前
株式会社ディスコ
切削装置
1か月前
株式会社ディスコ
加工装置
4日前
株式会社ディスコ
加工装置
3日前
株式会社ディスコ
掃除器具
3日前
株式会社ディスコ
掃除器具
3日前
株式会社ディスコ
加工装置
1か月前
株式会社ディスコ
処理方法
3日前
株式会社ディスコ
搬送システム
1か月前
株式会社ディスコ
搬送システム
1か月前
株式会社ディスコ
搬送システム
3日前
株式会社ディスコ
搬送システム
1か月前
株式会社ディスコ
搬送システム
3日前
株式会社ディスコ
搬送システム
3日前
株式会社ディスコ
シート固着装置
18日前
株式会社ディスコ
加工室の洗浄方法
27日前
株式会社ディスコ
配線引き抜き治具
1か月前
株式会社ディスコ
保護部材形成装置
1か月前
株式会社ディスコ
液状樹脂供給装置
1か月前
株式会社ディスコ
保護部材形成装置
1か月前
株式会社ディスコ
レーザー加工装置
18日前
株式会社ディスコ
抗折強度測定装置
1か月前
株式会社ディスコ
被加工物の処理装置
1か月前
株式会社ディスコ
ウエーハの加工装置
1か月前
続きを見る
他の特許を見る